Скачать ГОСТ 26422-85 Фиксаторы и ограничитель открывания для окон из алюминиевых сплавов. Типы и основные размеры

Дата актуализации: 01.01.2021

ГОСТ 26422-85

Фиксаторы и ограничитель открывания для окон из алюминиевых сплавов. Типы и основные размеры

Обозначение: ГОСТ 26422-85
Обозначение англ: GOST 26422-85
Статус:отменен
Название рус.:Фиксаторы и ограничитель открывания для окон из алюминиевых сплавов. Типы и основные размеры
Название англ.:Stay and opening limiter for windows of aluminium alloys. Types and principal dimensions
Дата добавления в базу:01.10.2014
Дата актуализации:01.01.2021
Дата введения:01.07.1986
Дата окончания срока действия:01.01.1992
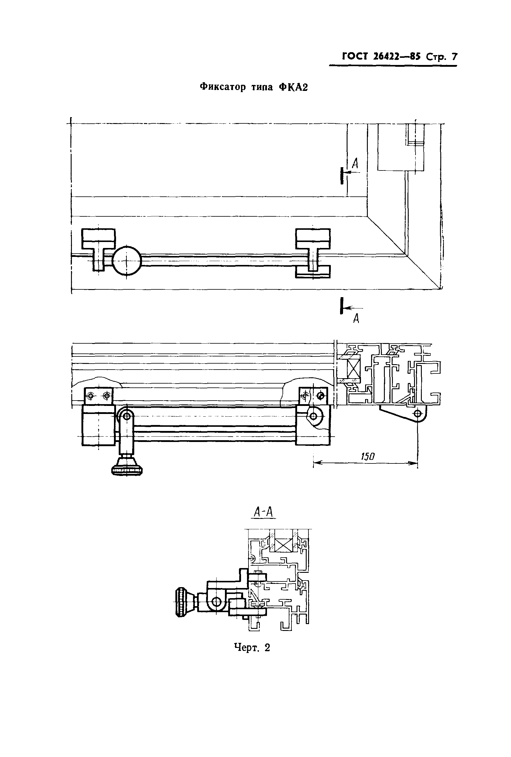
Область применения:Стандарт распространяется на фиксаторы и ограничитель открывания, предназначенные для установки на окнах с распашными и нижнеподвесными створными элементами из алюминиевых сплавов, изготовляемых по ГОСТ 25062-81.
Оглавление:Приложение (справочное) Примеры установки фиксаторов и ограничителя открывания
Разработан: Министерство промышленности строительных материалов СССР
Министерство монтажных и специальных строительных работ СССР
Утверждён:29.12.1985 Государственный комитет СССР по делам строительства (233)
Издан: Издательство стандартов (1985 г. )
Нормативные ссылки:
ГОСТ 26422-85ГОСТ 26422-85ГОСТ 26422-85ГОСТ 26422-85ГОСТ 26422-85ГОСТ 26422-85ГОСТ 26422-85ГОСТ 26422-85ГОСТ 26422-85ГОСТ 26422-85ГОСТ 26422-85