Скачать ГОСТ 9322-67 Лифты грузовые с монорельсом. Основные параметры и размеры

Дата актуализации: 01.01.2021

ГОСТ 9322-67

Лифты грузовые с монорельсом. Основные параметры и размеры

Обозначение: ГОСТ 9322-67
Обозначение англ: GOST 9322-67
Статус:заменен
Название рус.:Лифты грузовые с монорельсом. Основные параметры и размеры
Название англ.:Goods lifts with monor il. Main parameters and dimensions
Дата добавления в базу:12.02.2016
Дата актуализации:01.01.2021
Дата введения:01.01.1969
Дата окончания срока действия:01.01.1986
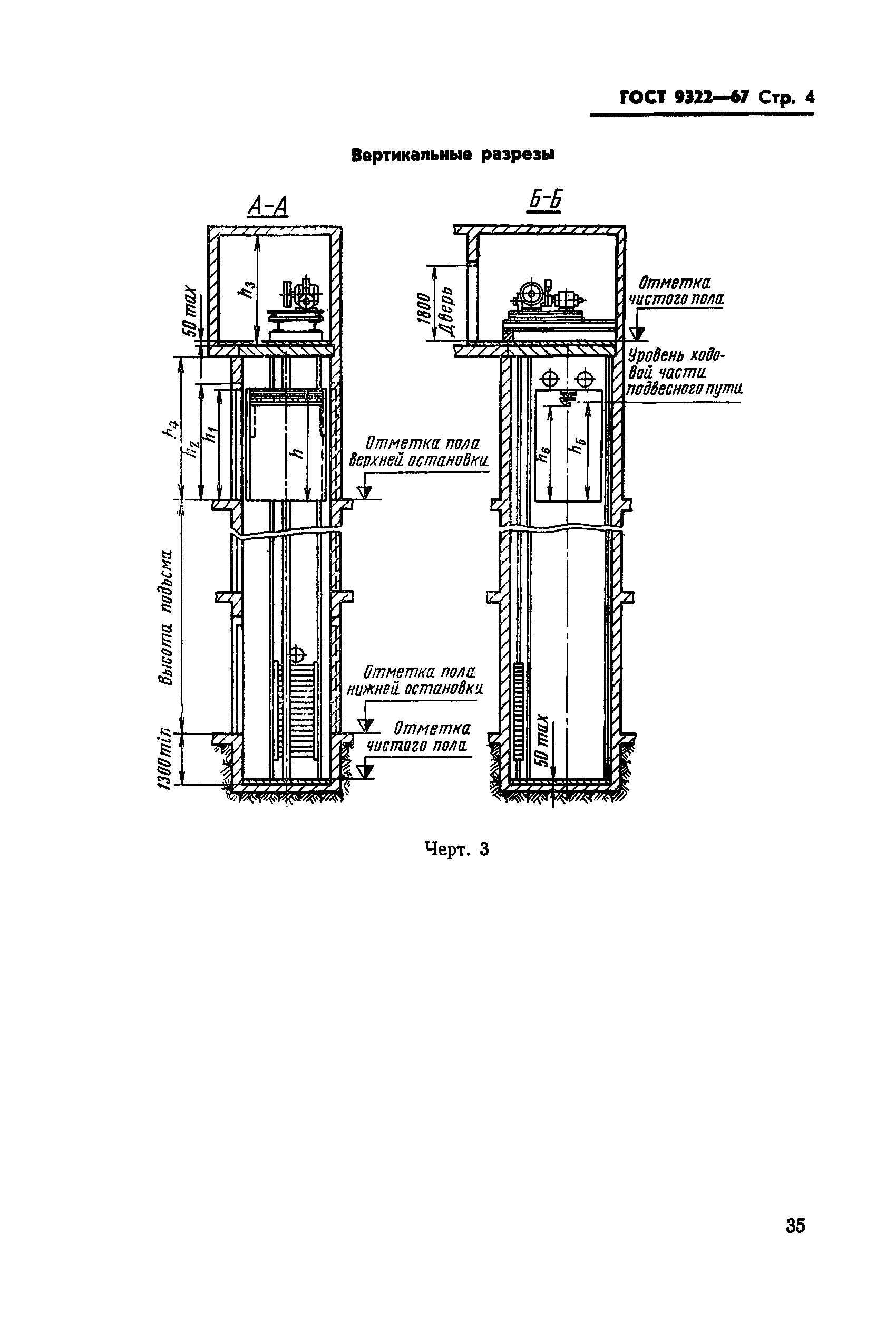
Область применения:Стандарт распространяется на электрические грузовые лифты со встроенным в кабине монорельсом грузоподъемностью 1000, 2000 и 3200 кгс, устанавливаемые в производственных и складских зданиях и предназначаемые для подъема и спуска грузов как в подвешенном к монорельсу состоянии, так и располагаемых на полу кабину. Стандарт не распространяется на грузовые лифты с монорельсом, предназначаемые для работы: а) при температуре в машинном помещении ниже плюс 5 °С и в шахте ниже минус 20 °С; б) во взрывоопасной и пожароопасной средах, а также в среде, насыщенной агрессивными парами и газами.
Оглавление:1. Основные параметры
2. Основные размеры
Утверждён:22.12.1967 Государственный комитет Совета Министров СССР по делам строительства
Издан: Издательство стандартов (1975 г. )
Заменяет собой:
  • ГОСТ 9322-60 «Лифты грузовые со встроенным монорельсом. Основные параметры и размеры» (Сведения из перечня "Указатель государственных стандартов СССР 1970 г.", Издательство комитета стандартов 1970)
Нормативные ссылки:
ГОСТ 9322-67ГОСТ 9322-67ГОСТ 9322-67ГОСТ 9322-67ГОСТ 9322-67ГОСТ 9322-67ГОСТ 9322-67ГОСТ 9322-67ГОСТ 9322-67