Скачать ГОСТ 13917-68 Стекло оптическое. Группы химической устойчивости. Методы определения химической устойчивостиДата актуализации: 01.01.2021
|
| Обозначение: | ГОСТ 13917-68 |
| Обозначение англ: | GOST 13917-68 |
| Статус: | заменен |
| Название рус.: | Стекло оптическое. Группы химической устойчивости. Методы определения химической устойчивости |
| Название англ.: | Optical glass. Groups of chemical stability. Methods for determination of chemical stability |
| Дата добавления в базу: | 01.01.2019 |
| Дата актуализации: | 01.01.2021 |
| Дата введения: | 01.01.1970 |
| Дата окончания срока действия: | 01.01.1984 |
| Область применения: | Стандарт распространяется на неорганическое (силикатное и несиликатное) бесцветное, цветное и кварцевое оптическое стекло и устанавливает группы химической устойчивости стекла и методы определения групп химической устойчивости к воздействию влажной атмосферы, т. е. сопротивляемости стекла действию водяных паров, без их конденсации, и пятнающих агентов (воды, слабокислых водных растворов). |
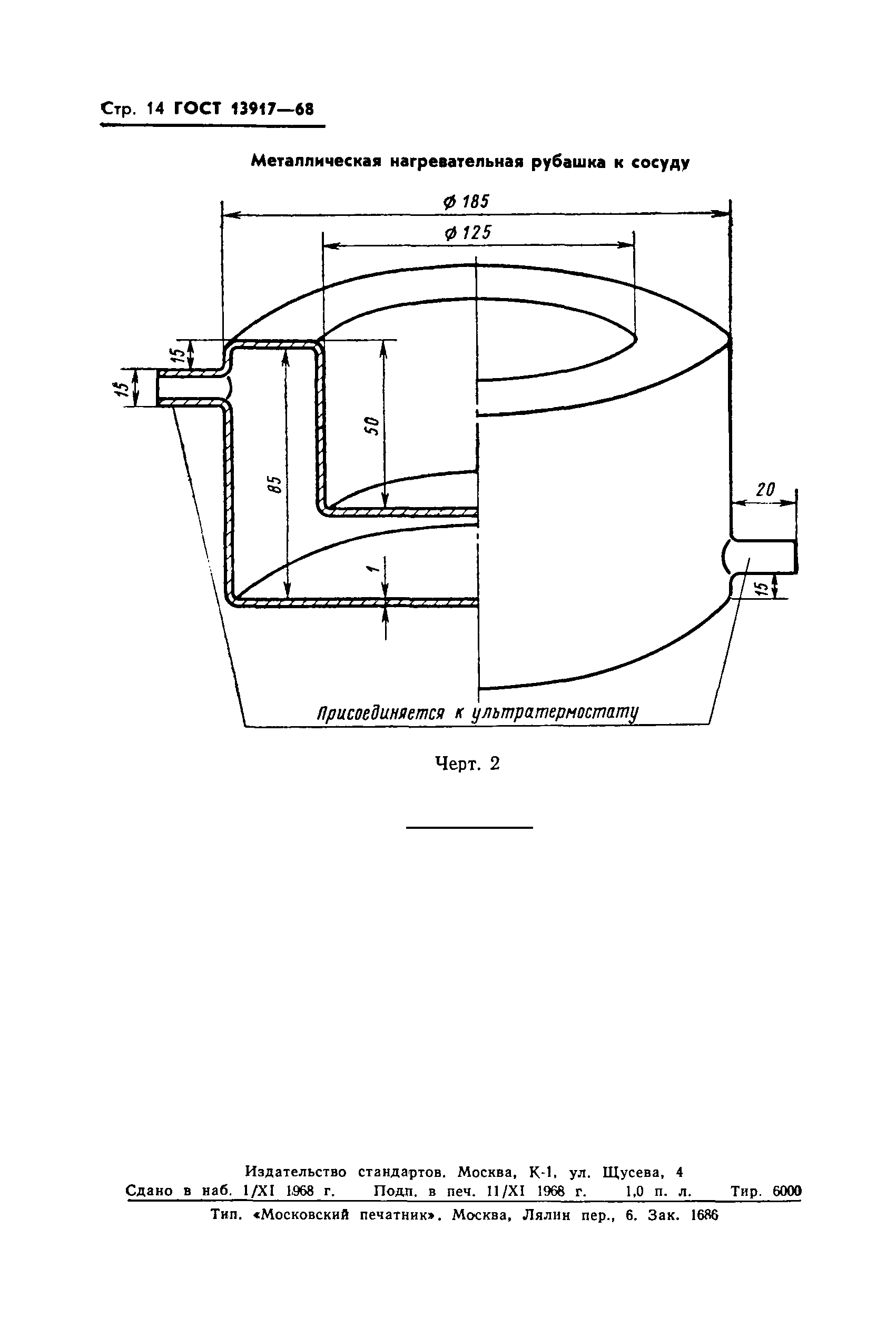
| Оглавление: | 1. Группы химической устойчивости оптического стекла 2. Определение химической устойчивости стекол к воздействию влажной атмосферы 3. Определение химической устойчивости стекол к воздействию пятнающих агентов Приложение 1 Рекомендуемые размеры сосуда и принадлежностей к нему, предназначенных для определения устойчивости стекол к действию влажной атмосферы Приложение 2 Рекомендуемые размеры сосуда и металлической нагревательной рубашки к нему, предназначенных для определения устойчивости стекол к действию пятнающих агентов |
| Утверждён: | 15.08.1968 Госстандарт СССР (USSR Gosstandart ) |
| Издан: | Издательство стандартов (1968 г. ) |
| Нормативные ссылки: |














