Скачать ГОСТ 15844-70 Тара стеклянная для молока и молочных продуктовДата актуализации: 01.01.2021
|
| Обозначение: | ГОСТ 15844-70 |
| Обозначение англ: | GOST 15844-70 |
| Статус: | заменен |
| Название рус.: | Тара стеклянная для молока и молочных продуктов |
| Название англ.: | Glass vessels for milk and milk products |
| Дата добавления в базу: | 01.01.2019 |
| Дата актуализации: | 01.01.2021 |
| Дата введения: | 01.01.1971 |
| Дата окончания срока действия: | 01.01.1982 |
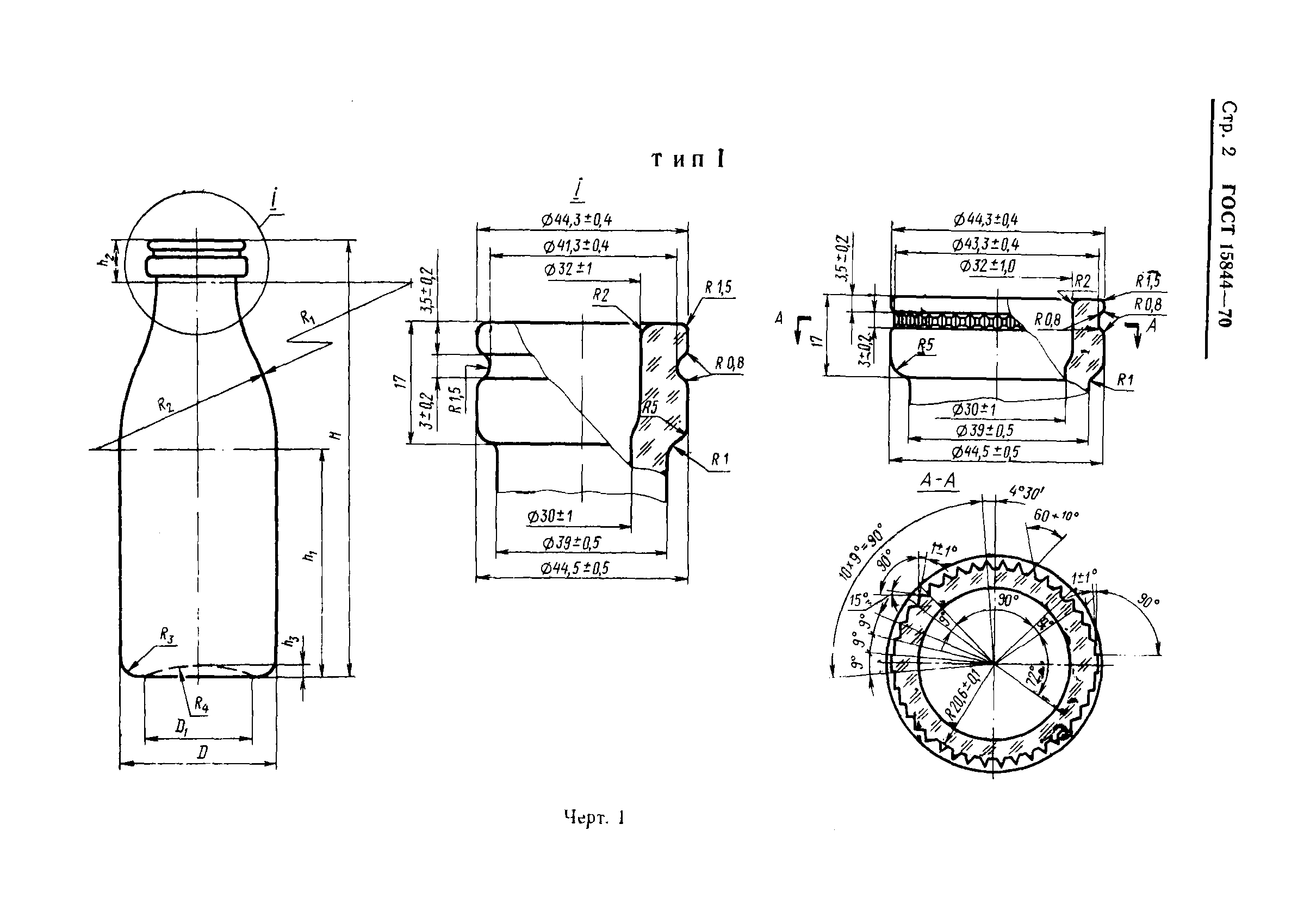
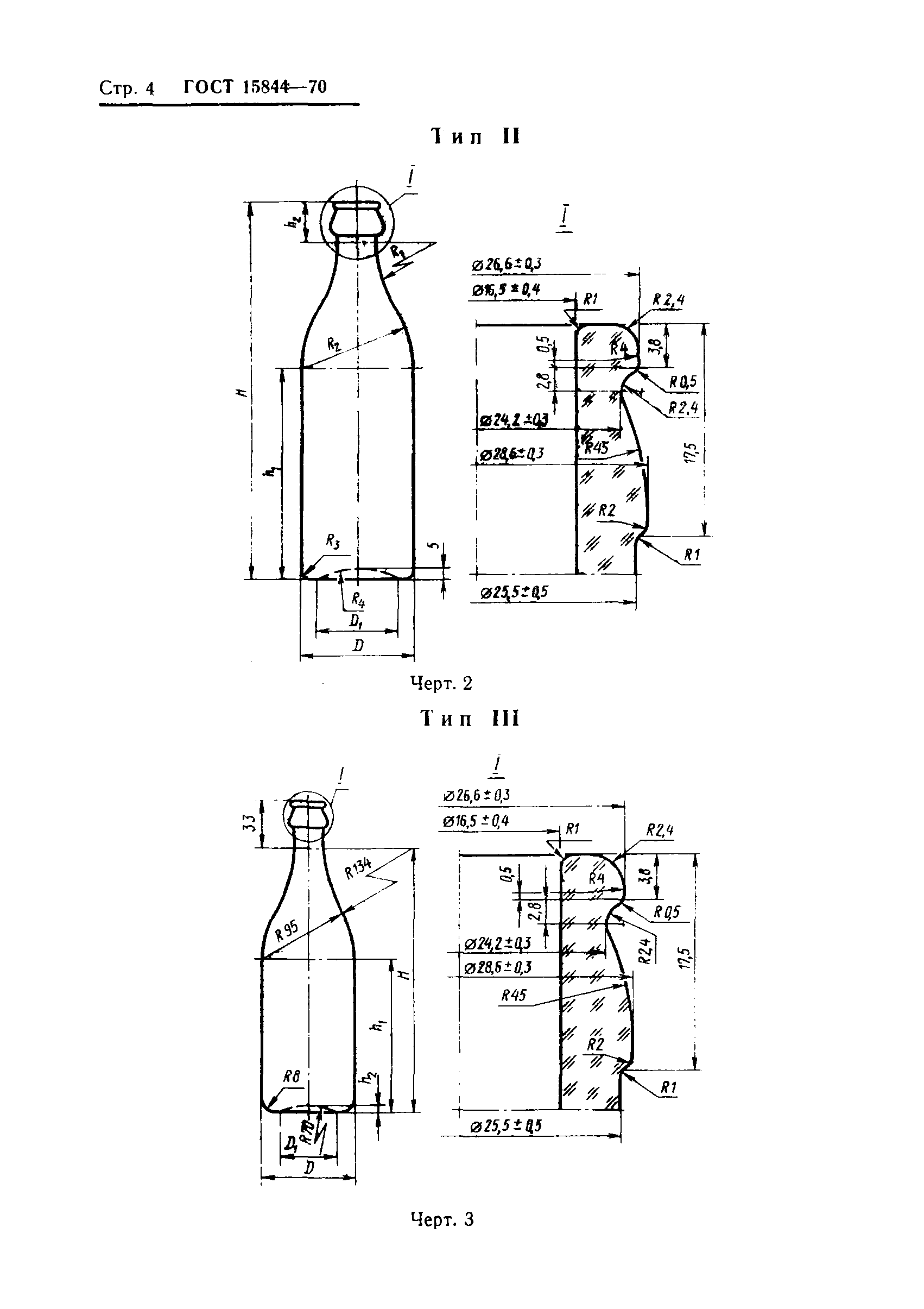
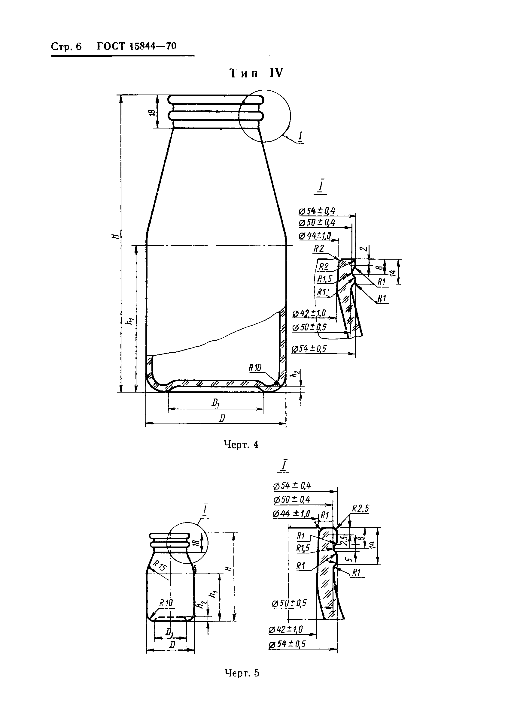
| Область применения: | Стандарт распространяется на стеклянные бутылки и банки, вырабатываемые на полуавтоматических и автоматических машинах под укупорку кроненкорковой пробкой и алюминиевым колпачком, предназначенные под розлив, хранение и транспортирование молока и молочных продуктов. |
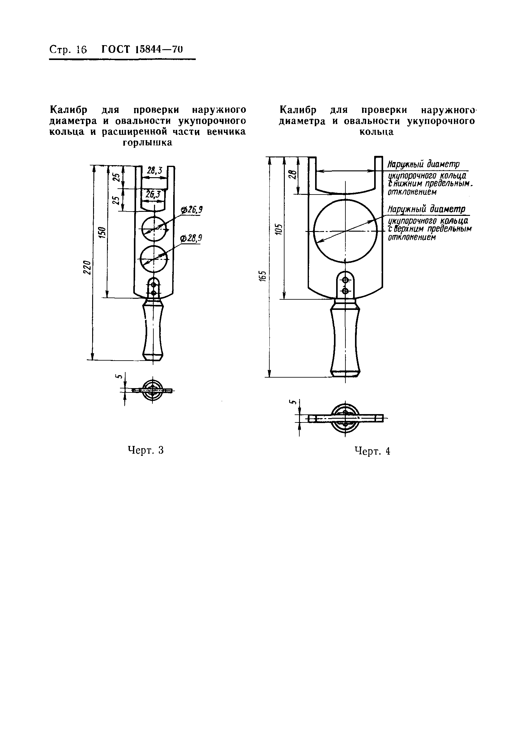
| Оглавление: | 1. Типы и размеры 2. Технические требования 3. Методы испытаний 4. Маркировка, упаковка, транспортирование и хранение Приложение |
| Разработан: | Гусевский филиал Государственного института стекла |
| Утверждён: | 22.12.1969 Комитет стандартов, мер и измерительных приборов при Совете Министров СССР (Committee on Standards, Measures, and Measuring Instruments at the USSR Cabinet of Ministers 235) 07.04.1970 Комитет стандартов, мер и измерительных приборов при Совете Министров СССР (Committee on Standards, Measures, and Measuring Instruments at the USSR Cabinet of Ministers 464) |
| Издан: | Издательство стандартов (1970 г. ) Издательство стандартов (1972 г. ) |
| Нормативные ссылки: |




















