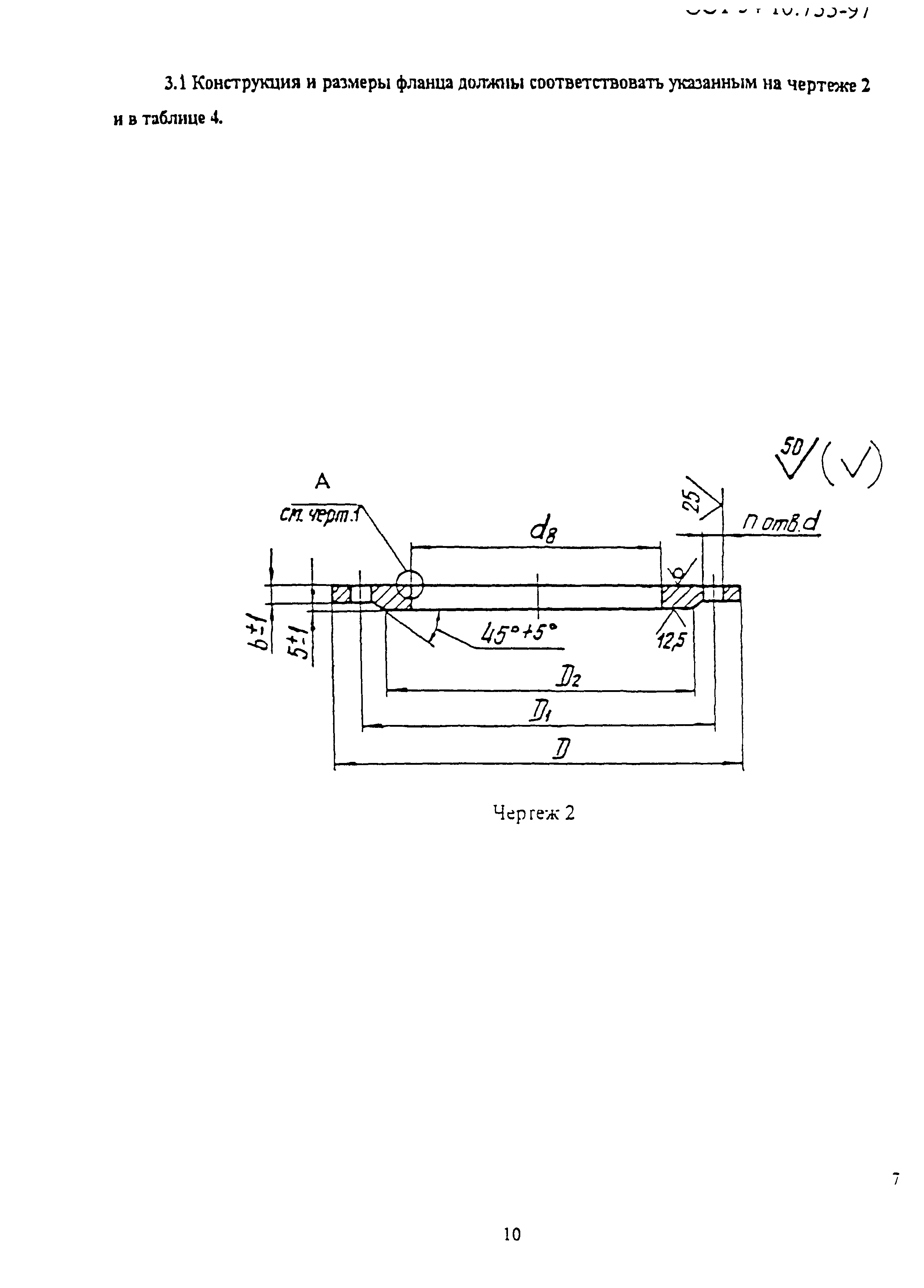
Скачать ОСТ 34-10-755-97 Детали и сборочные единицы трубопроводов ТЭС на Рраб<2,2 МПа (22 кгс/см2), t<=425 °C. Фланцы плоские приварные с патрубками на Ру<=2,5 Мпа (25 кгс/см2) Dу от 600 до 1600 мм. Конструкция и размерыДата актуализации: 01.01.2021 ОСТ 34-10-755-97
Детали и сборочные единицы трубопроводов ТЭС на Рраб<2,2 МПа (22 кгс/см2), t<=425 °C. Фланцы плоские приварные с патрубками на Ру<=2,5 Мпа (25 кгс/см2) Dу от 600 до 1600 мм. Конструкция и размеры| Обозначение: | ОСТ 34-10-755-97 | | Обозначение англ: | OST 34-10-755-97 | | Статус: | не определен законодательством | | Название рус.: | Детали и сборочные единицы трубопроводов ТЭС на Рраб<2,2 МПа (22 кгс/см2), t<=425 °C. Фланцы плоские приварные с патрубками на Ру<=2,5 Мпа (25 кгс/см2) Dу от 600 до 1600 мм. Конструкция и размеры | | Дата добавления в базу: | 01.09.2013 | | Дата актуализации: | 01.01.2021 | | Дата введения: | 01.03.1998 | | Дата окончания срока действия: | 30.06.2003 | | Область применения: | Стандарт распространяется на плоские приварные фланцы с патрубками из углеродистой и низколегированной сталей на Ру&amp;amp;lt;=2,5 МПа (25 кгс/см2), при рабочей температуре t&amp;amp;lt;=350°C для трубопроводов тепловых электростанций. | | Оглавление: | 1 Область применения 2 Нормативные ссылки 3 Конструкция и размеры Приложение А Библиография | | Разработан: | АООТ Севзапэнергомонтажпроект
| | Утверждён: | 23.12.1997 Министерство топлива и энергетики РФ (Russian Federation Ministry of Fuel and Energy 443)
| | Заменяет собой: | | | Нормативные ссылки: |   СНиП 3.05.05-84 «Технологическое оборудование и технологические трубопроводы»  ГОСТ 1050-88 «Прокат сортовой, калиброванный, со специальной отделкой поверхности из углеродистой качественной конструкционной стали. Общие технические условия»  ГОСТ 1759.5-87 «Гайки. Механические свойства и методы испытаний»  ГОСТ 1759.4-87 «Болты, винты и шпильки. Механические свойства и методы испытаний»  ГОСТ 20700-75 «Болты, шпильки, гайки и шайбы для фланцевых и анкерных соединений, пробки и хомуты с температурой среды от 0 до 650 град. С. Технические условия»  ГОСТ 15180-86 «Прокладки плоские эластичные. Основные параметры и размеры»  ГОСТ 481-80 «Паронит и прокладки из него. Технические условия»  ГОСТ 1759.0-87 «Болты, винты, шпильки и гайки. Технические условия»  ГОСТ 10702-78 «Прокат из качественной конструкционной углеродистой и легированной стали для холодного выдавливания и высадки. Технические условия» ГОСТ 380-88 «Сталь углеродистая обыкновенного качества. Марки»  ОСТ 34-10-747-97 «Детали и сборочные единицы трубопроводов ТЭС на Рраб<2,2 МПа (22 кгс/см2), t<=425 °C. Трубы и прокат. Сортамент»  ОСТ 34-10-748-97 «Детали и сборочные единицы трубопроводов ТЭС на Рраб<2,2 МПа (22 кгс/см2), t<=425 °C. Соединения сварные стыковые. Типы, конструктивные элементы и размеры»  ОСТ 34-10-766-97 «Детали и сборочные единицы трубопроводов ТЭС на Рраб<2,2 МПа (22 кгс/см2), t<=425 °C. Технические требования»
|
              
|