Скачать ОСТ 34-10-759-97 Детали и сборочные единицы трубопроводов ТЭС на Рраб<2,2 МПа (22 кгс/см2), t<=425 °C. Заглушки плоские приварные с ребрами. Конструкция и размерыДата актуализации: 01.01.2021
|
| Обозначение: | ОСТ 34-10-759-97 |
| Обозначение англ: | OST 34-10-759-97 |
| Статус: | не определен законодательством |
| Название рус.: | Детали и сборочные единицы трубопроводов ТЭС на Рраб<2,2 МПа (22 кгс/см2), t<=425 °C. Заглушки плоские приварные с ребрами. Конструкция и размеры |
| Дата добавления в базу: | 01.09.2013 |
| Дата актуализации: | 01.01.2021 |
| Дата введения: | 01.03.1998 |
| Дата окончания срока действия: | 30.06.2003 |
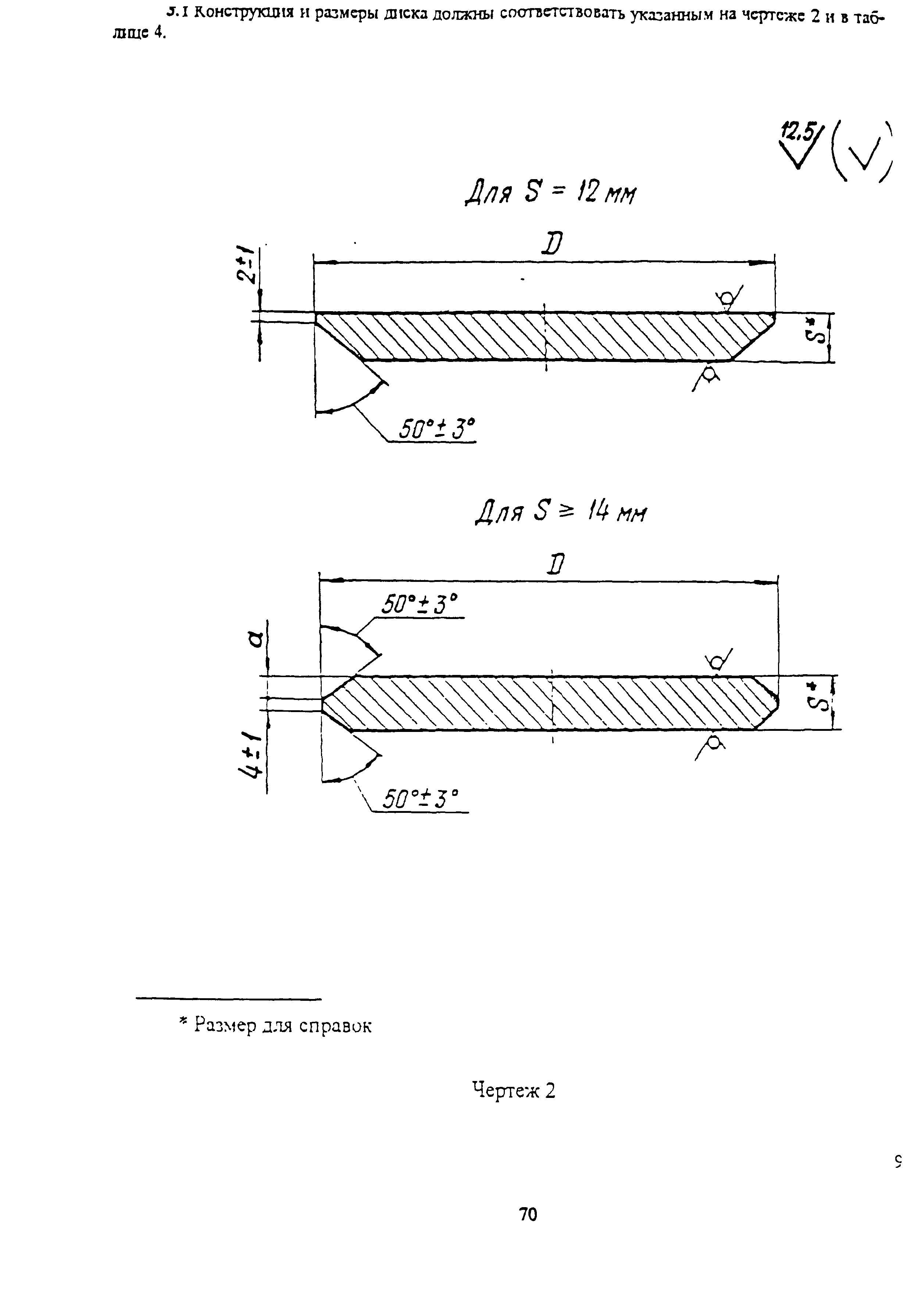
| Область применения: | Стандарт распространяется на плоские заглушки с ребрами из углеродистой и низколегированной сталей для трубопроводов тепловых электростанций. |
| Оглавление: | 1 Область применения 2 Нормативные ссылки 3 Конструкция и размеры Приложение А Библиография |
| Разработан: | АООТ Севзапэнергомонтажпроект |
| Утверждён: | 23.12.1997 Министерство топлива и энергетики РФ (Russian Federation Ministry of Fuel and Energy 443) |
| Заменяет собой: |
|
| Нормативные ссылки: |
|

















