Скачать ОСТ 108.318.15-82 Переходы для трубопроводов ТЭС. Конструкция и размеры

Дата актуализации: 01.01.2021

ОСТ 108.318.15-82

Переходы для трубопроводов ТЭС. Конструкция и размеры

Обозначение: ОСТ 108.318.15-82
Обозначение англ: OST 108.318.15-82
Статус:заменен
Название рус.:Переходы для трубопроводов ТЭС. Конструкция и размеры
Дата добавления в базу:01.09.2013
Дата актуализации:01.01.2021
Дата введения:01.01.1985
Дата окончания срока действия:01.05.2010
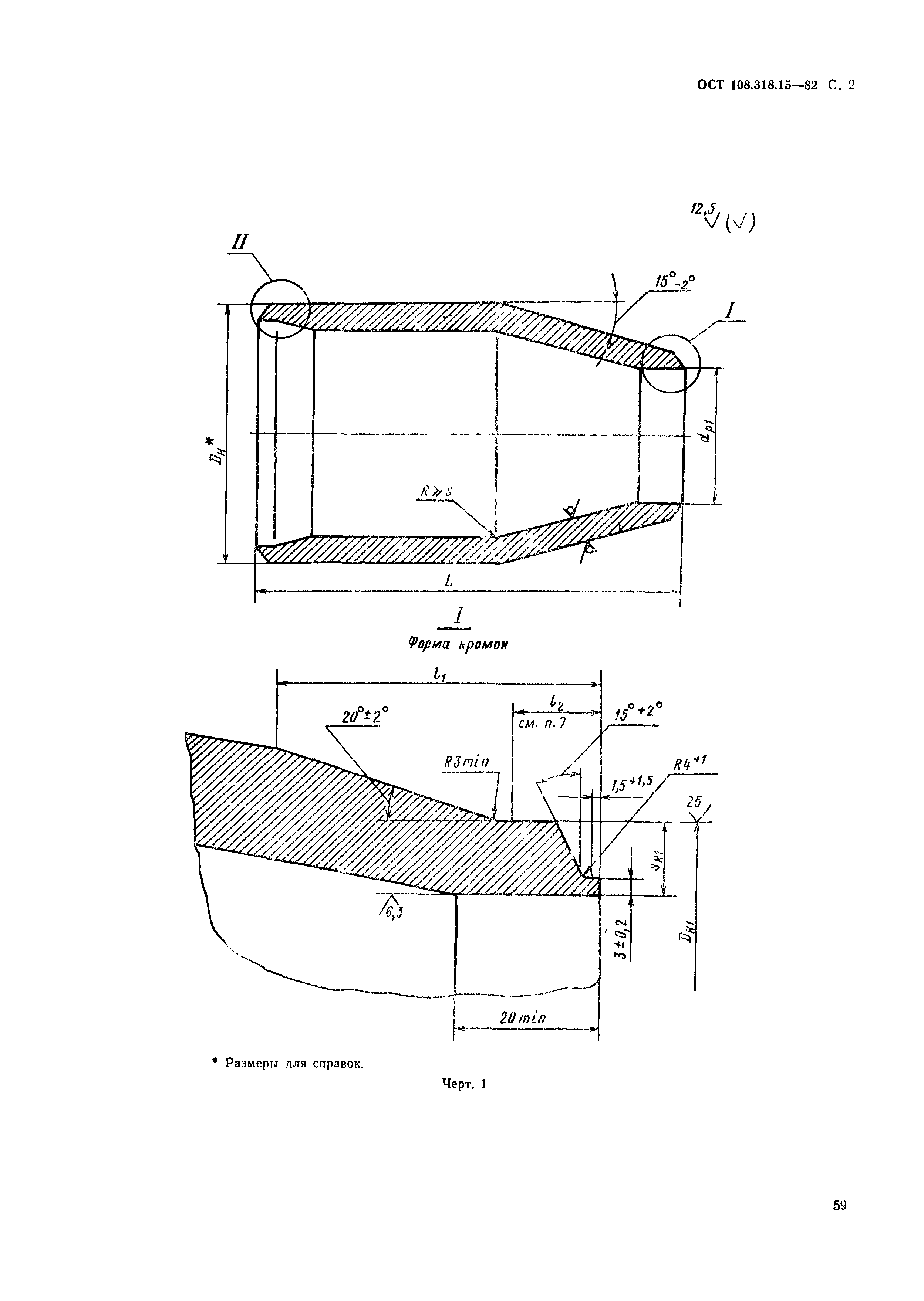
Область применения:Стандарт распространяется на обжатые переходы, изготовляемые из труб стали марки 20 по ТУ 14-3-460, для трубопроводов пара и горячей воды тепловых электростанций. Стандарт устанавливает конструкцию и основные размеры обжатых переходов с абсолютным давлением и температурой среды: p=4,31 МПа (44 кгс/см2), t=340° C; p=3,92 МПа (40 кгс/см2), t=200° C.
Утверждён:04.06.1982 Министерство энергетического машиностроения (Ministry of Energy Machinery Manufacturing ВВ-002/4628)
Принят: Министерство энергетики и электрификации СССР (USSR Ministry of Energy and Electrical Power )
Издан: НПО ЦКТИ (1993 г. )
Список изменений:
Нормативные ссылки:
ОСТ 108.318.15-82ОСТ 108.318.15-82ОСТ 108.318.15-82ОСТ 108.318.15-82ОСТ 108.318.15-82ОСТ 108.318.15-82ОСТ 108.318.15-82ОСТ 108.318.15-82ОСТ 108.318.15-82

Текстовое изменение № от 15.02.1994

№ № № №

Текстовое изменение № 1 от 01.01.1984

№ 1