Скачать ОСТ 108.839.04-82 Блок с диафрагмой для паропроводов ТЭС. Конструкция и размеры

Дата актуализации: 01.01.2021

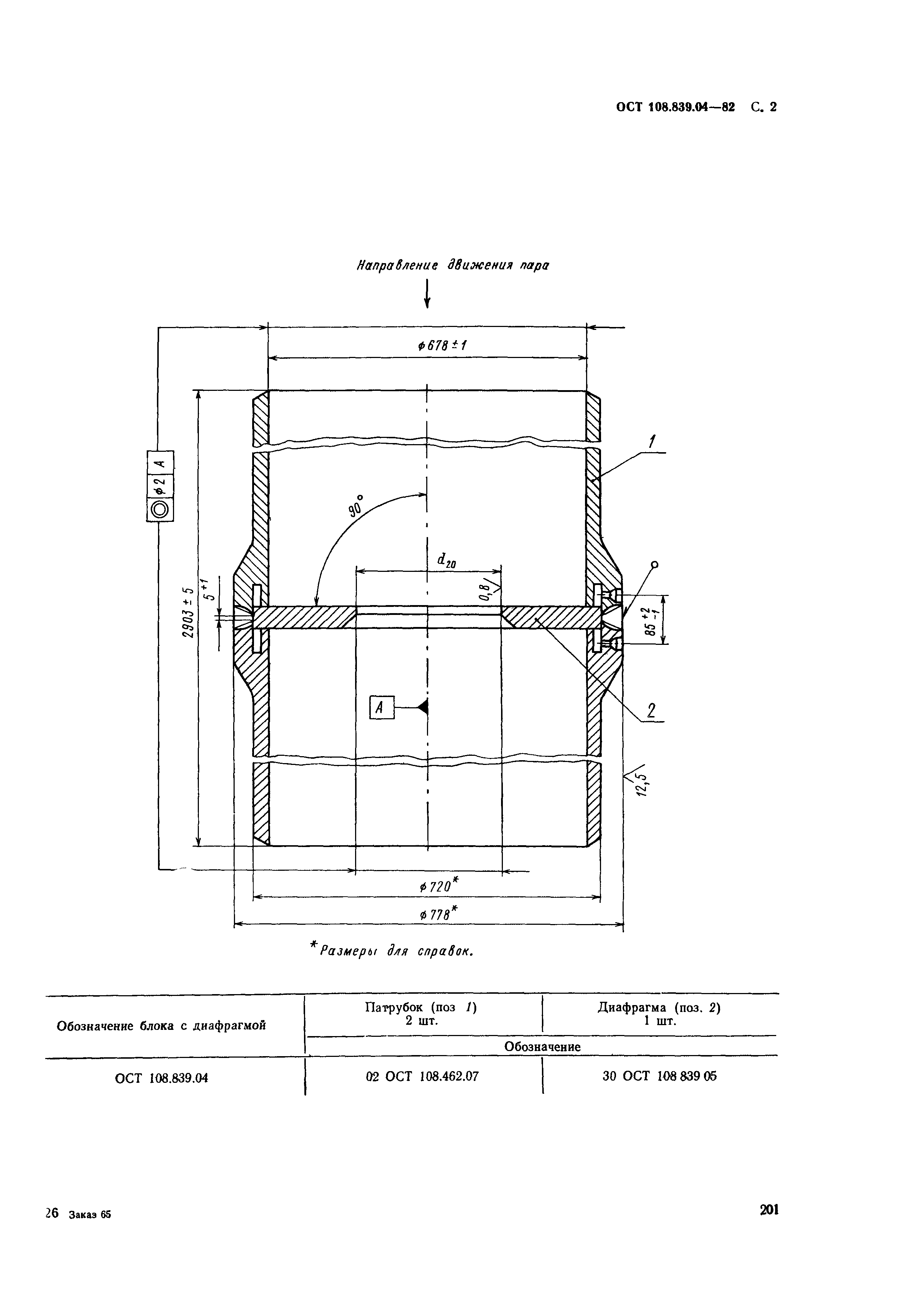
ОСТ 108.839.04-82

Блок с диафрагмой для паропроводов ТЭС. Конструкция и размеры

Обозначение: ОСТ 108.839.04-82
Обозначение англ: OST 108.839.04-82
Статус:заменен
Название рус.:Блок с диафрагмой для паропроводов ТЭС. Конструкция и размеры
Дата добавления в базу:01.09.2013
Дата актуализации:01.01.2021
Дата введения:01.01.1985
Дата окончания срока действия:01.05.2010
Область применения:Стандарт распространяется на блоки с диафрагмой, устанавливаемые на паропроводах тепловых электростанций с абсолютным давлением пара p=4,31 МПа (44 кгс/см2) и температурой t=340° C.
Утверждён:04.06.1982 Министерство энергетического машиностроения (Ministry of Energy Machinery Manufacturing ВВ-002/4628)
Принят: Министерство энергетики и электрификации СССР (USSR Ministry of Energy and Electrical Power )
Издан: НПО ЦКТИ (1993 г. )
Список изменений:
Нормативные ссылки:
ОСТ 108.839.04-82ОСТ 108.839.04-82ОСТ 108.839.04-82ОСТ 108.839.04-82ОСТ 108.839.04-82ОСТ 108.839.04-82ОСТ 108.839.04-82

Текстовое изменение № от 15.02.1994

№ № № №

Текстовое изменение № 1 от 01.01.1984

№ 1