Скачать Положение Положение о порядке организации и проведения подрядных торгов на выполнение дорожных работДата актуализации: 01.01.2021
|
| Обозначение: | Положение |
| Обозначение англ: | Ordinance |
| Статус: | заменен |
| Название рус.: | Положение о порядке организации и проведения подрядных торгов на выполнение дорожных работ |
| Дата добавления в базу: | 01.09.2013 |
| Дата актуализации: | 01.01.2021 |
| Дата введения: | 09.02.1996 |
| Дата окончания срока действия: | 07.04.1998 |
| Область применения: | Положение определяет порядок организации и проведения подрядных торгов на строительство, реконструкцию и ремонт автомобильных дорог, искусственных сооружений и производственных предприятий дорожного строительства. |
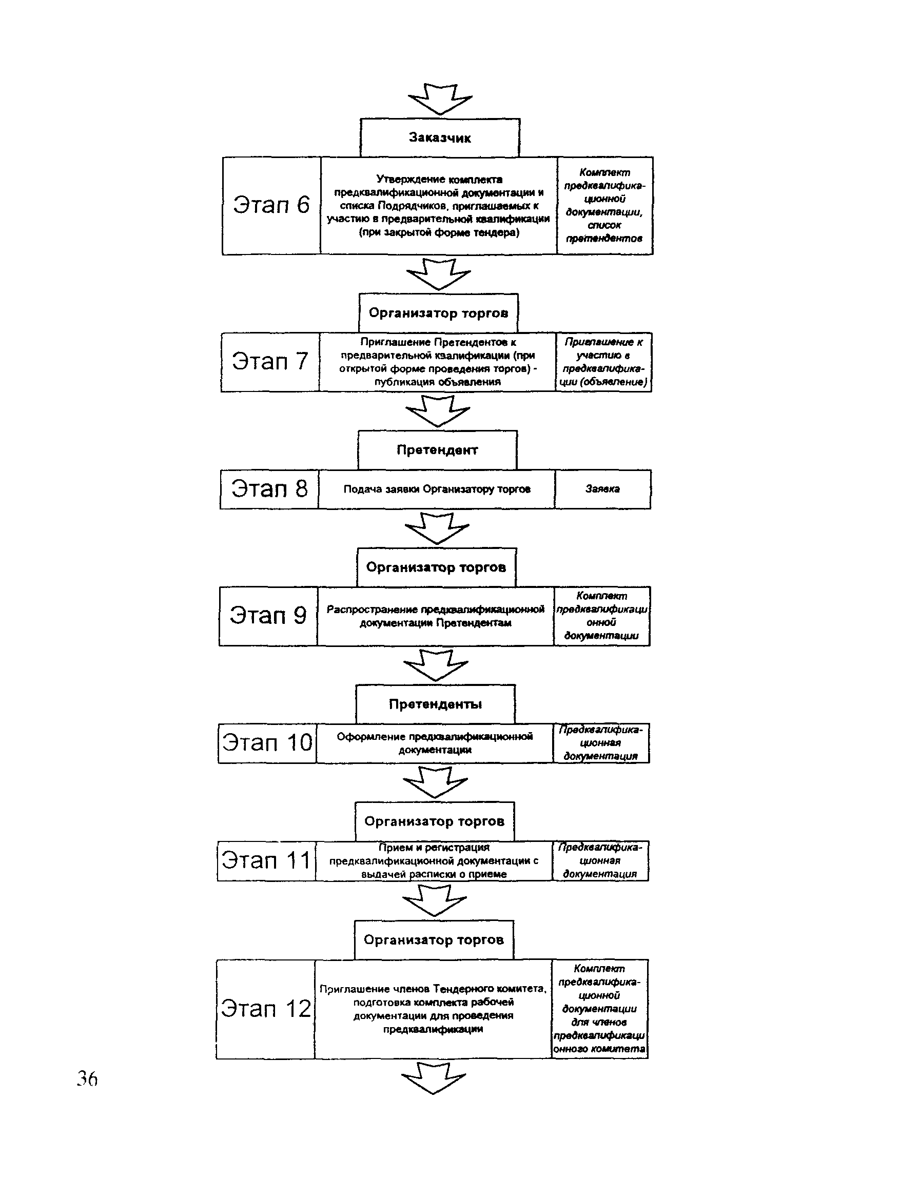
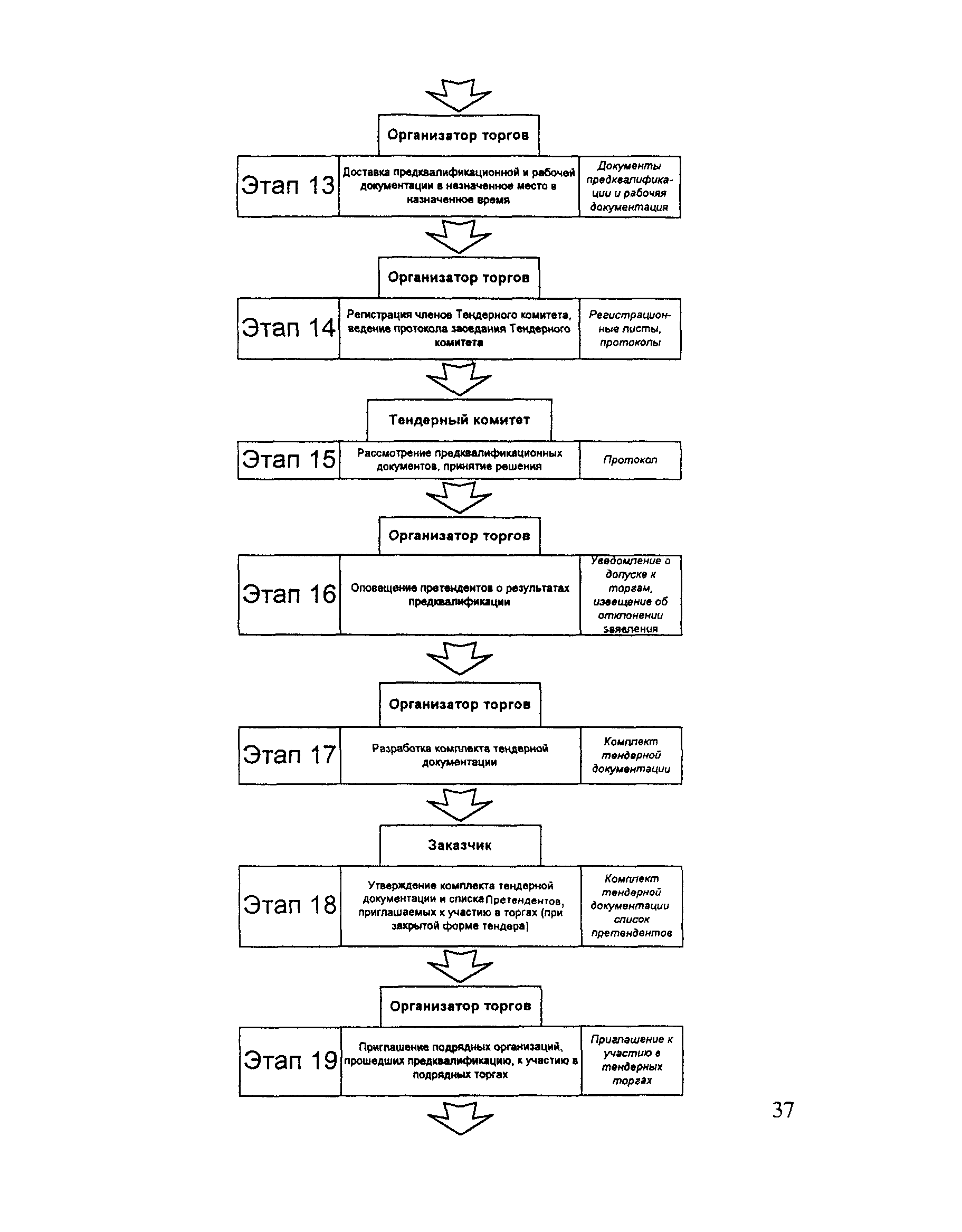
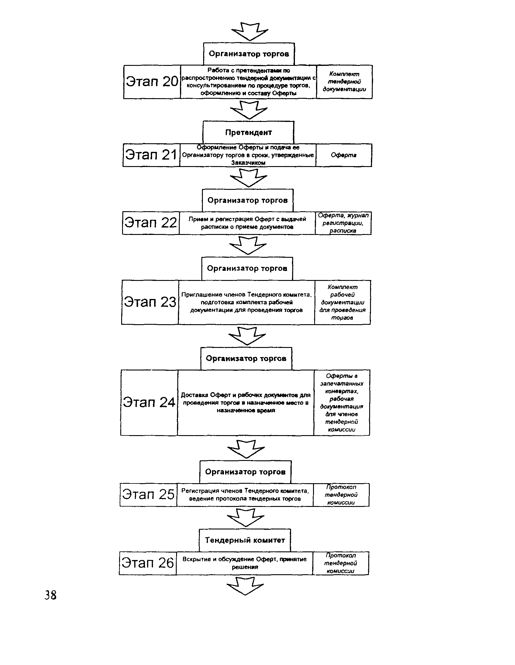
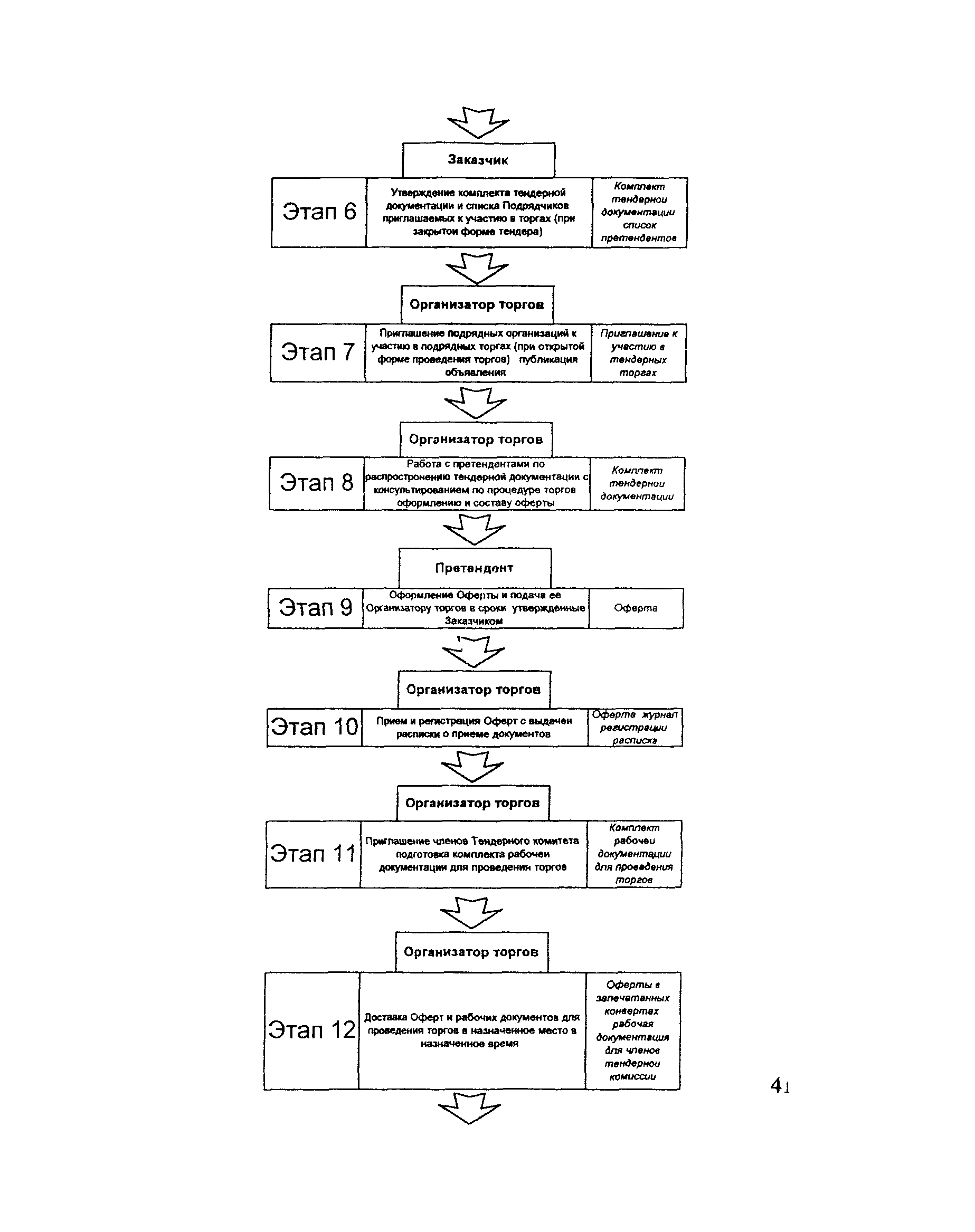
| Оглавление: | 1 Общие положения 2 Участники торгов 3 Объявление торгов 4 Предварительная квалификация 5 Тендерная документация 6 Оферта 7 Процедура торгов 8 Заключение договора 9 Признание недействительности результатов торгов и ответственность сторон Приложение 1 Словарь основных терминов Приложение 2 Рекомендуемый регламент организации и проведения подрядных торгов с предквалификацией Приложение 3 Рекомендации по предварительной квалификации Претендентов Приложение 4 Рекомендации по формам тендерной документации Приложение 5 Гарантийное обязательство Приложение 6 Рекомендации по оценке Оферт Приложение 7 Регистрационный лист. Протокол заседания Тендерного комитета Приложение 8 Уведомление о победе в подрядных торгах Приложение 9 Договор на выполнение дорожных работ |
| Разработан: | АСПОР АОЗТ Инвестконкурс |
| Утверждён: | 09.02.1996 Федеральный дорожный департамент Минтранса РФ (Federal Department of Roads, Russian Federation Mintransport ) |
| Принят: | 08.02.1996 Российская ассоциация АСПОР |
| Издан: | Информавтодор (1996 г. ) |
| Нормативные ссылки: |
|




































































































































