Скачать ОСТ 1 10367-72 Тройники фланцевые герметизируемые несимметричные. Конструкция и размерыДата актуализации: 01.01.2021 ОСТ 1 10367-72
Тройники фланцевые герметизируемые несимметричные. Конструкция и размеры| Обозначение: | ОСТ 1 10367-72 | | Обозначение англ: | 10367-72 | | Статус: | действует | | Название рус.: | Тройники фланцевые герметизируемые несимметричные. Конструкция и размеры | | Дата добавления в базу: | 01.09.2013 | | Дата актуализации: | 01.01.2021 | | Дата введения: | 01.01.1974 | | Область применения: | Стандарт распространяется на фланцевые тройники, предназначенные для соединений трубопроводов по внутреннему конусу. | | Утверждён: | 22.12.1972 Министерство (Ministry 087-16)
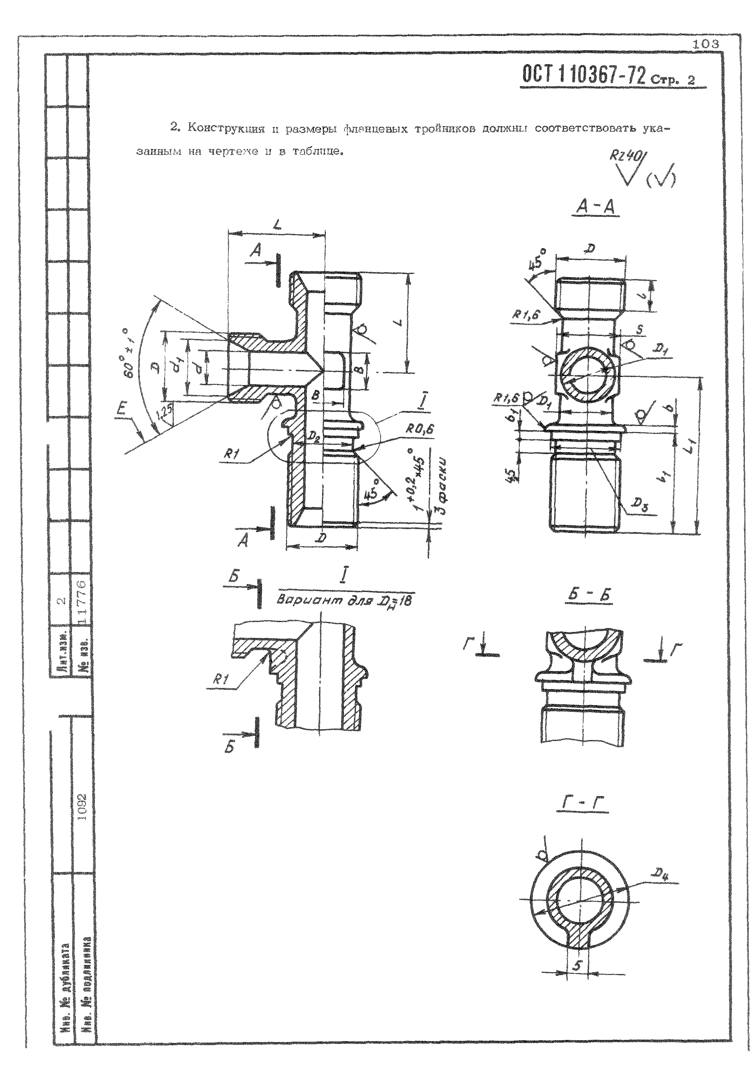
|
  
|