Скачать ОСТ 1 52397-85 Штамповка заготовок безоблойная на многоплунжерных прессах. Оснастка штамповая. Конструкция и размерыДата актуализации: 01.01.2021
|
| Обозначение: | ОСТ 1 52397-85 |
| Обозначение англ: | 52397-85 |
| Статус: | действует |
| Название рус.: | Штамповка заготовок безоблойная на многоплунжерных прессах. Оснастка штамповая. Конструкция и размеры |
| Дата добавления в базу: | 01.09.2013 |
| Дата актуализации: | 01.01.2021 |
| Дата введения: | 01.07.1987 |
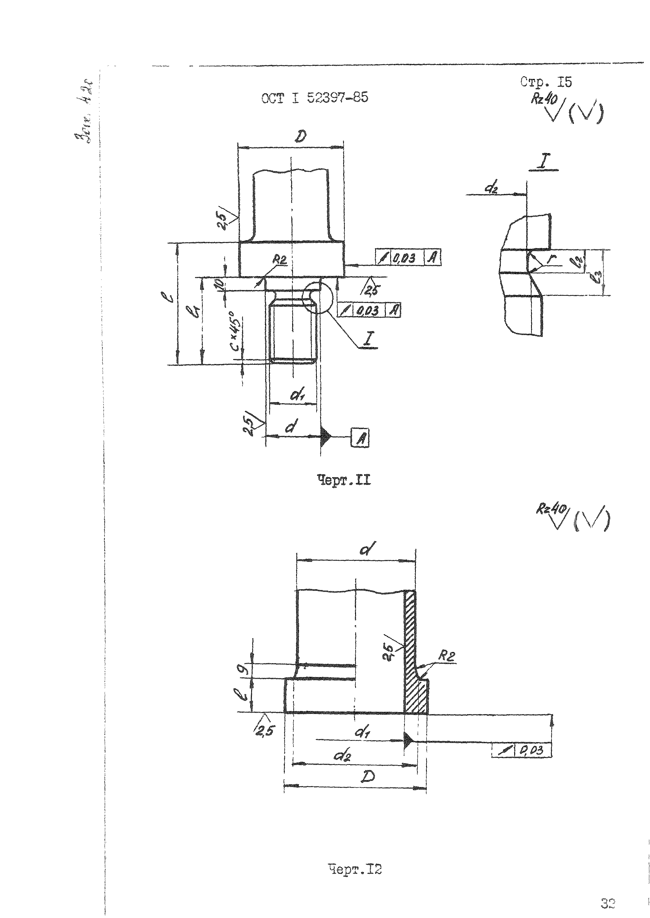
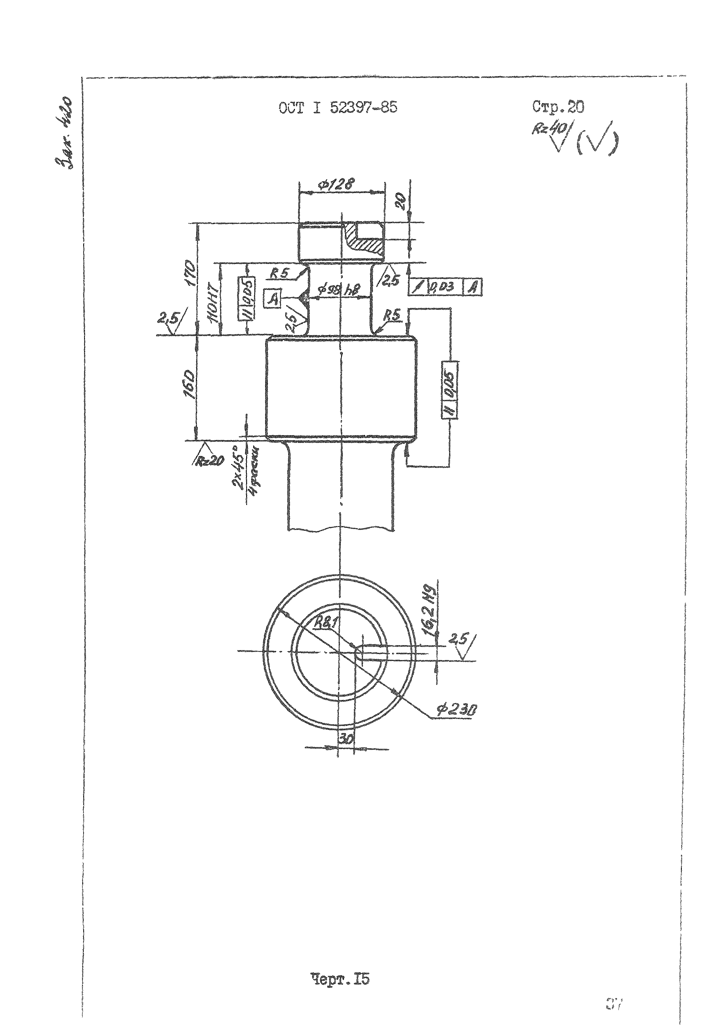
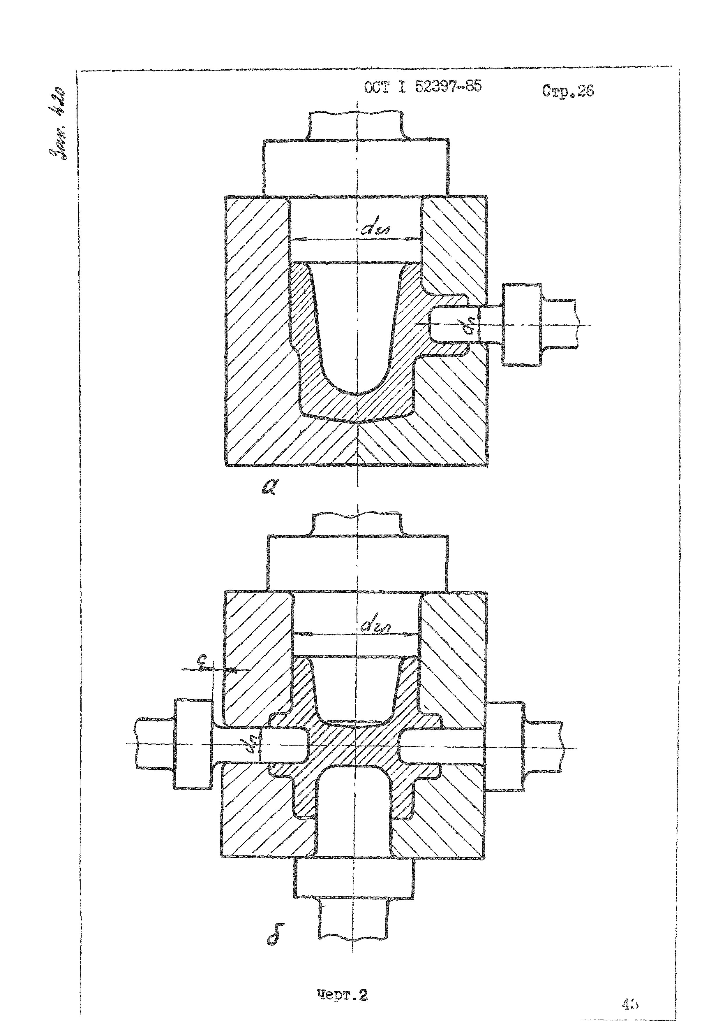
| Область применения: | Стандарт распространяется на штамповую оснастку для безоблойной штамповки заготовок из алюминиевых, титановых сплавов и сталей на гидравлических многоплунжерных прессах с горизонтальным разъемом матриц моделей ПБ2636, ПБ2638А усилием 4,0; 6,3 и 10,0 МН и гидравлических многоплунжерных прессах с вертикальным разъемом матриц модели МП-1000 усилием 10,0 МН. Стандарт устанавливает конструкцию и размеры заготовок полуматриц, а также конструкцию и размеры хвостовиков пуансонов и выталкивателей. |
| Оглавление: | 1 Общие положения 2 Штамповая оснастка для прессов с горизонтальным разъемом матриц 3 Штамповая оснастка для прессов с вертикалным разъемом матриц 4 Общие технические требования 5 Метрологические обеспечение Приложение Особенности штамповки на многоплунжерных прессах |
| Разработан: | НИАТ |
| Утверждён: | 25.12.1985 Министерство (Ministry 087-16) |
| Заменяет собой: |
|
| Нормативные ссылки: |
|




























