Скачать ОСТ 1 41580-80 Инструменты с клеевыми соединениями. Методы определения прочности клеевых соединений образцовДата актуализации: 01.01.2021
|
| Обозначение: | ОСТ 1 41580-80 |
| Обозначение англ: | 41580-80 |
| Статус: | действует |
| Название рус.: | Инструменты с клеевыми соединениями. Методы определения прочности клеевых соединений образцов |
| Дата добавления в базу: | 01.09.2013 |
| Дата актуализации: | 01.01.2021 |
| Дата введения: | 01.07.1987 |
| Область применения: | Стандарт распространяется на клеевые соединения, применяемые в режущих и измерительных инструментах, и устанавливает методы определения прочности клеевых соединений при испытаниях на сдвиг растяжением и ударную вязкость. Стандарт содержит: - конструкцию образцов; - технические требования на изготовление образцов; - методику проведения испытаний; - методику подсчета результатов испытаний; - технические требования к оборудованию для испытаний; - требования безопасности. |
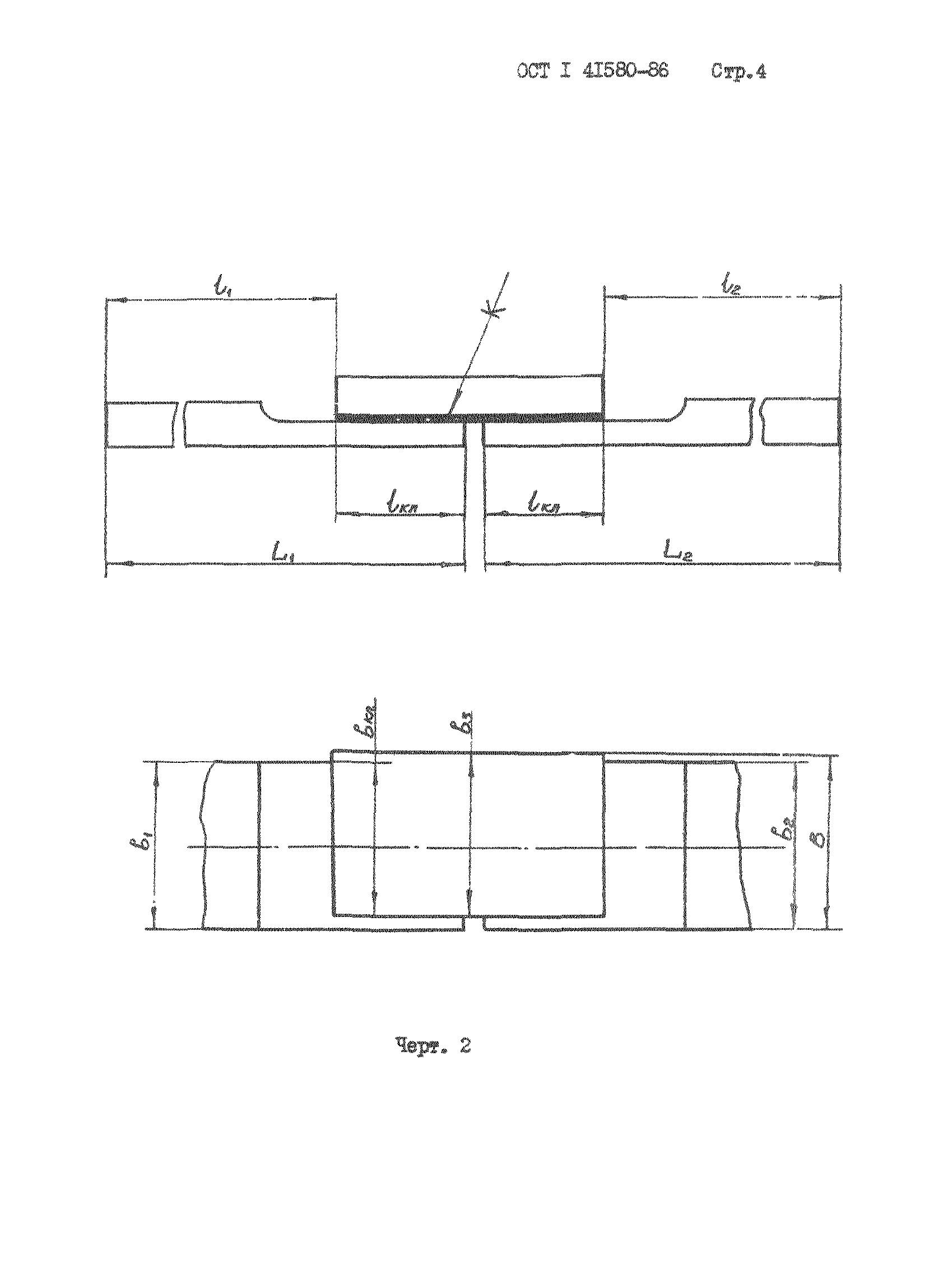
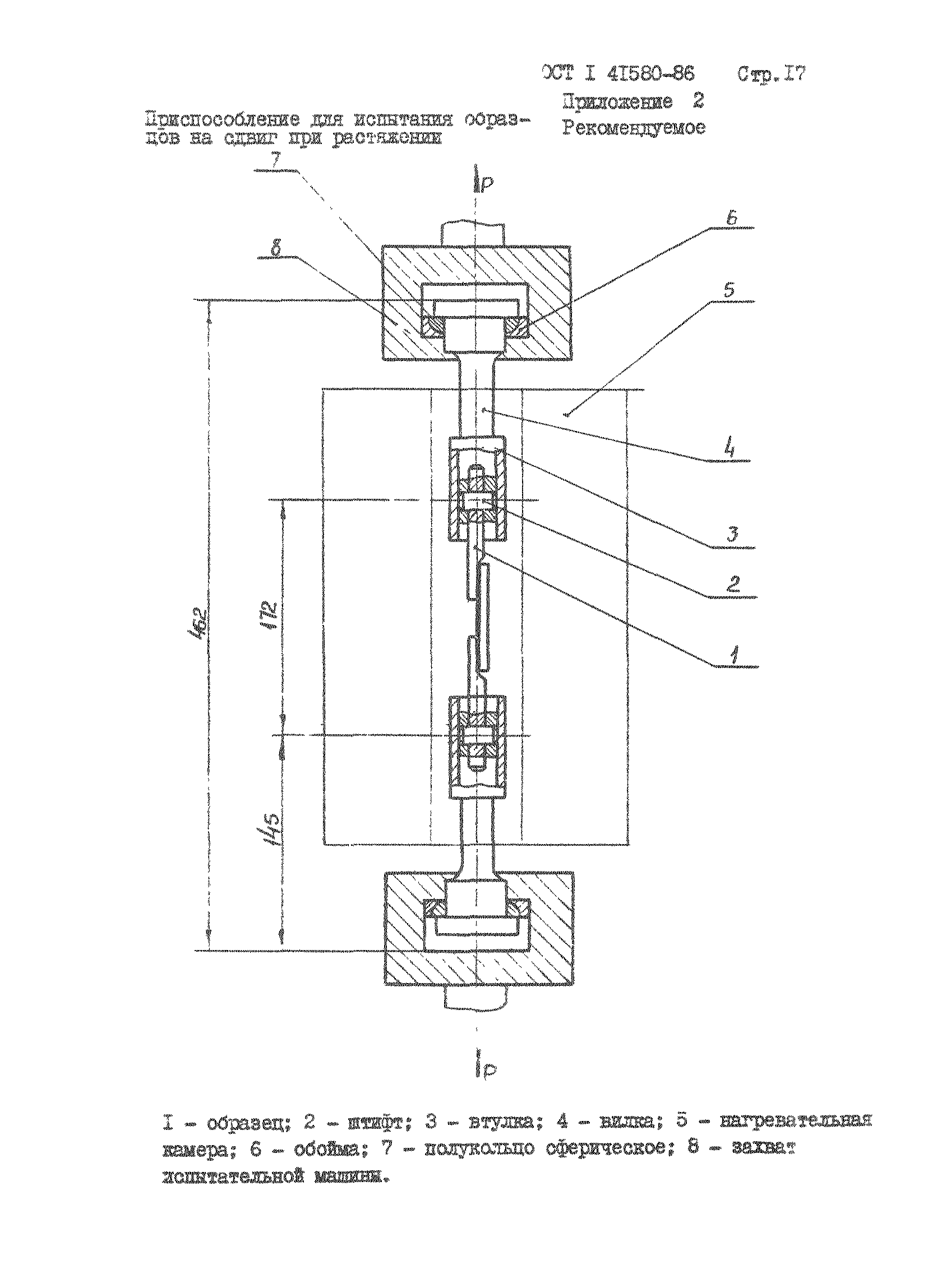
| Оглавление: | 1. Метод определения прочности при сдвиге растяжением 2. Метод определения удельной ударной вязкости при сдвиге 3. Технические требования к оборудованию для испытаний 4. Требования безопасности Приложение 1 (рекомендуемое). Приспособление для склеивания образцов Приложение 2 (рекомендуемое). Приспособление для испытания образцов на сдвиг при растяжении Приложение 3 (рекомендуемое). Молот копра для испытания образцов с клеевыми соединениями на ударную вязкость при сдвиге |
| Утверждён: | 25.02.1986 Министерство (Ministry 087-16) |
| Заменяет собой: |
|



















