Скачать ОСТ 1 41117-72 Сварка полиэтиленовых пленок. Швы сварных соединений. Типы и основные размеры

Дата актуализации: 01.01.2021

ОСТ 1 41117-72

Сварка полиэтиленовых пленок. Швы сварных соединений. Типы и основные размеры

Обозначение: ОСТ 1 41117-72
Обозначение англ: 41117-72
Статус:действует
Название рус.:Сварка полиэтиленовых пленок. Швы сварных соединений. Типы и основные размеры
Дата добавления в базу:01.09.2013
Дата актуализации:01.01.2021
Дата введения:01.07.1972
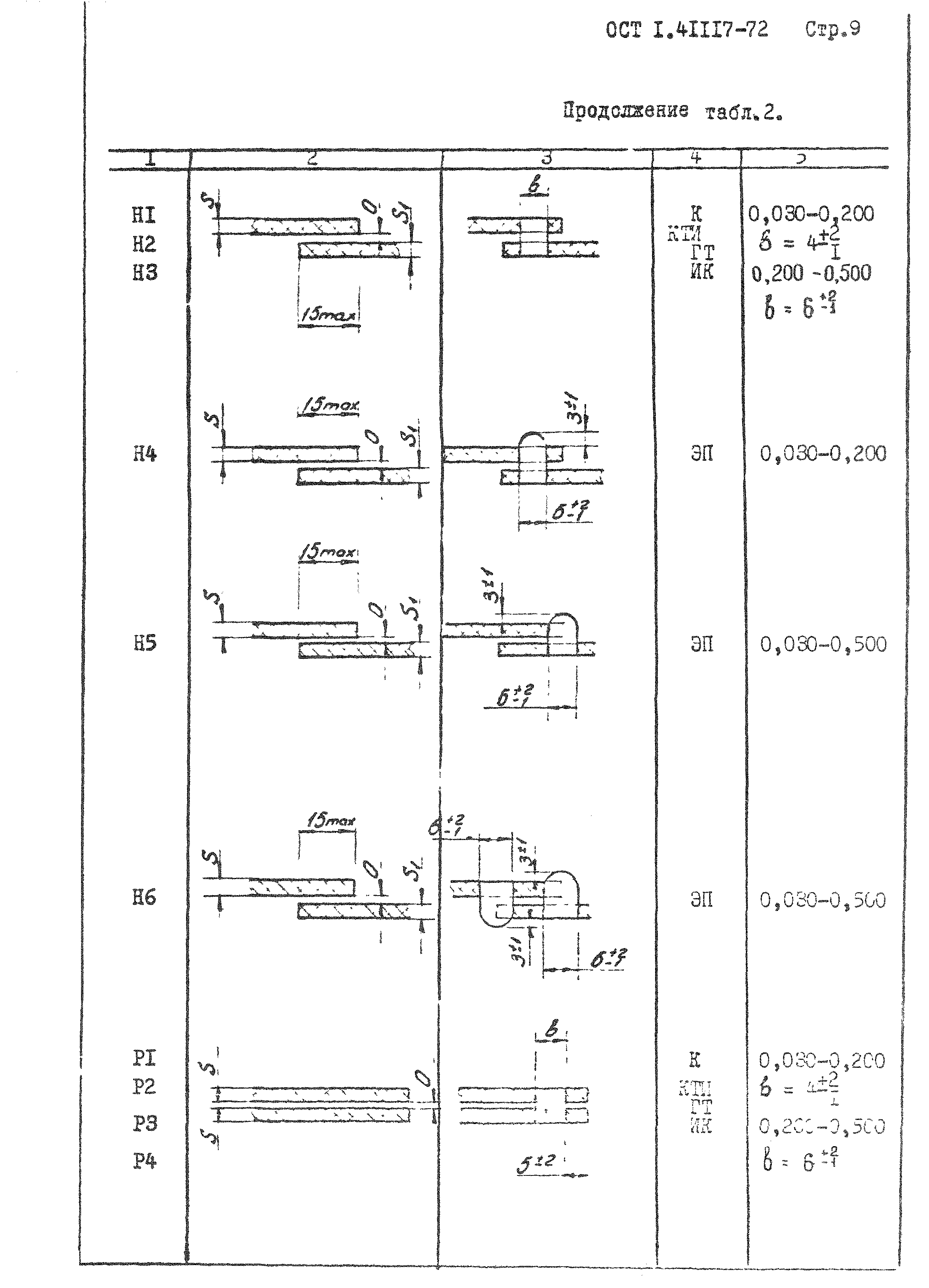
Область применения:Стандарт устанавливает основные типы и конструктивные элементы швов сварных соединений деталей и конструкций из полиэтиленовых пленок толщиной от 0,030 до 0,500 мм ГОСТ 10354-73, выполненных следующими способами: контактным нагревом (нагретым инструментом), газовыми теплоносителями и инфракрасным излучением, оплавлением экструдируемой присадкой. Стандарт не устанавливает основные типы и конструктивные элементы швов сварных соединений, выполненных другими способами сварки (ультразвуком, высокой частотой и т.д.).
Утверждён:16.02.1972 Министерство (Ministry 087-16)
ОСТ 1 41117-72ОСТ 1 41117-72ОСТ 1 41117-72ОСТ 1 41117-72ОСТ 1 41117-72ОСТ 1 41117-72ОСТ 1 41117-72ОСТ 1 41117-72ОСТ 1 41117-72ОСТ 1 41117-72ОСТ 1 41117-72ОСТ 1 41117-72ОСТ 1 41117-72