Скачать ОСТ 1 92067-78 Профили прессованные полые из алюминиевых сплавовДата актуализации: 01.01.2021
|
| Обозначение: | ОСТ 1 92067-78 |
| Обозначение англ: | 92067-78 |
| Статус: | действует |
| Название рус.: | Профили прессованные полые из алюминиевых сплавов |
| Дата добавления в базу: | 01.09.2013 |
| Дата актуализации: | 01.01.2021 |
| Дата введения: | 01.07.1978 |
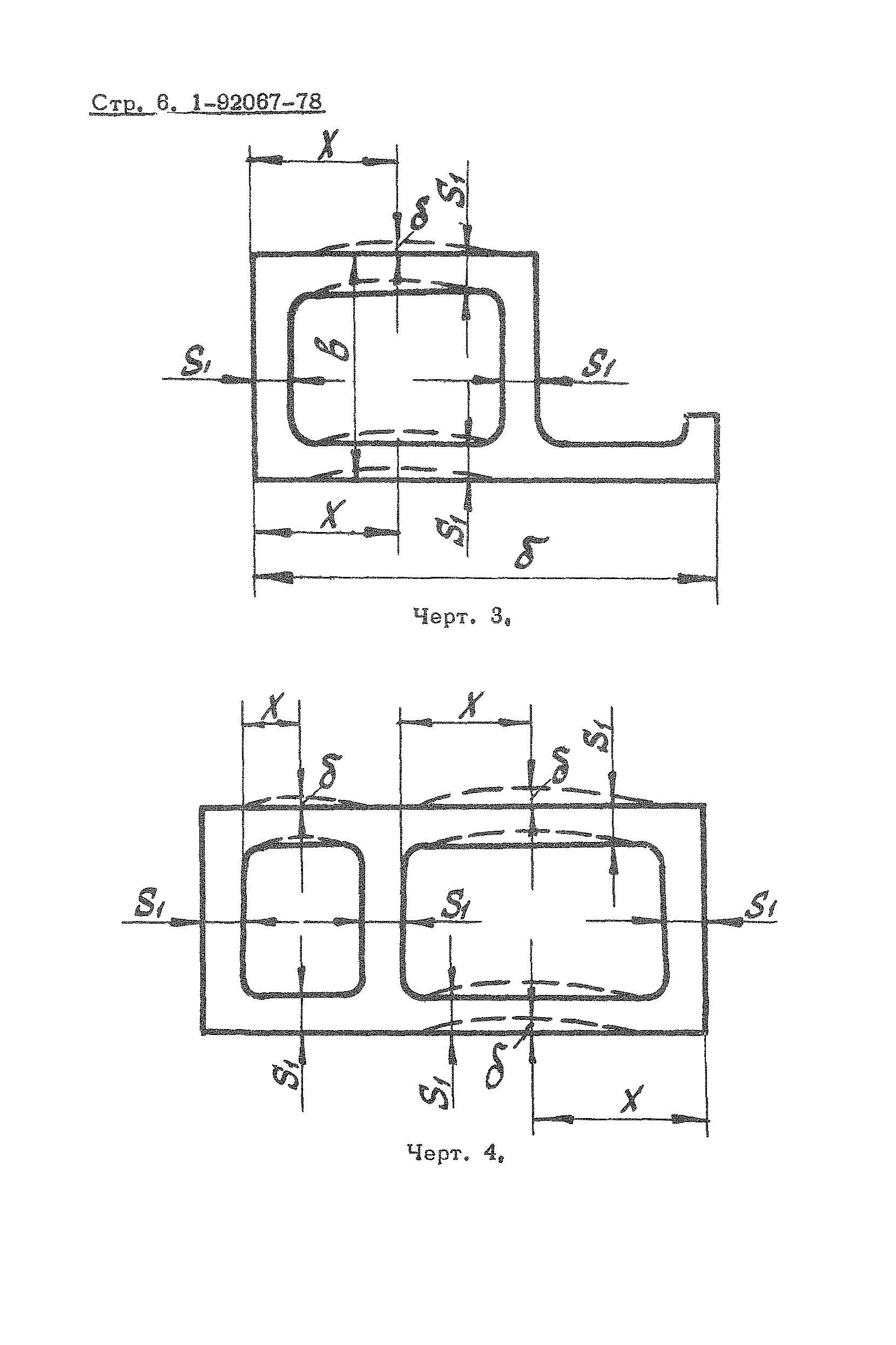
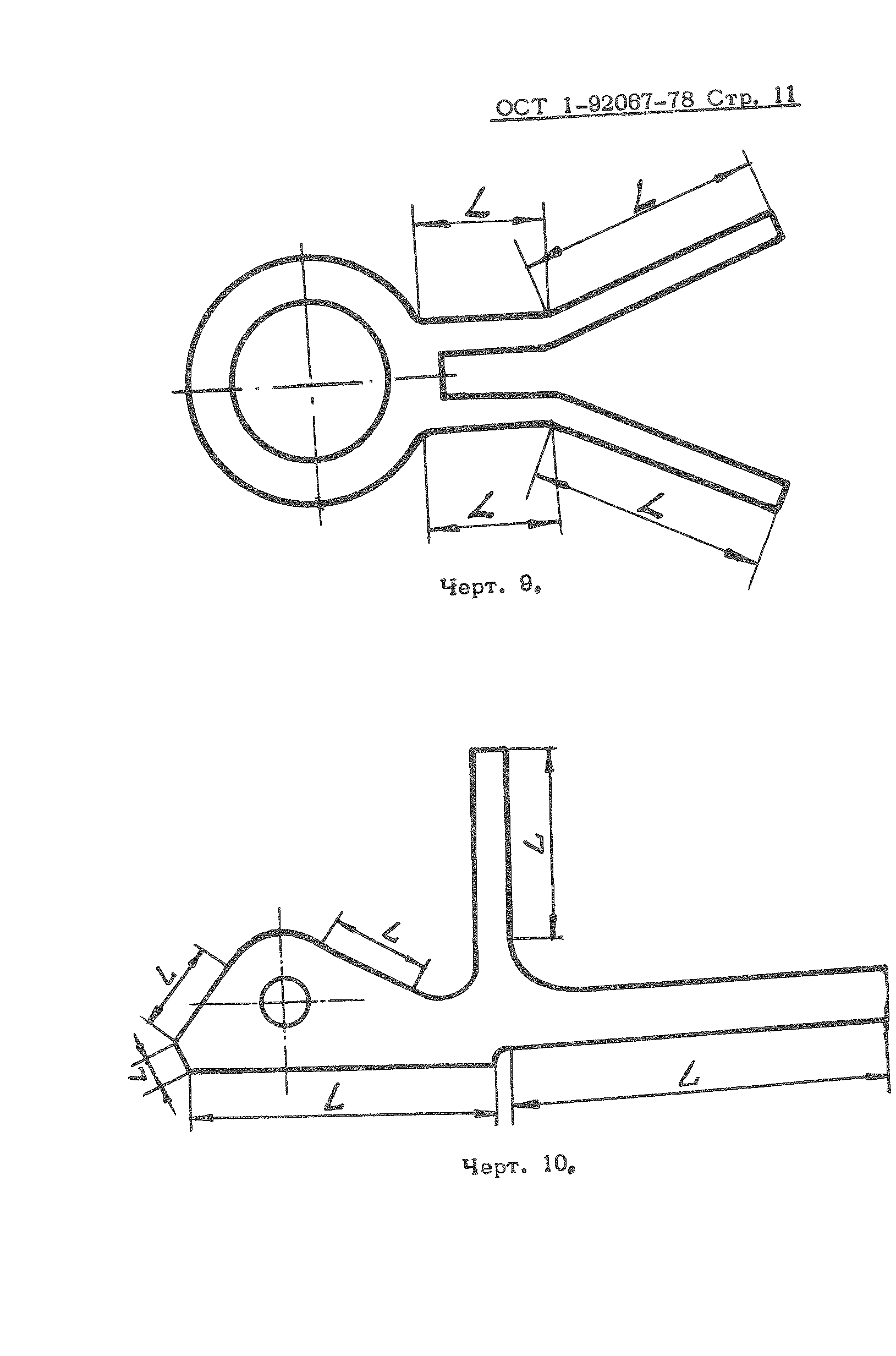
| Область применения: | Стандарт распространяется на прессованные полые профили из алюминиевых сплавов марок АМц, АМцС, АМг2, АМг3, АМг5, АМг6, АД31, АВ, Д16, Д16ч, Д19, Д19ч, АК4-1, АК4-1ч, В95 и В95п.ч. с площадью поперечного сечения до 60 см2 и диаметром описанной окружности до 250 мм, предназначенные для получения изделий ответственного назначения. |
| Оглавление: | 1. Классификация 2. Сортамент 3. Технические требования 4. Правила приемки 5. Методы испытаний 6. Маркировка, упаковка и транспортирование Приложение (справочное). Перечень стандартов, связанных с требованиями ОСТ 1-92067-78 |
| Разработан: | ВИЛС |
| Утверждён: | 16.04.1978 МАП |





































