Скачать ОСТ 1 76638-78 Машины ручные пневматические. Редукторы планетарные малые. Конструкция и размерыДата актуализации: 01.01.2021
|
| Обозначение: | ОСТ 1 76638-78 |
| Обозначение англ: | 76638-78 |
| Статус: | действует |
| Название рус.: | Машины ручные пневматические. Редукторы планетарные малые. Конструкция и размеры |
| Дата добавления в базу: | 01.09.2013 |
| Дата актуализации: | 01.01.2021 |
| Дата введения: | 01.10.1979 |
| Область применения: | Настоящий стандарт распоространяется на зубчатые планетарные одноступенчатые редукторы с основными параметрами по ОСТ 1.76581-77, встраиваемые в ручные пневматические машины |
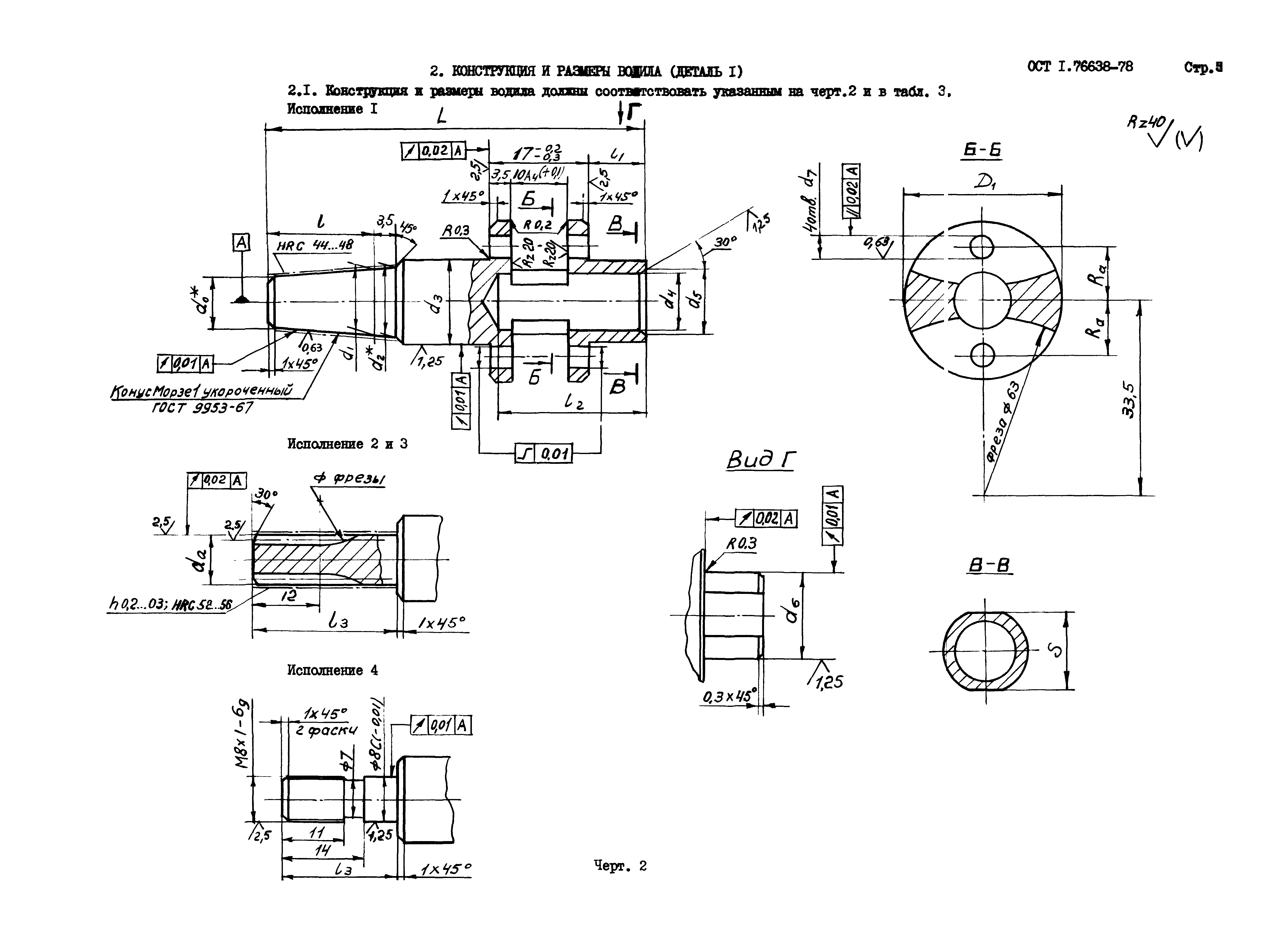
| Оглавление: | 1 Конструкции и размеры редукторов 2 Конструкции и размеры водила (деталь 1) 3 Конструкция и размеры зубчатого колеса с внутренними зубьями (дет. 2) 4 Контсрукция и размеры зубчатого колеса (деталь 3) 5 Конструкция и размеры оси (деталь 4) 6 Конструкция и размеры кольца запорного (деталь 5) Приложение 1 Основные параметры зубчатого венца центрального колеса (ротора пневмодвигателя) Приложение 2 Пример применения редуктора |
| Разработан: | НИАТ |
| Утверждён: | 20.11.1978 Министерство (Ministry 087-16) |




















