Скачать Рекомендации по применению систем обогрева с газовыми инфракрасными излучателямиДата актуализации: 01.01.2021 |
| Статус: | действует |
| Название рус.: | Рекомендации по применению систем обогрева с газовыми инфракрасными излучателями |
| Дата добавления в базу: | 01.09.2013 |
| Дата актуализации: | 01.01.2021 |
| Дата введения: | 29.01.1996 |
| Область применения: | Рекомендации регламентируют применение газовых инфракрасных излучателей для целнй обогрева. |
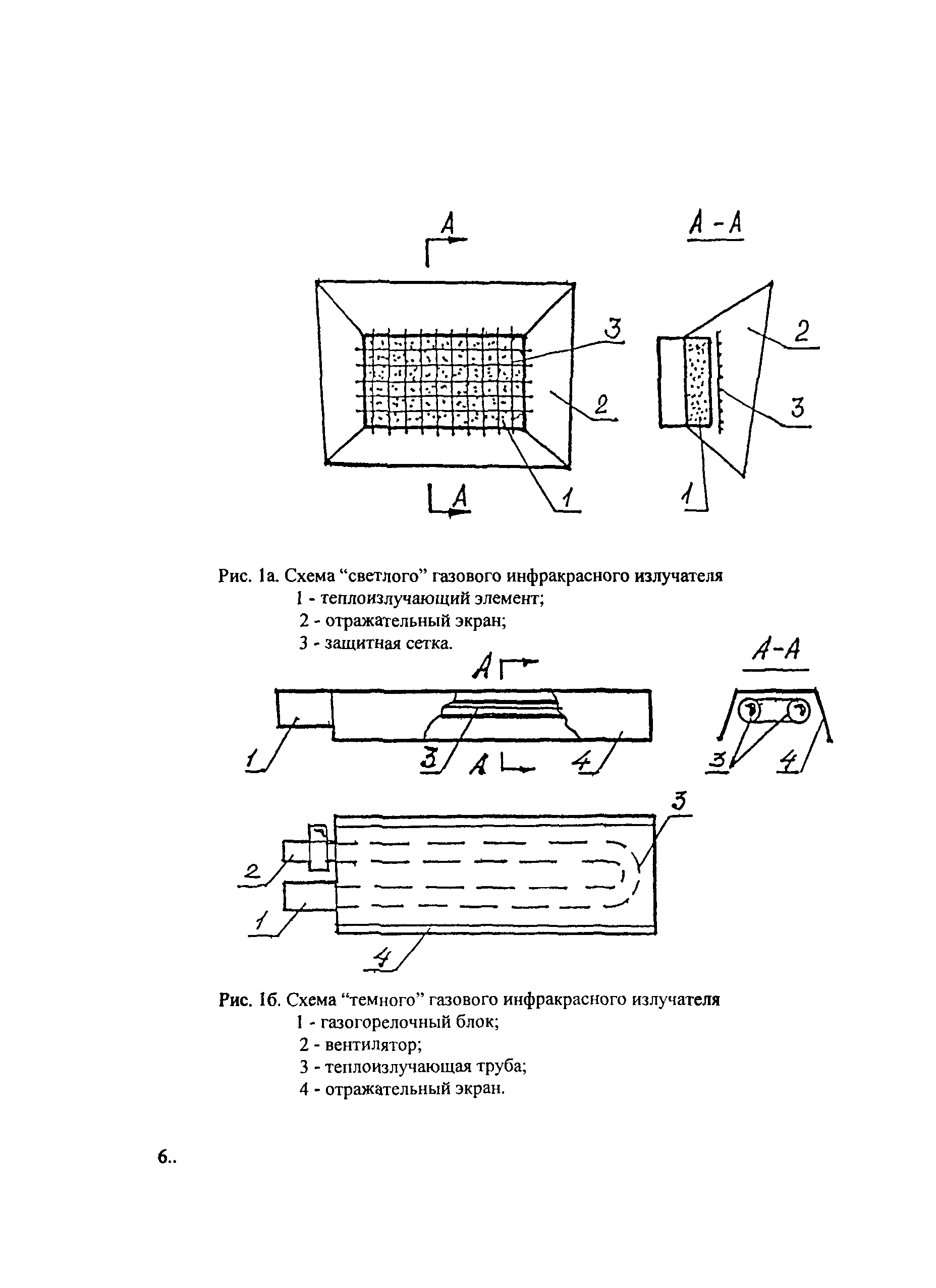
| Оглавление: | 1 Введение 2 Приницпы работы и схемные решения 3 Область применения 4 Общие требования 5 Гигиенические требования 6 Требования к управлению и эксплуатации |
| Разработан: | АВОК |
| Утверждён: | 29.01.1996 Главное управление стандартизации, технического нормирования и сертификации Минстроя России (National Administration for Standardization, Specification, and Certification, Russian Federation Minstroy 13/19) |
| Принят: | 25.12.1995 Госкомсанэпиднадзор России (Russian Federation Goskomsanepidnadzor 11-6/99-111) 26.01.1996 ГПС МВД России (20/2.2/160) |
| Нормативные ссылки: |
|








