Скачать ОСТ 1 52390-79 Державка к стойкам для измерительных головок. Конструкция и размерыДата актуализации: 01.01.2021
|
| Обозначение: | ОСТ 1 52390-79 |
| Обозначение англ: | 52390-79 |
| Статус: | действует |
| Название рус.: | Державка к стойкам для измерительных головок. Конструкция и размеры |
| Дата добавления в базу: | 01.09.2013 |
| Дата актуализации: | 01.01.2021 |
| Дата введения: | 01.01.1981 |
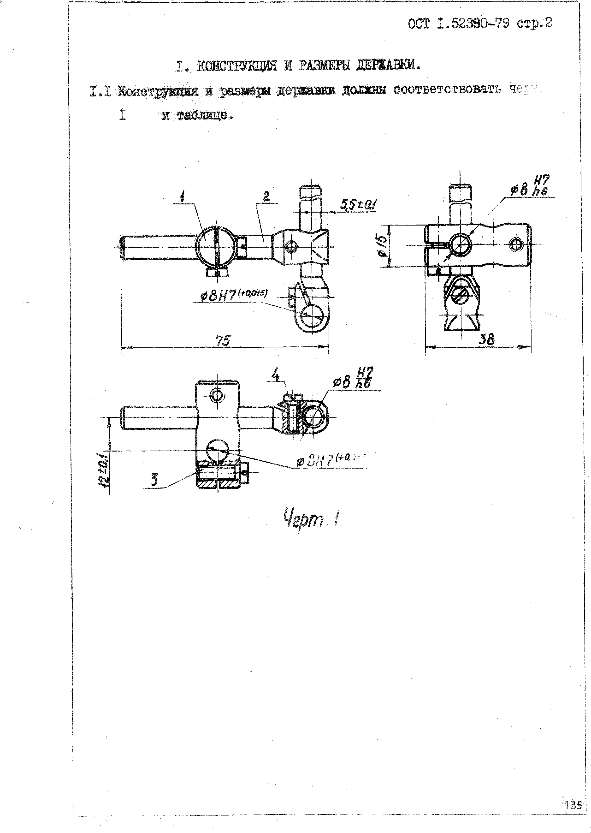
| Область применения: | Стандарт распространяется на державки к стойкам для измерительных головок, применяемые в контрольно-измерительных приспособлениях. Стандарт устанавливает конструкцию и размеры державки к стойкам для измерительных головок. |
| Оглавление: | 1. Конструкция и размеры стойки 2. Конструкция и размеры стойки (деталь 1) 3. Конструкция и размеры стойки (деталь 2) |
| Утверждён: | 25.07.1979 Министерство (Ministry 087-16) |
| Заменяет собой: |
|



