Скачать РД 45.211-2001 Инструкция по проведению аварийно-восстановительных работ на кабелях междугородных линий передачиДата актуализации: 01.01.2021
|
| Обозначение: | РД 45.211-2001 |
| Обозначение англ: | RD 45.211-2001 |
| Статус: | введен впервые |
| Название рус.: | Инструкция по проведению аварийно-восстановительных работ на кабелях междугородных линий передачи |
| Дата добавления в базу: | 01.09.2013 |
| Дата актуализации: | 01.01.2021 |
| Область применения: | Руководящий документ отрасли устанавливает порядок и объем проведения аварийно-восстановительных работ на линейно-кабельных сооружениях на основе медножильных и оптических кабелей с помощью временных и постоянных кабельных вставок для различных случаев повреждения, и предназначен для применения при эксплуатации подземных медножильных и оптических кабелей магистральной и внутризоновых сетей передачи. |
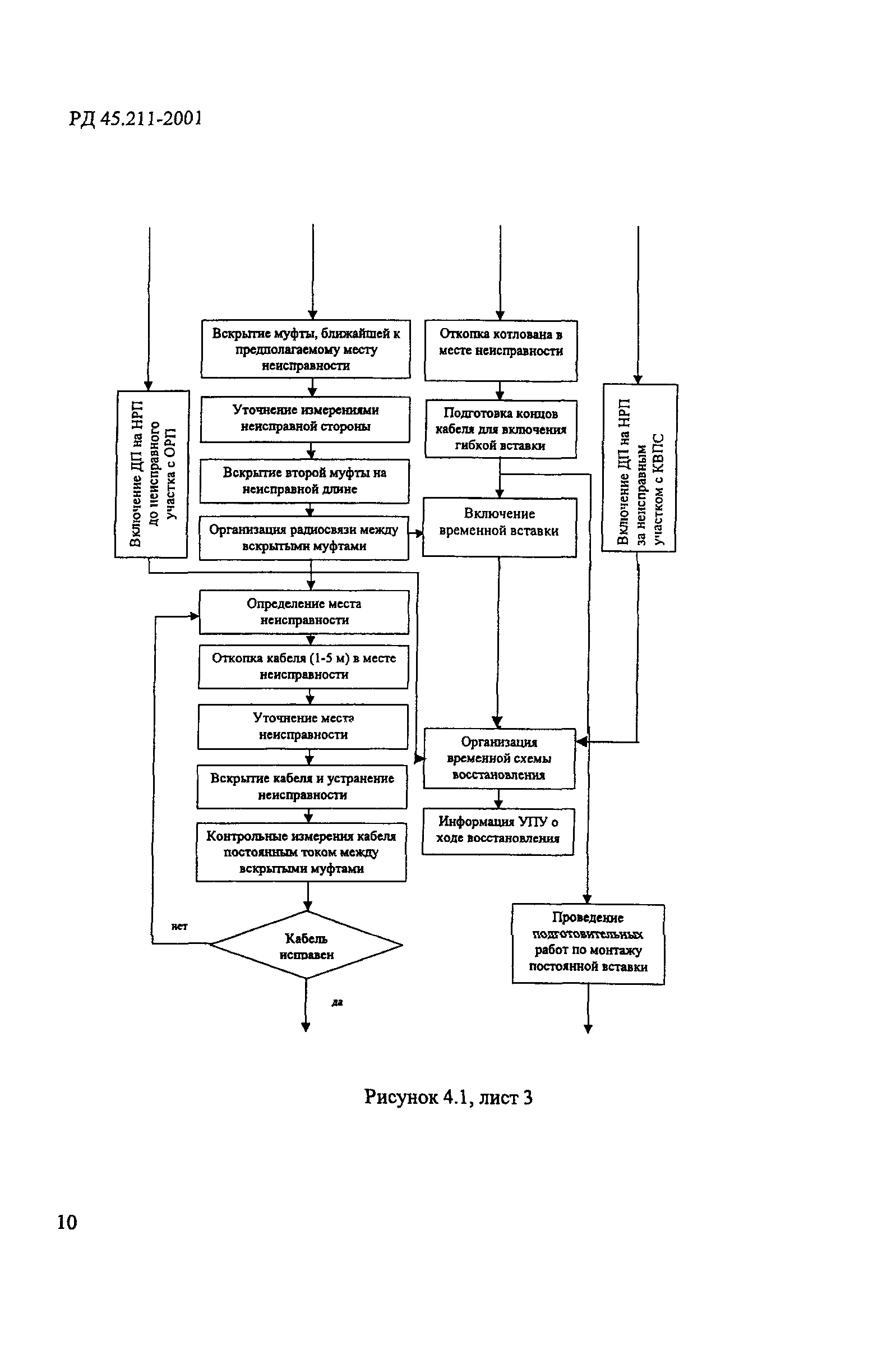
| Оглавление: | 1 Область применения 2 Нормативные ссылки 3 Сокращения 4 Аварийно-восстановительные работы на ЛКС на основе медножильных и оптических кабелей 5 Измерения линий передачи на основе медножильных кабелей в ходе АВР 6 Восстановление кабельной линии передачи по временной схеме в процессе проведения АВР на медножильных кабелях 7 Особенности восстановления линии передачи по временной схеме на переходах через водные преграды 8 Перевод систем К-60П на однокабельный режим работы 9 Организация служебной связи при АВР на медножильных кабелях 10 Организация постоянной схемы восстановления линии передачи на медножильных кабелях 11 Организация земляных работ при АВР 12 АВР на ЛКС ВОЛП Приложение А Оснащение аварийно-восстановительной спецмашины для линий передачи на основе медножильных кабелей Приложение Б Соединительные устройства и их назначение Приложение В Оснащение аварийно-восстановительной спецмашины ЛИОК для кабельной линии передачи ВОЛП Приложение Г Состав АВБ № 1, ведомость комплекта Приложение Д Состав АВБ № 2, ведомость комплекта Приложение Е Библиография |
| Разработан: | ЦНИИС |
| Утверждён: | 06.11.2001 Минсвязи России (Russian Federation Minsvyazi 7813) |
| Издан: | Минсвязи России |
| Нормативные ссылки: |
|



































































































