Скачать Серия 2.130-1 Выпуск 20. Наружные стены крупнопанельных и крупноблочных зданий из ячеистого бетона. Рабочие чертежиДата актуализации: 01.01.2021
|
| Обозначение: | Серия 2.130-1 |
| Обозначение англ: | Series 2.130-1 |
| Статус: | справочные материалы, мп, тпр |
| Название рус.: | Выпуск 20. Наружные стены крупнопанельных и крупноблочных зданий из ячеистого бетона. Рабочие чертежи |
| Дата добавления в базу: | 01.09.2013 |
| Дата актуализации: | 01.01.2021 |
| Дата введения: | 15.07.1980 |
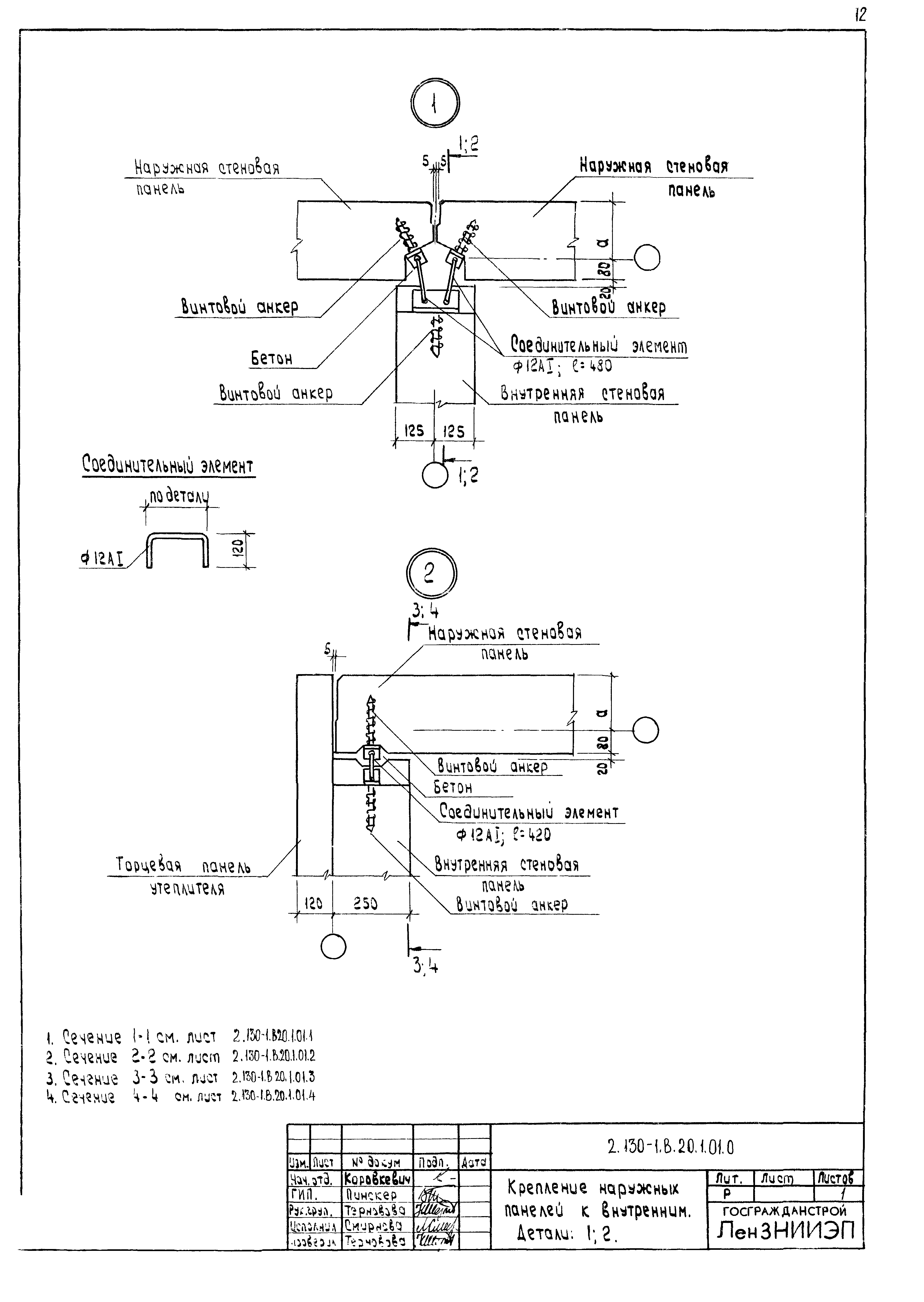
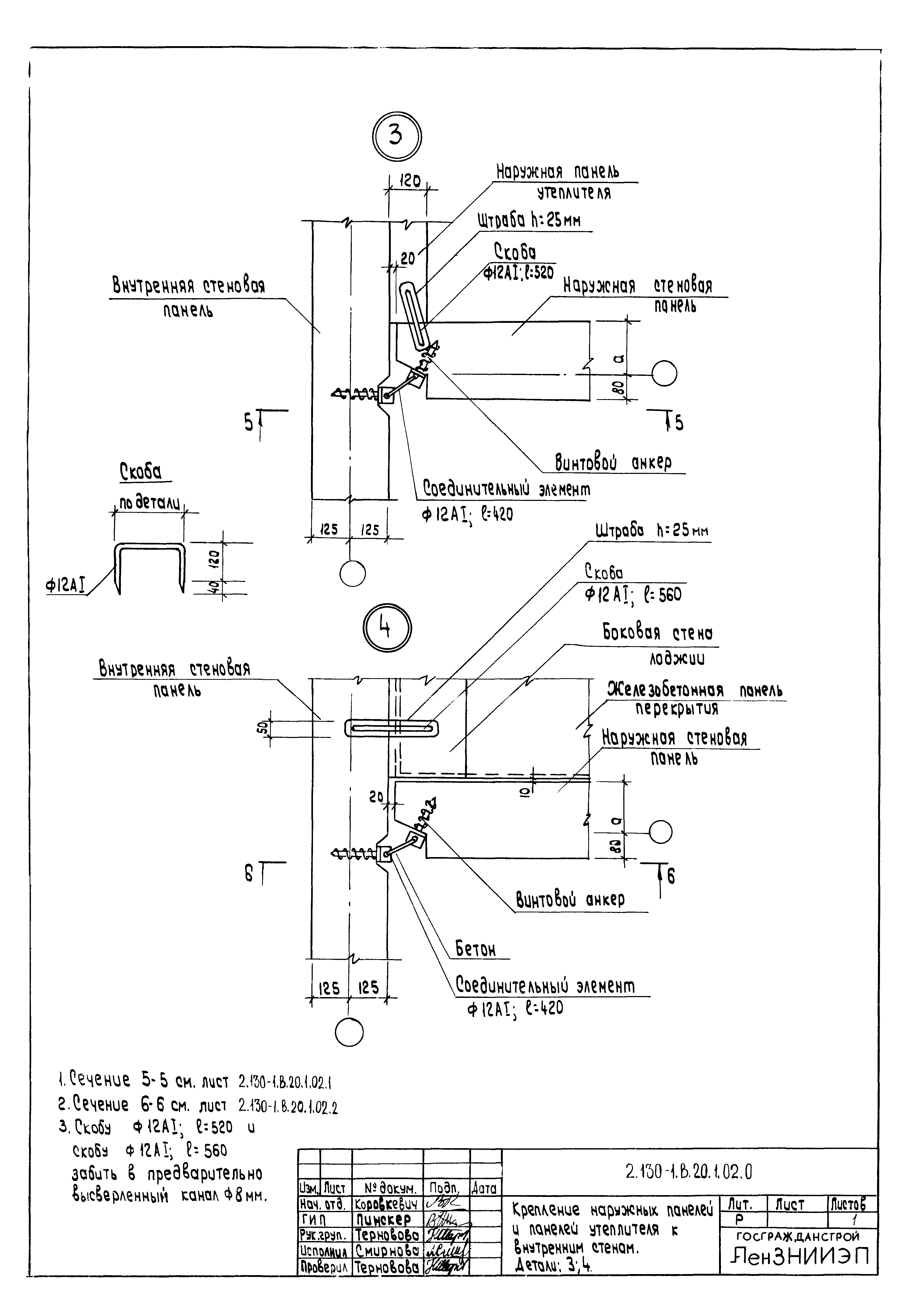
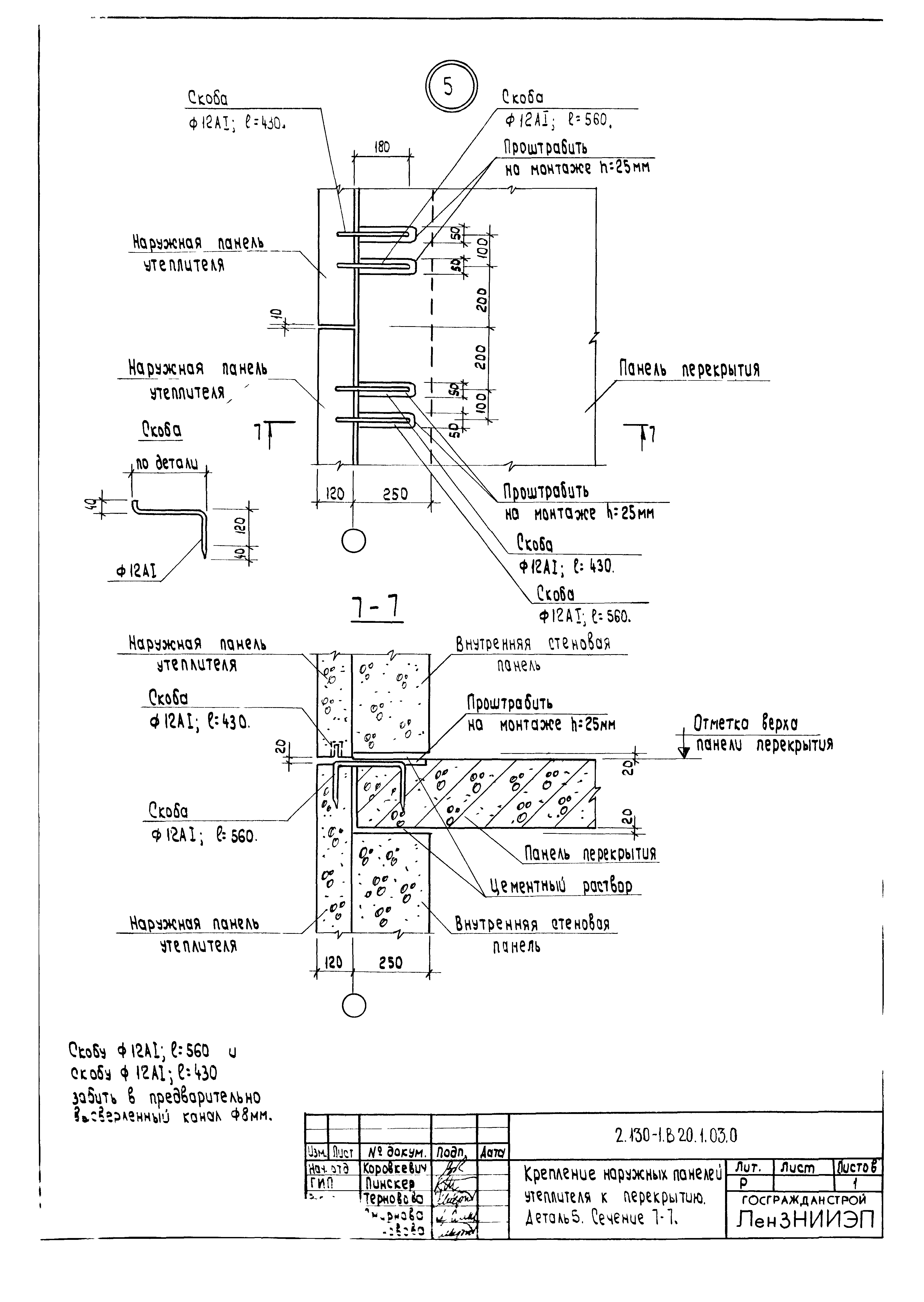
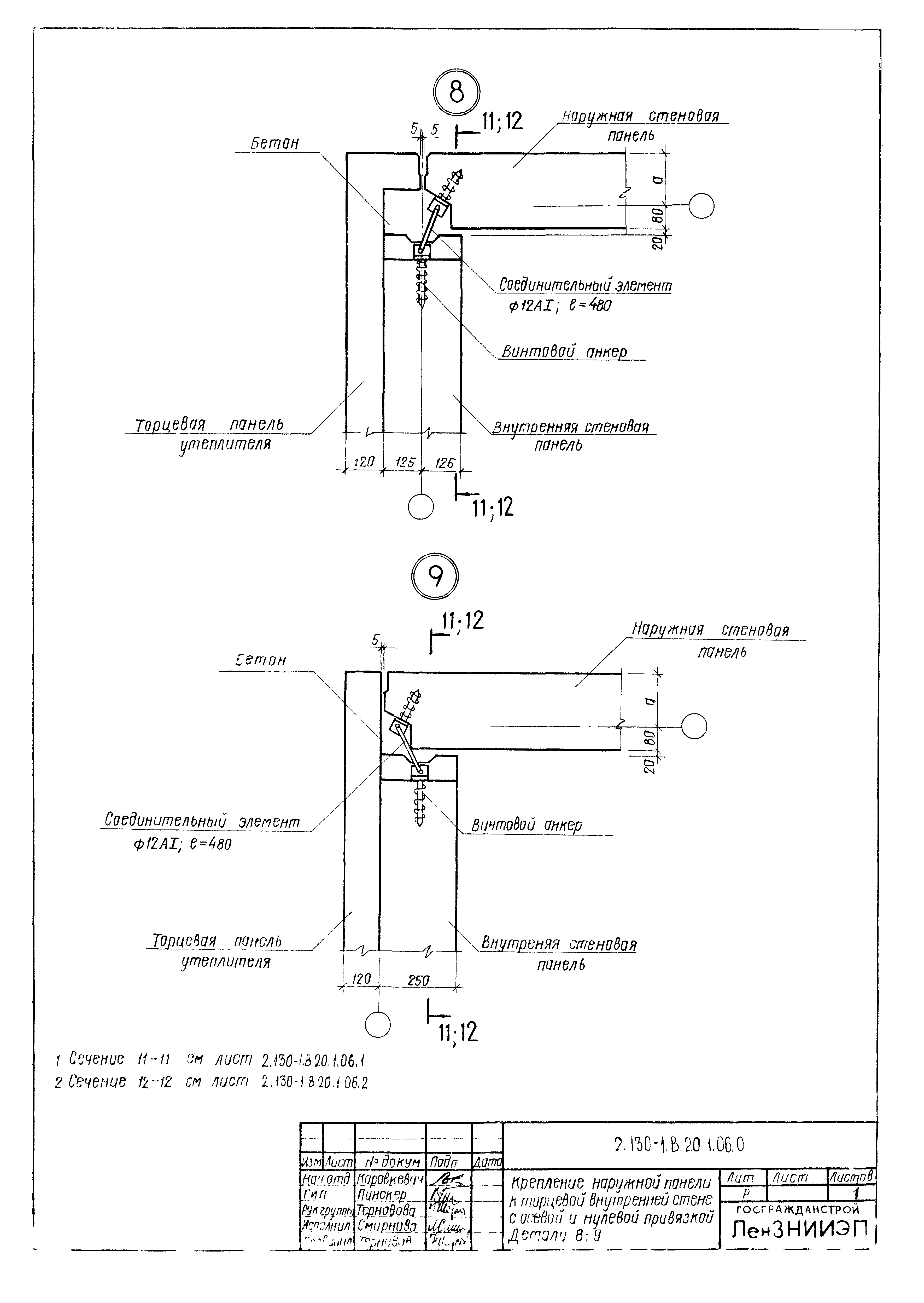
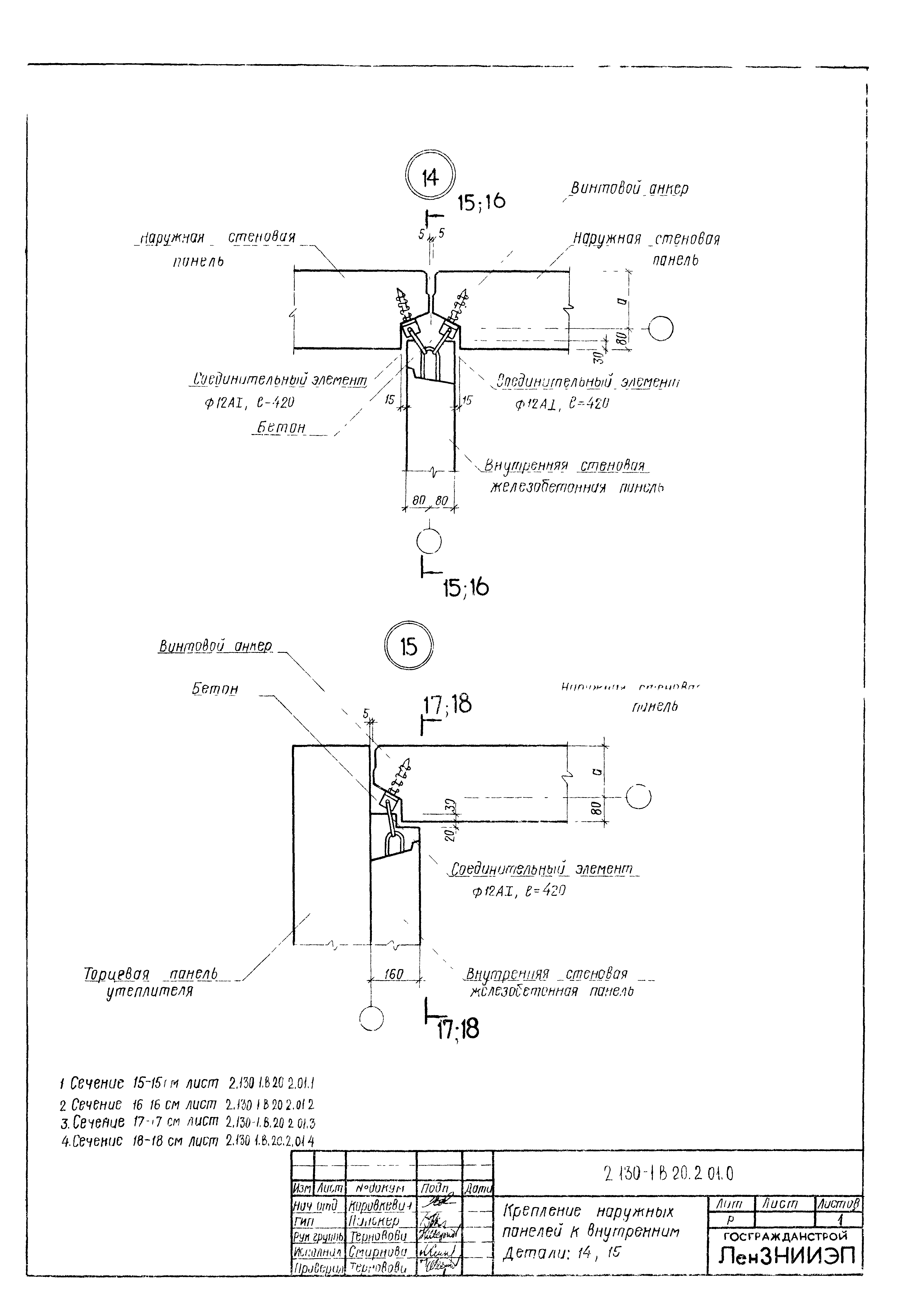
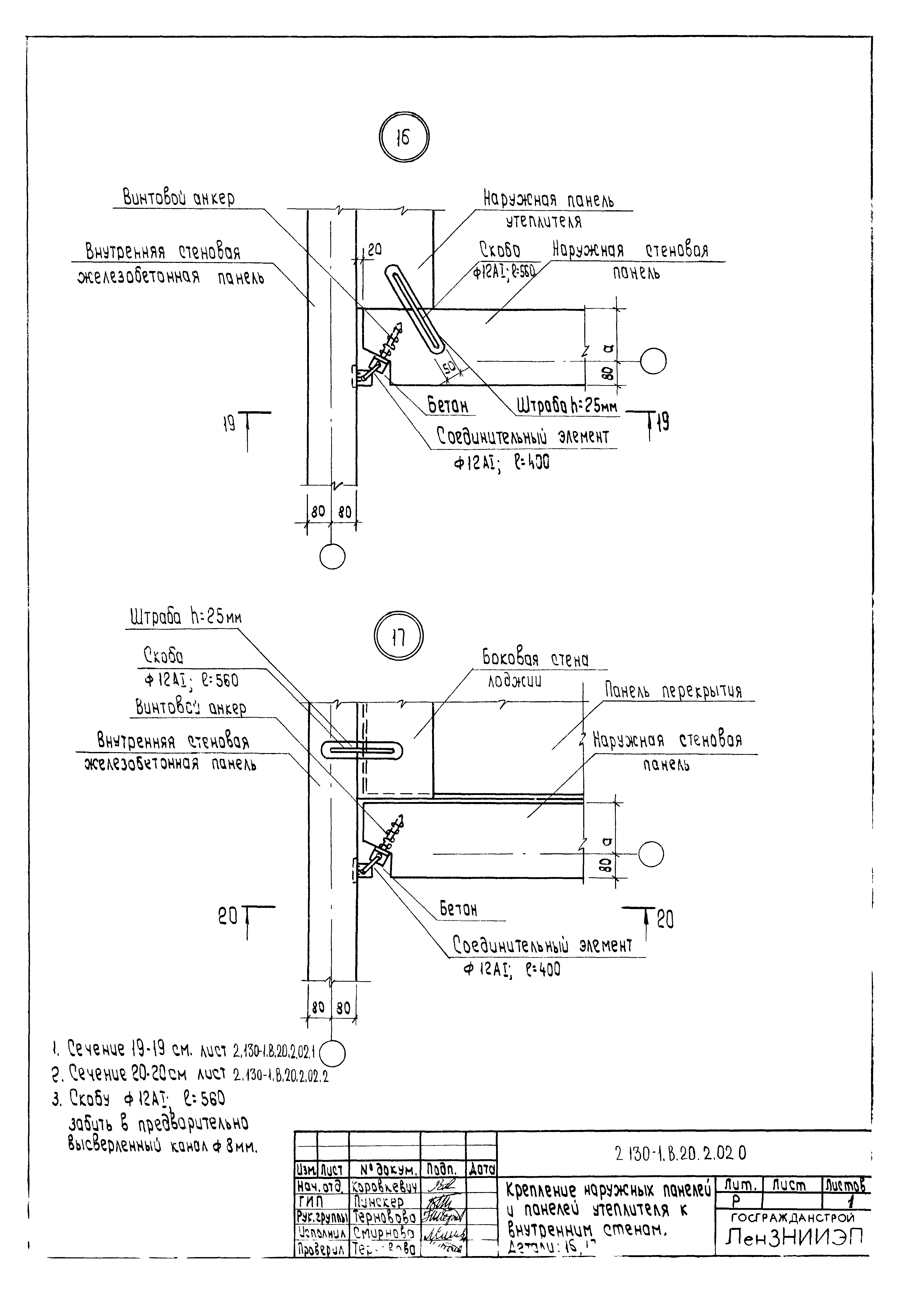
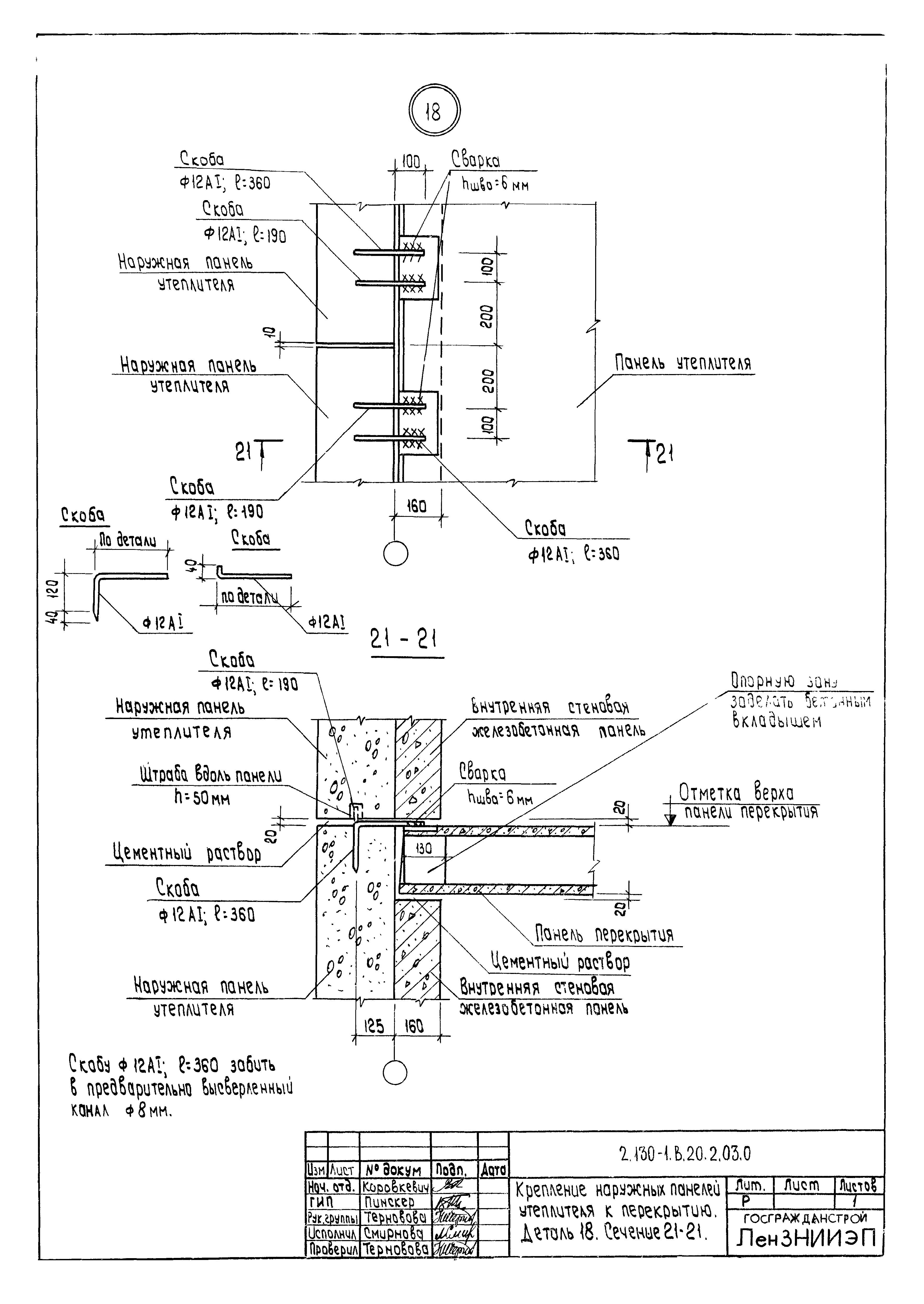
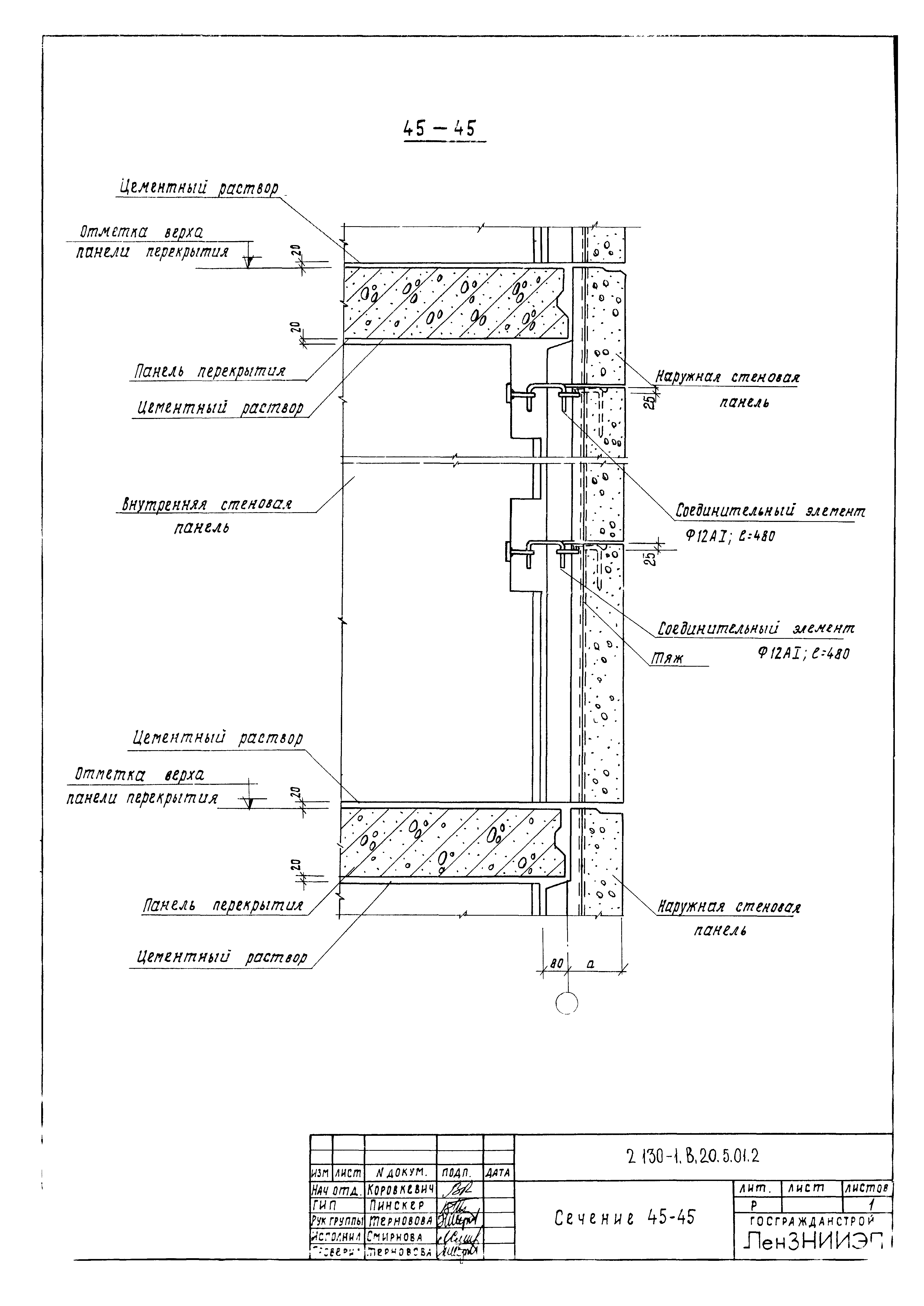
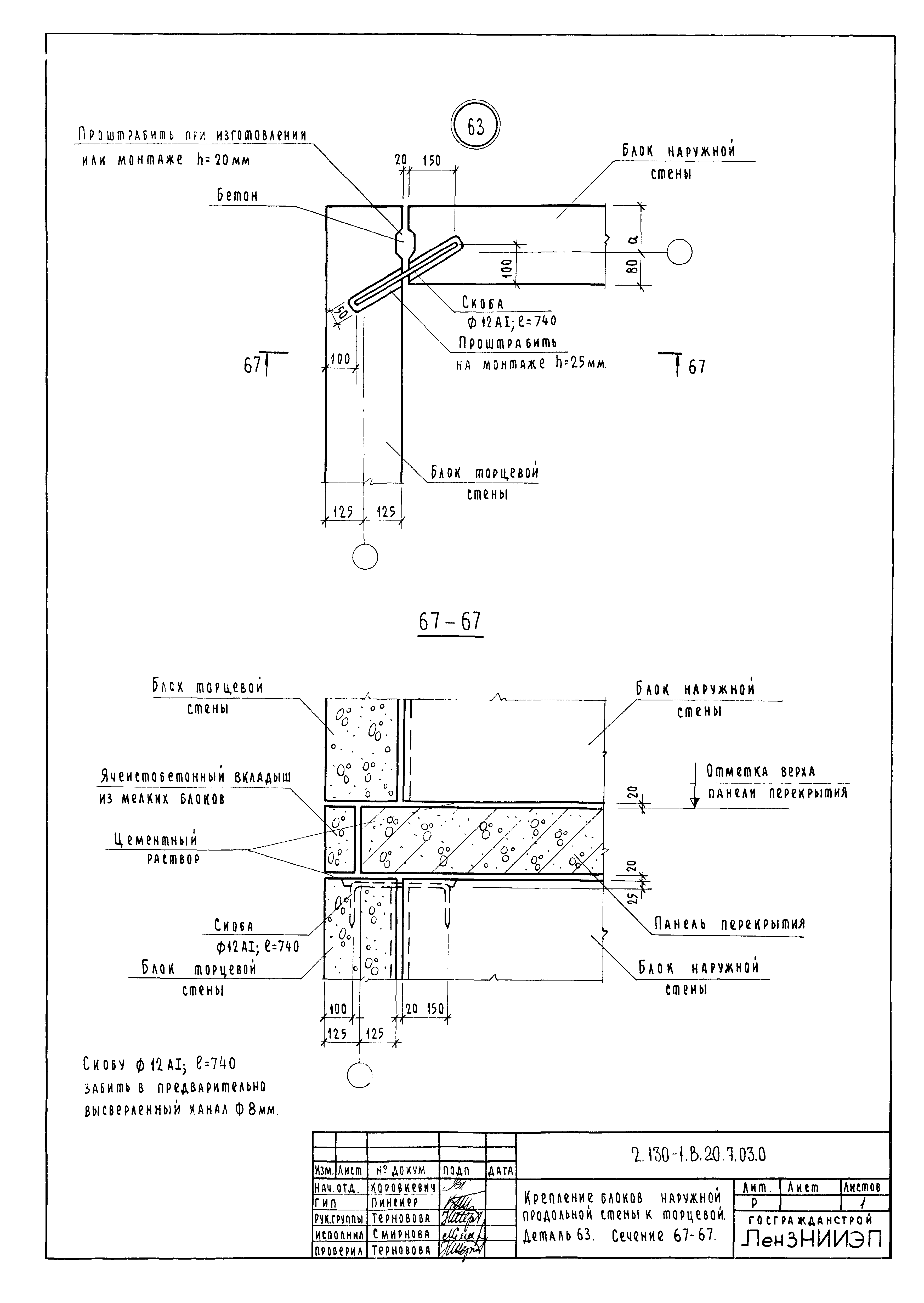
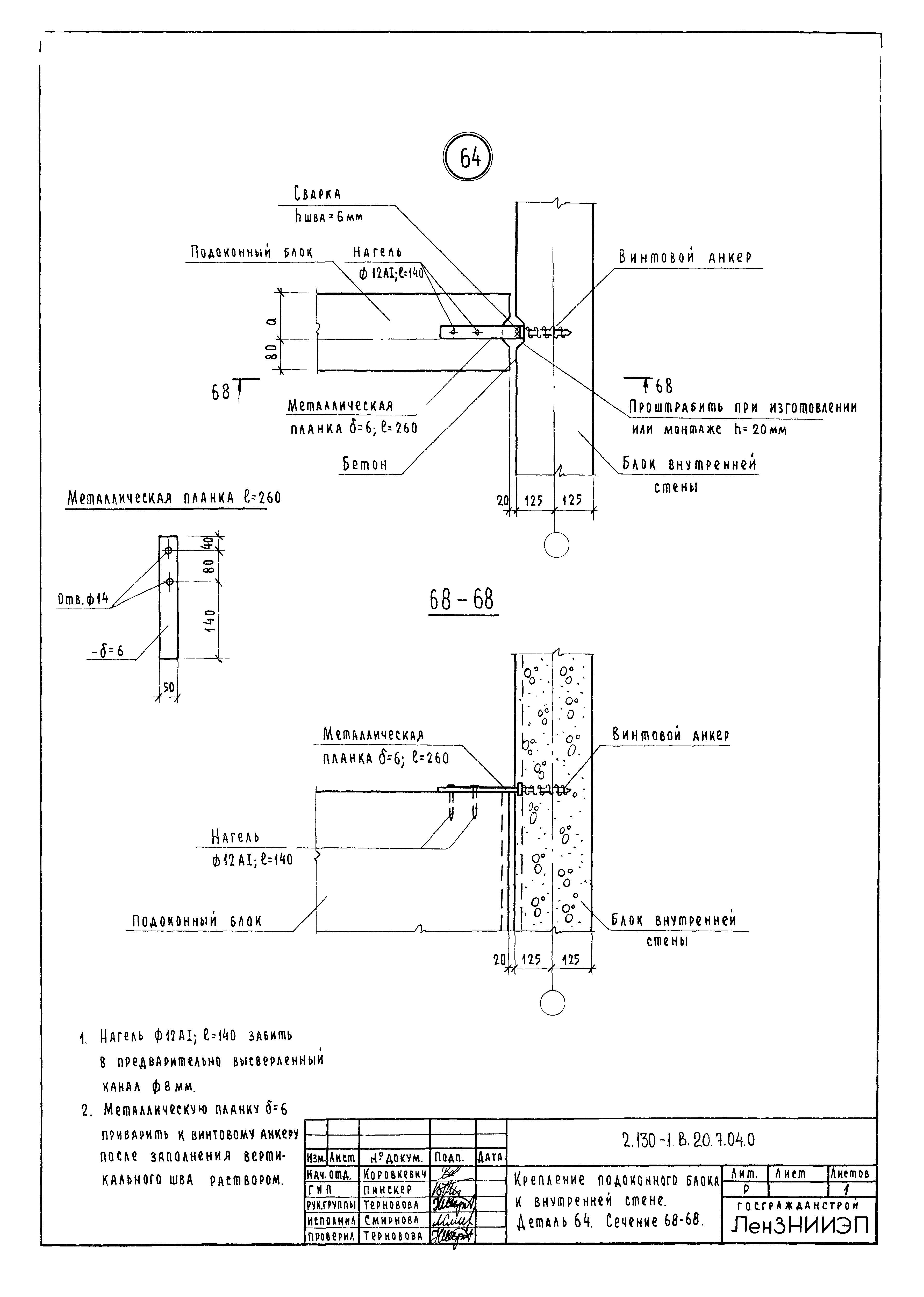
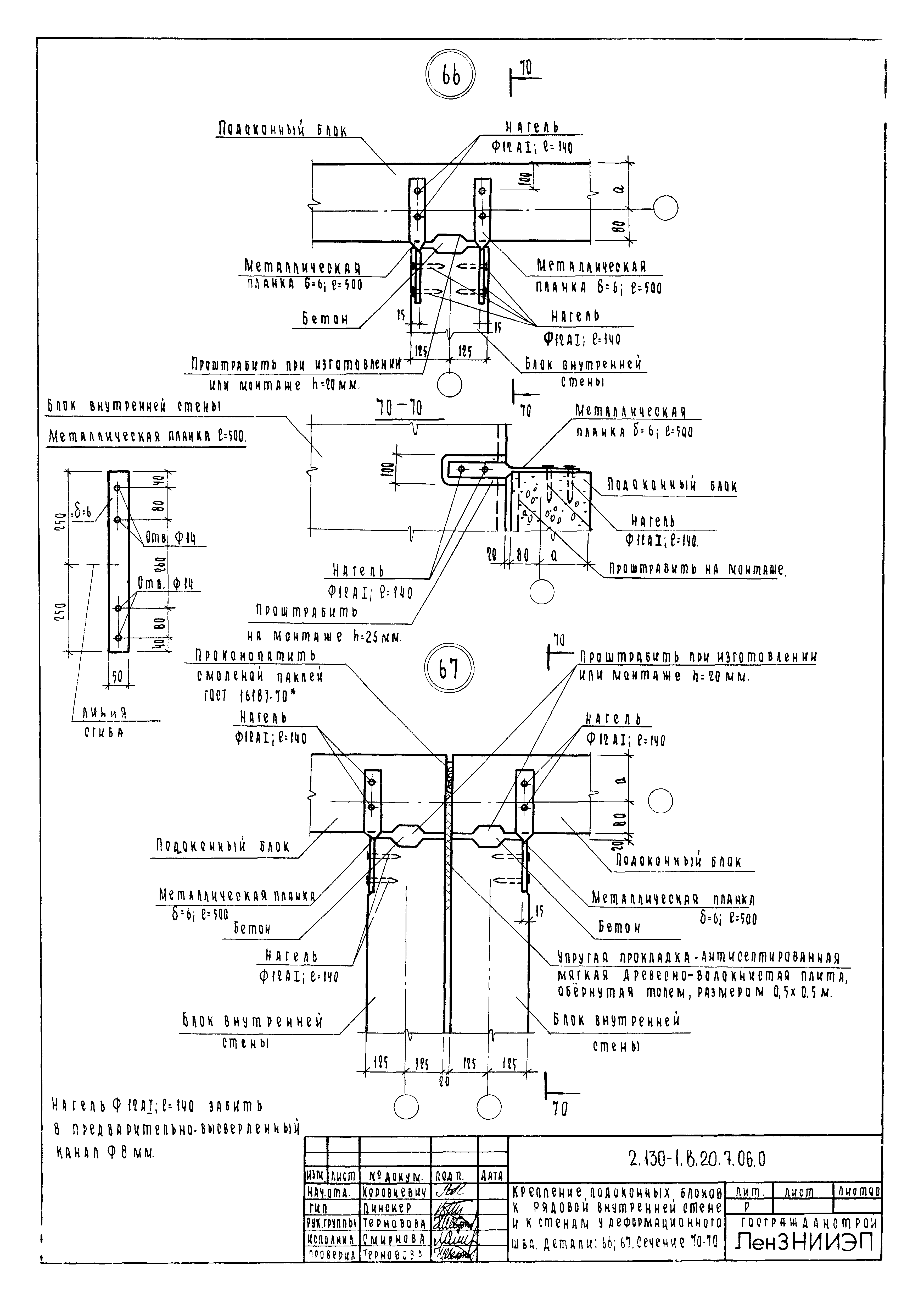
| Оглавление: | Опись выпуска Пояснительная записка Примеры монтажных схем крупнопанельных зданий. Маркировка узлов. Тип сопряжения I (винтовой анкер) Крепление наружных панелей к внутренним. Детали 1, 2 Сечение 1-1 Сечение 2-2 Сечение 3-3 Сечение 4-4 Крепление наружных панелей и панелей утеплителя к внутренним стенам. Детали 3, 4 Сечение 5-5 Сечение 6-6 Крепление наружных панелей утеплителя к перекрытию. Деталь 5. Сечение 7-7 Крепление наружных панелей и панелей утеплителя к внутренней стене лестничной клетки. Деталь 6. Сечение 8-8 Сечение 9-9 Крепление наружной панели и стенового блока лоджии к панели внутренней стены. Деталь 7. Сечение 10-10 Крепление наружной панели к торцевой внутренней стене с осевой и нулевой привязкой. Детали 8, 9 Сечение 11-11 Сечение 12-12 Крепление наружной стеновой панели к перекрытию. Деталь 10. Сечение 13-13 Крепление наружных панелей при осевой и нулевой привязке внутренних стен у деформационного шва. Детали 11. 12 Крепление наружных панелей при нулевой привязке внутренних стен у деформационного шва. Деталь 13. Сечение 14-14 Примеры монтажных схем крупнопанельных зданий. Маркировка узлов. Тип сопряжения II (винтовой анкер и петли) Крепление наружных панелей к внутренним. Детали 14, 15 Сечение 15-15 Сечение 16-16 Сечение 17-17 Сечение 18-18 Крепление наружных панелей и панелей утеплителя к внутренним стенам. Детали 16, 17 Сечение 19-19 Сечение 20-20 Крепление наружных панелей утеплителя к перекрытию. Деталь 18. Сечение 21-21 Крепление наружных панелей и панелей утеплителя к внутренней стене лестничной клетки. Деталь 19. Сечение 22-22 Сечение 23-23 Крепление наружной панели и стенового блока лоджии к панели внутренней стены. Деталь 20. Сечение 24-24 Крепление внутренних панелей к торцевым. Деталь 21. Сечение 25-25 Крепление наружных панелей при осевой привязке внутренних стен у деформационного шва. Деталь 22. Крепление наружной панели к торцевой внутренней стене с осевой привязкой. Деталь 23 Крепление наружных панелей при нулевой привязке внутренних стен у деформационного шва. Деталь 24. Сечение 26-26 Примеры монтажных схем крупнопанельных зданий. Маркировка узлов. Тип сопряжения III (замоноличенный анкер) Крепление наружных панелей к внутренним. Детали 25, 26 Сечение 27-27 Сечение 28-28 Сечение 29-29 Сечение 30-30 Крепление наружных панелей и панелей утеплителя к внутренним стенам. Детали 27, 28 Сечение 31-31 Сечение 32-32 Крепление наружных панелей и панелей утеплителя к внутренней стене лестничной клетки. Деталь 29. Сечение 33-33 Крепление наружной панели к торцевой внутренней стене с осевой привязкой. Деталь 10. Крепление наружных панелей при нулевой и осевой привязке внутренних стен у деформационного шва. Детали 31, 32 Сечение 34-34 Сечение 35-35 Примеры монтажных схем крупнопанельных зданий. Маркировка узлов. Тип сопряжения IV (замоноличенный анкер и петли) Крепление наружных панелей к внутренним. Детали 33, 34 Сечение 36-36 Сечение 37-37 Сечение 38-38 Крепление наружных панелей и панелей утеплителя к внутренним стенам. Детали 35, 36 Сечение 39-39 Сечение 40-40 Сечение 41-41 Крепление наружных панелей и панелей утеплителя к внутренней стене лестничной клетки. Деталь 37. Сечение 42-42 Крепление наружных панелей при осевой привязке внутренних стен у деформационного шва. Деталь 38. Крепление наружной панели к торцевой внутренней стене с осевой привязкой. Деталь 39 Крепление наружных панелей при нулевой привязке внутренних стен у деформационного шва. Деталь 40. Сечение 43-43 Примеры монтажных схем крупнопанельных зданий. Маркировка узлов. Тип сопряжения V (замоноличенный анкер и закладные детали) Крепление наружных панелей к внутренним. Детали 41, 42 Сечение 44-44 Сечение 45-45 Сечение 46-46 Сечение 47-47 Крепление наружных панелей и панелей утеплителя к внутренним стенам. Детали 43, 44 Сечение 48-48 Сечение 49-49 Крепление наружных панелей и панелей утеплителя к внутренней стене лестничной клетки. Деталь 45. Сечение 50-50 Крепление наружных панелей при осевой привязке внутренних стен у деформационного шва. Деталь 46. Крепление наружной панели к торцевой внутренней стене с осевой привязкой. Деталь 47 Крепление наружных панелей при нулевой привязке внутренних стен у деформационного шва. Деталь 48. Сечение 51-51 Примеры монтажных схем крупнопанельных зданий. Маркировка узлов. Тип сопряжения VI (вклеенный нагель) Крепление наружных панелей к внутренним. Детали 49, 50 Сечение 52-52 Сечение 53-53 Крепление наружных панелей и панелей утеплителя к внутренней стене лестничной клетки. Деталь 51. Сечение 54-54 Сечение 55-55 Крепление наружных панелей и панелей утеплителя к внутренним стенам. Детали 52, 53 Сечение 56-56 Сечение 57-57 Крепление наружной стеновой панели к перекрытию. Деталь 54. Сечение 58-58 Крепление наружных панелей утеплителя к перекрытию. Деталь 55. Сечение 59-59 Крепление торцевой стеновой панели к внутренней. Деталь 56. Сечение 60-60 Крепление наружной панели и стенового блока лоджии к панели внутренней стены. Деталь 57. Сечение 61-61 Крепление наружных панелей при осевой привязке внутренних стен у деформационного шва. Деталь 58. Крепление наружной панели к торцевой внутренней стене с осевой привязкой. Деталь 59 Сечение 62-62 Сечение 63-63 Крепление наружных панелей при нулевой привязке внутренних стен у деформационного шва. Деталь 60. Сечение 64-64 Пример монтажной схемы крупноблочного дома. Фрагмент А-А. Маркировка узлов Крепление наружных блоков. Деталь 61. Сечение 65-65 Крепление блоков наружной стены к внутренней стене. Деталь 62. Сечение 66-66 Крепление блоков наружной продольной стены к торцевой. Деталь 63. Сечение 67-67 Крепление подоконного блока к внутренней стене. Деталь 64. Сечение 68-68 Крепление подоконного блока и блока продольной наружной стены к внутренней. Деталь 65. Сечение 69-69 Крепление подоконных блоков к рядовой внутренней стене и к стенам у деформационного шва. Детали 66, 67. Сечение 70-70 Герметизация вертикальных стыков Герметизация вертикальных стыков (железобетонные несущие конструкции) Стык панелей утеплителя и торцевой вертикальный стык Герметизация горизонтальных стыков. Деталь А Установка оконных блоков, подоконных досок и балконных дверей |
| Разработан: | ЛенЗНИИЭП Госгражданстроя |
| Утверждён: | 19.06.1980 Госгражданстрой (Gosgrazhdanstroy 155) |
















































































































