Скачать Р 50-54-98-88 Надежность в технике. Программные испытания технологического оборудования. Общие требованияДата актуализации: 01.01.2021
|
| Обозначение: | Р 50-54-98-88 |
| Обозначение англ: | R 50-54-98-88 |
| Статус: | действует |
| Название рус.: | Надежность в технике. Программные испытания технологического оборудования. Общие требования |
| Дата добавления в базу: | 01.09.2013 |
| Дата актуализации: | 01.01.2021 |
| Дата введения: | 09.02.1988 |
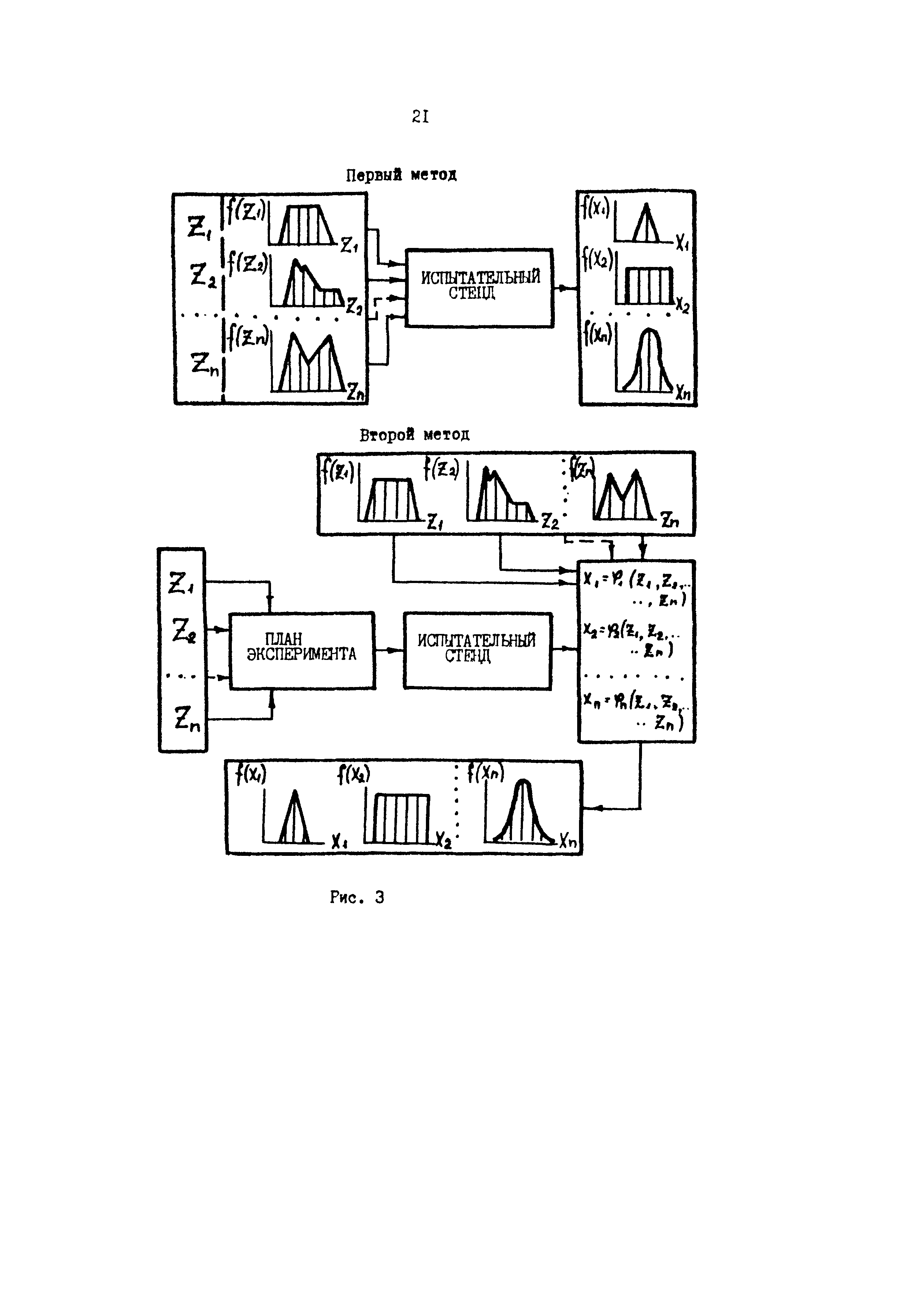
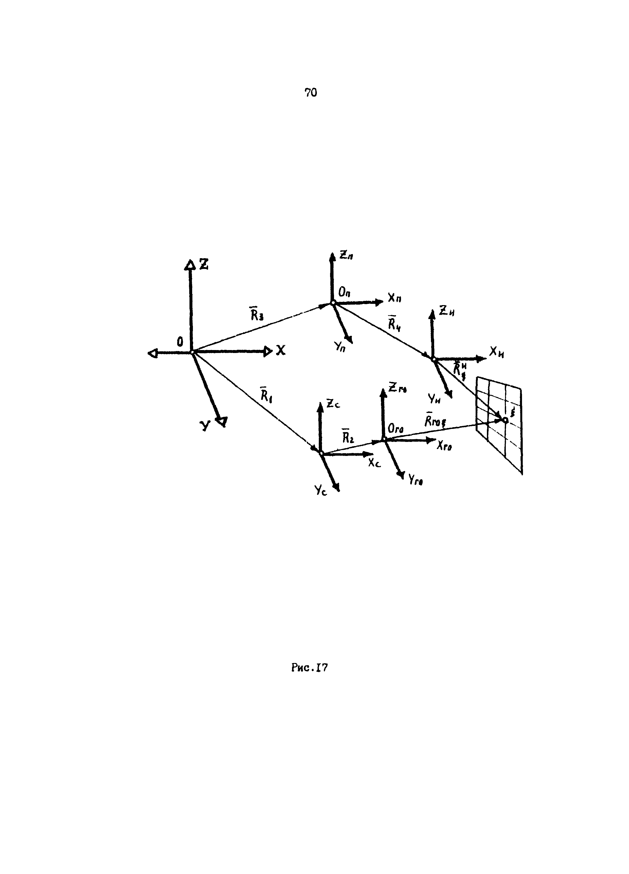
| Область применения: | В Рекомендациях рассмотрен комплексный метод испытания и диагностирования технологического оборудования по выходным параметрам, который получил название программного, поскольку одной из основных его особенностей является управление ходом испытаний по программе, заложенной в ЭВМ и отражающей весь диапазон режимов и условий эксплуатации ТО с учетом вероятностной природы внешних воздействий, а также применения специальных нагрузочных устройств, управляемых от ЭВМ. |
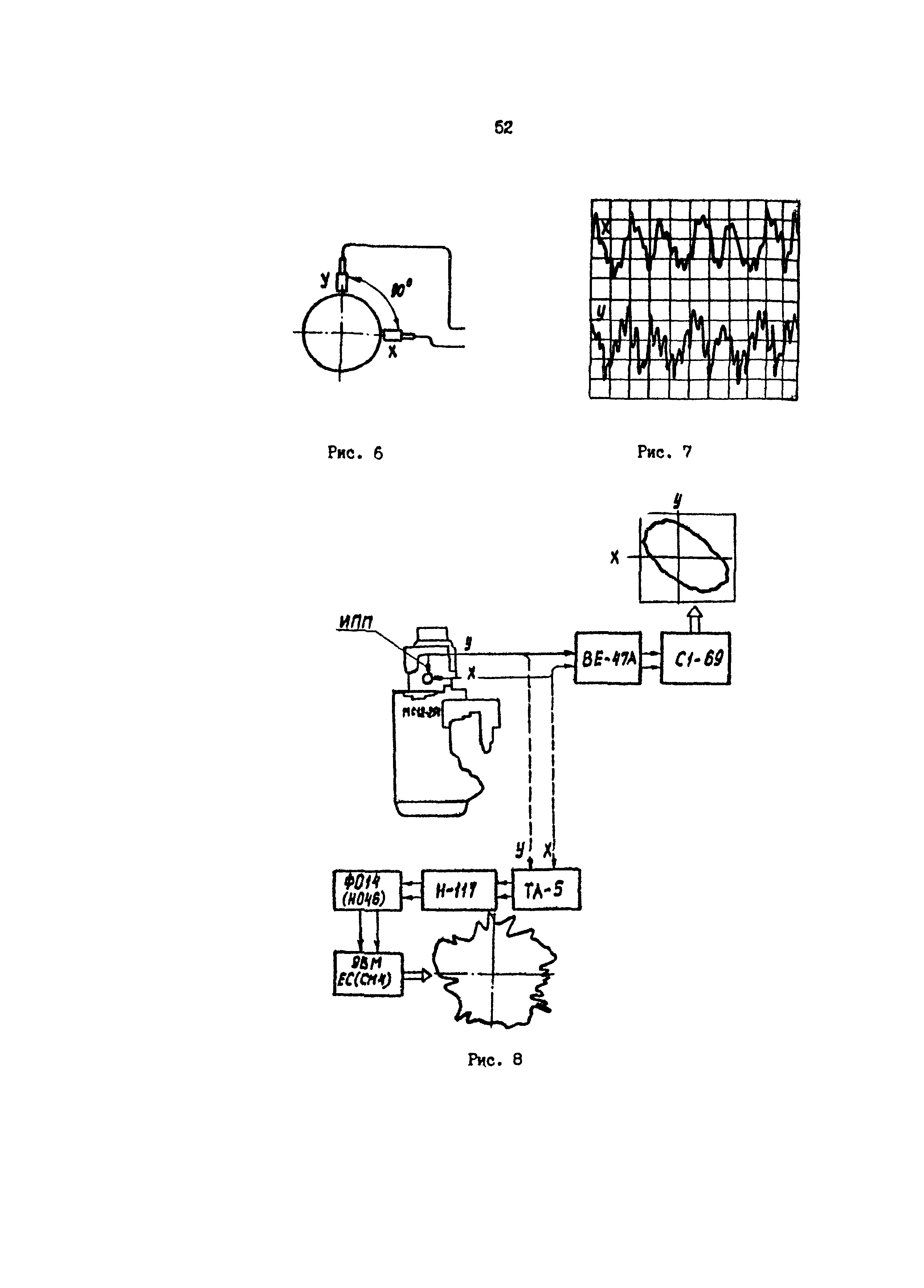
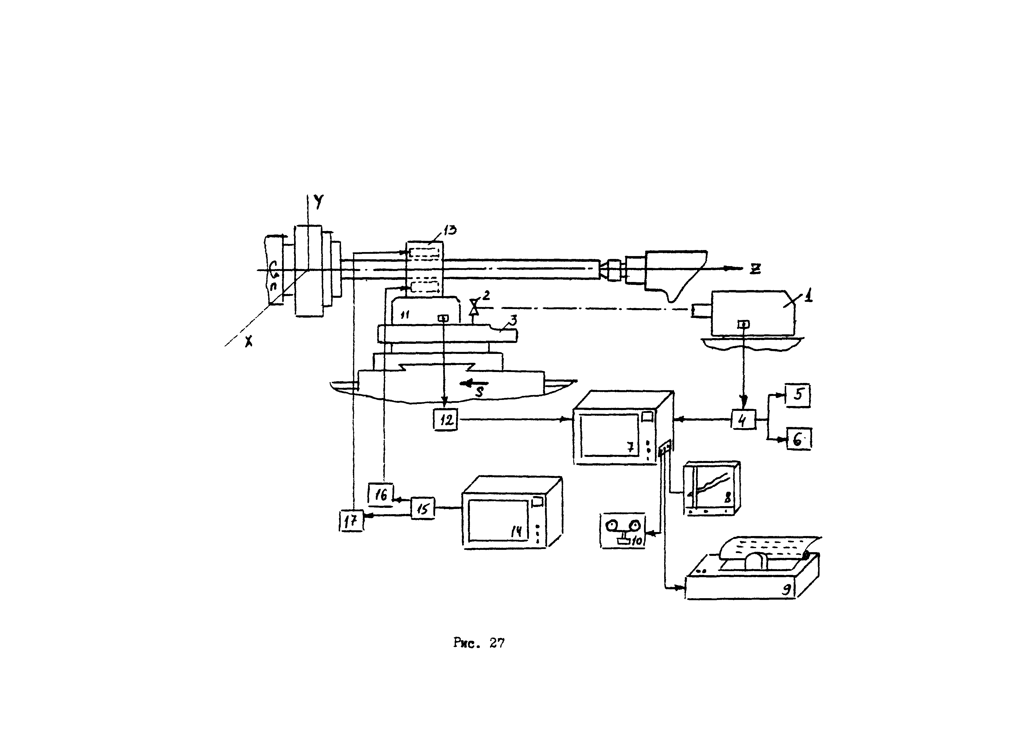
| Оглавление: | 1. Общие положения 2. Измеряемые выходные параметры, показатели начального качества и надежности 3. Методические основы и алгоритм программных испытаний 4. Структура испытательно-диагностического комплекса 5. Управление программным испытанием и программное обеспечение 6. Порядок проведения испытаний, оценка показателей качества 7. Прогнозирование показателей параметрической надежности Приложения: 1. Выбор ЭВМ для испытательно-диагностического комплекса 2. Аппаратура для измерения траектории вращательного движения 3. Аппаратура для измерения тепловых полей 4. Программные нагрузочные устройства 5. Испытательно-диагностический комплекс на базе мини-ЭВМ ИСКРА 226 для испытания многоцелевых станков с ЧПУ 6. Испытательно-диагностический комплекс на базе микро-ЭВМ ЭЛЕКТРОНИКА ДЗ-28 для программных испытаний многоцелевых станков с ЧПУ 7. Испытательно-диагностический комплекс на базе двух микро-ЭВМ ИСКРА 1256 для программного испытания суппортной группы токарных станков Литература Информационные данные |
| Разработан: | МВТУ им. Н.Э. Баумана |
| Утверждён: | 09.02.1988 ВНИИНМАШ (VNIINMASH 37) |
| Издан: | Ротапринт ВНИИНМАШ (1988 г. ) |
| Нормативные ссылки: |


































































































