Скачать РД 50-231-81 Методические указания. Методы базирования штампов на прессах простого и двойного действия

Дата актуализации: 01.01.2021

РД 50-231-81

Методические указания. Методы базирования штампов на прессах простого и двойного действия

Обозначение: РД 50-231-81
Обозначение англ: RD 50-231-81
Статус:введен впервые
Название рус.:Методические указания. Методы базирования штампов на прессах простого и двойного действия
Дата добавления в базу:01.09.2013
Дата актуализации:01.01.2021
Дата введения:01.01.1982
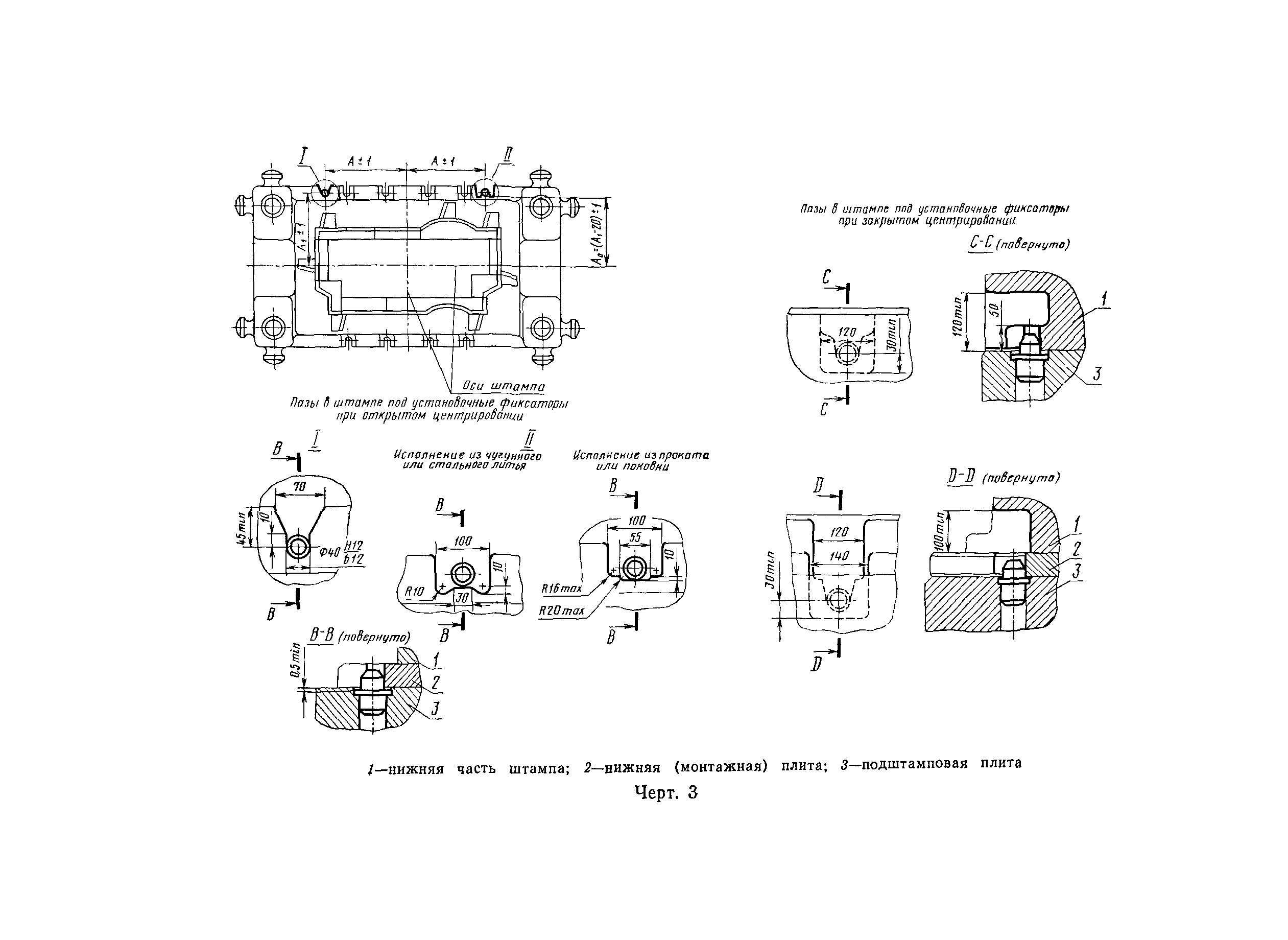
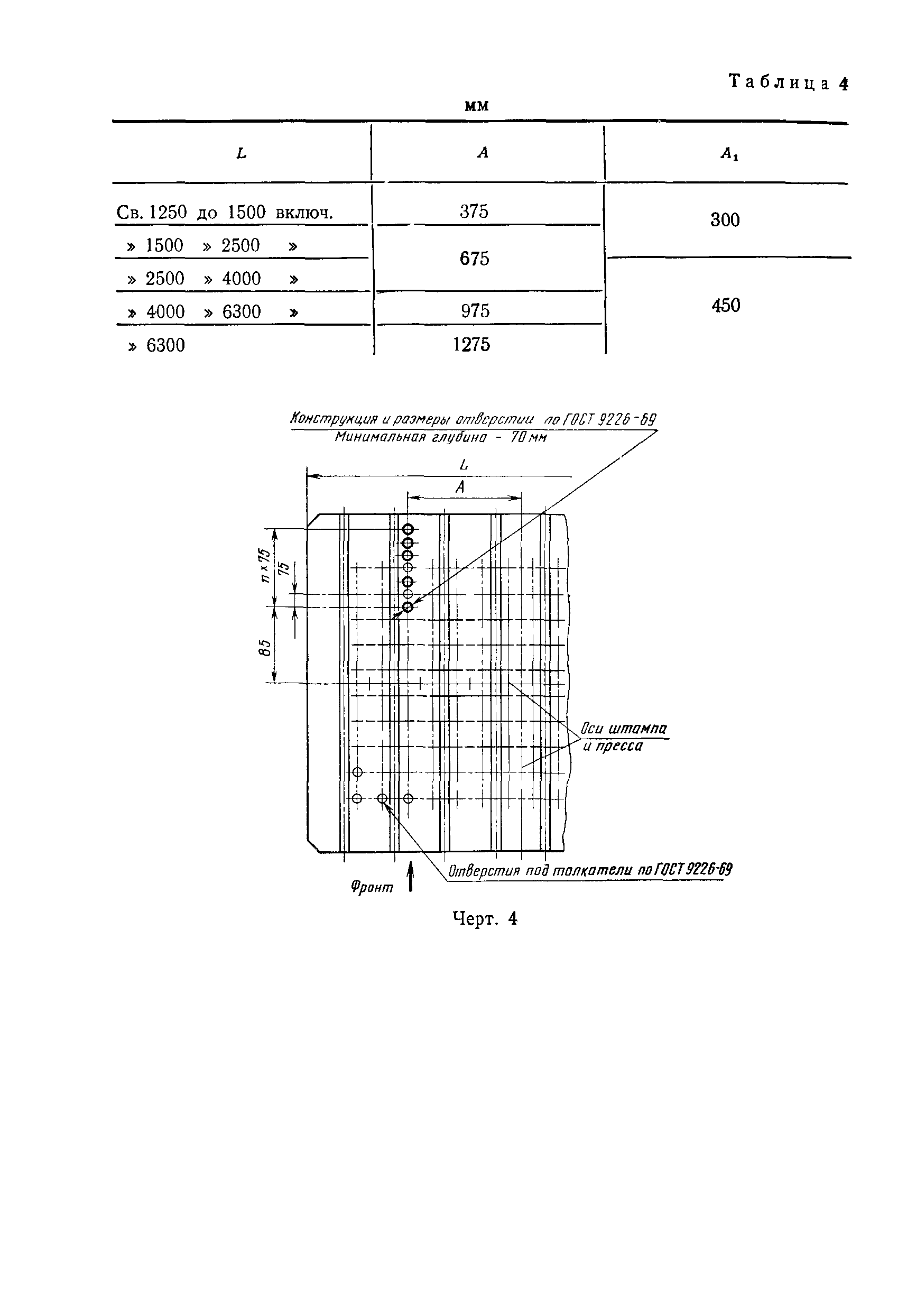
Область применения:Методические указания устанавливают методы базирования штампов листовой штамповки при их установке на закрытых прессах простого и двойного действия.
Разработан: Министерство станкостроительной и инструментальной промышленности
Утверждён:20.01.1981 Госстандарт СССР (USSR Gosstandart 104)
Издан: Издательство стандартов (1981 г. )
Нормативные ссылки:
РД 50-231-81РД 50-231-81РД 50-231-81РД 50-231-81РД 50-231-81РД 50-231-81РД 50-231-81РД 50-231-81РД 50-231-81