Скачать РД РТМ 26-07-227-79 Форма, размеры и коэффициенты сопротивления проточной части корпусов литой трубопроводной арматуры с патрубками, расположенными на одной оси с уменьшенным и усредненным диаметром седлаДата актуализации: 01.01.2021 РД РТМ 26-07-227-79
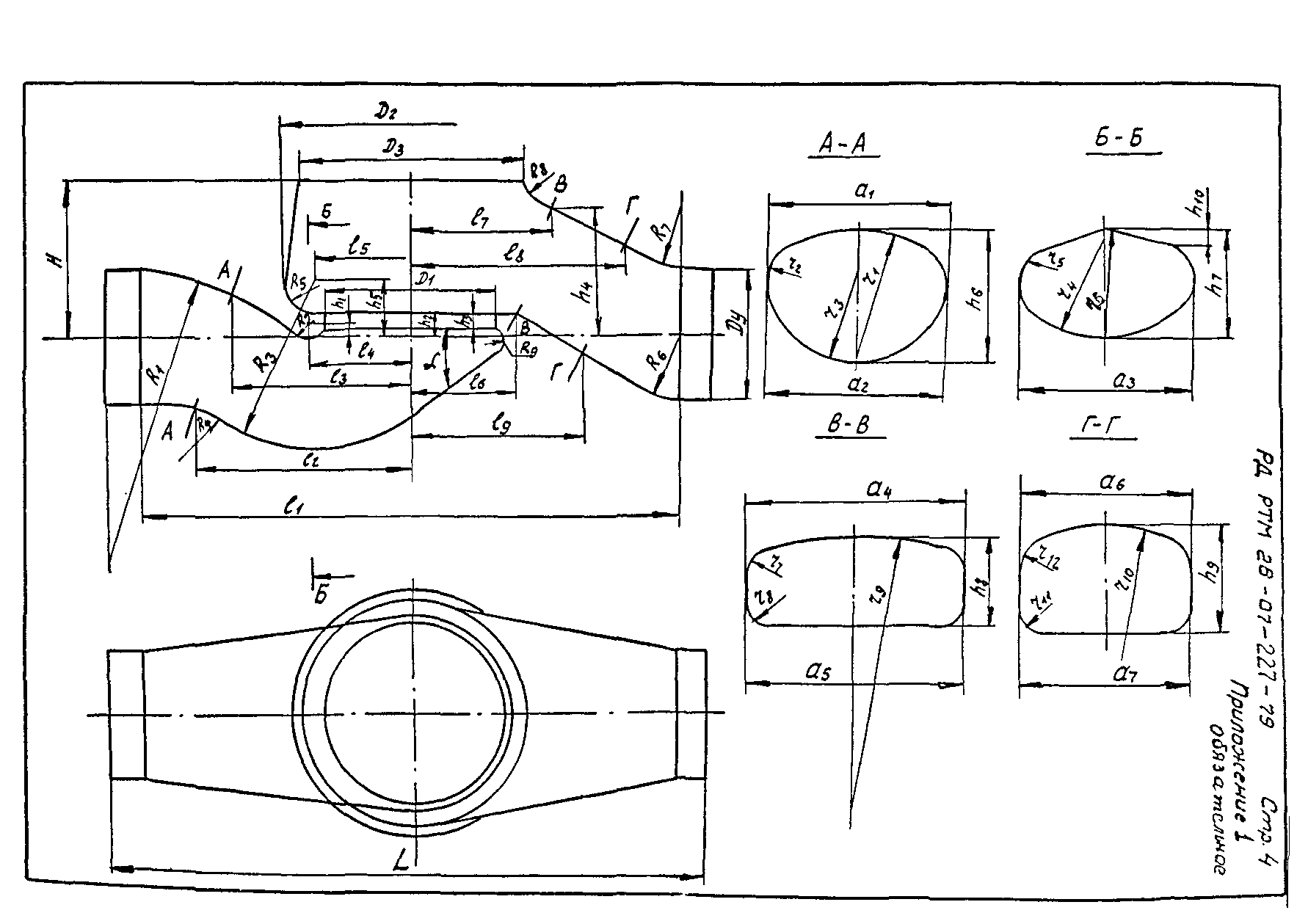
Форма, размеры и коэффициенты сопротивления проточной части корпусов литой трубопроводной арматуры с патрубками, расположенными на одной оси с уменьшенным и усредненным диаметром седла| Обозначение: | РД РТМ 26-07-227-79 | | Обозначение англ: | RD RTM 26-07-227-79 | | Статус: | заменен | | Название рус.: | Форма, размеры и коэффициенты сопротивления проточной части корпусов литой трубопроводной арматуры с патрубками, расположенными на одной оси с уменьшенным и усредненным диаметром седла | | Дата добавления в базу: | 01.09.2013 | | Дата актуализации: | 01.01.2021 | | Дата введения: | 01.08.1979 | | Дата окончания срока действия: | 01.01.2008 | | Область применения: | Документ распространяется на запорные и обратные подъемные клапаны чугунные проходные на давление Ру 1,6:2.5 МПа ( от 16 до 25 кгс/см2), Ду от 15 до 80, сильфонные и сальниковые с любым видом уплотнения по штоку и в затворе, применяемые для различных сред. | | Оглавление: | Приложение 1 Приложение 2 | | Разработан: | ЦКБА
| | Утверждён: | 30.07.1979 ЦКБА
|
     
|