Скачать РД 45.023-98 Средства измерений электросвязи. Методические указания по поверке анализатора цифровых сигналов типа INTERCEPTOR 147, анализатора ИКМ-30 типа К4304, измерителя параметров телефонных каналов типа РСМ-1Дата актуализации: 01.01.2021
|
| Обозначение: | РД 45.023-98 |
| Обозначение англ: | RD 45.023-98 |
| Статус: | действует |
| Название рус.: | Средства измерений электросвязи. Методические указания по поверке анализатора цифровых сигналов типа INTERCEPTOR 147, анализатора ИКМ-30 типа К4304, измерителя параметров телефонных каналов типа РСМ-1 |
| Дата добавления в базу: | 01.09.2013 |
| Дата актуализации: | 01.01.2021 |
| Дата введения: | 01.09.1999 |
| Область применения: | Руководящий документ предназначен для методической помощи при поверке приборов, закупленных предприятиями связи за рубежом в предыдущие годы и не проходивших испытания для целей утверждения типа. Поверке по приведенным в данном РД методикам могут быть подвергнуты конкретные экземпляры средств измерения, имеющие свидетельства метрологической аттестации по ГОСТ 8.326-89. |
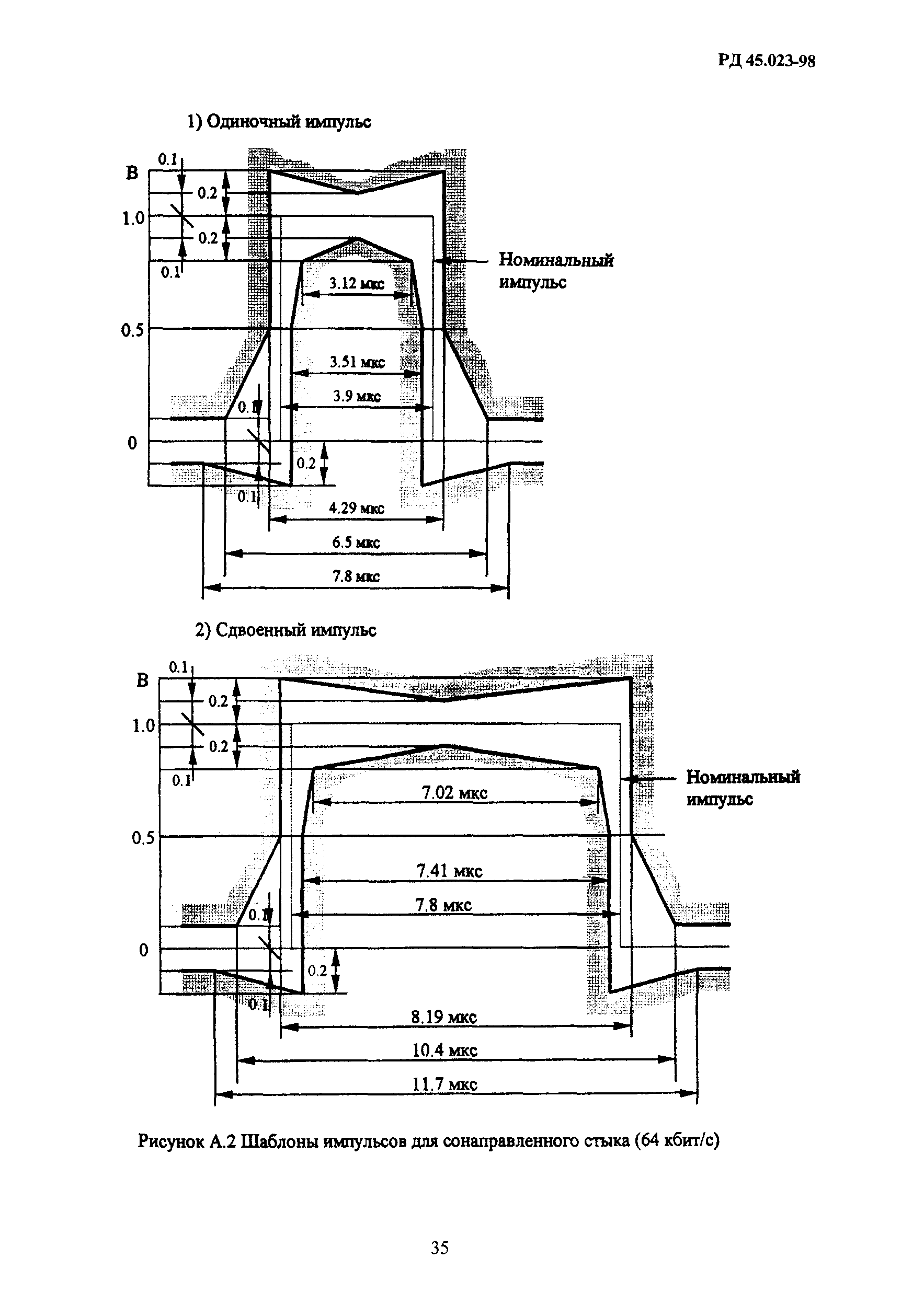
| Оглавление: | 1 Область применения 2 Нормативные ссылки 3 Общие требования 4 Подготовка к поверке 5 Методика поверки анализатора цифровых сигналов 2 Мбит/с и передачи данных типа INTERCEPTOR 147 6 Методика поверки анализатора ИКМ-30 типа К4304 7 Методика поверки измерителя параметров телефонных каналов типа РСМ-1 Приложение А Шаблоны импульсов для типовых стыков цифровыхканалов и трактов Приложение Б Коды цифровых сигналов |
| Разработан: | ЦНИИС Госкомсвязи России |
| Утверждён: | 11.08.1999 Госкомсвязи России (4827) |
| Издан: | ЦНТИ Информсвязь (1999 г. ) |
| Нормативные ссылки: |
|










































