Скачать РД 50-408-83 Методические указания. Методика выполнения голографических интерференционных измерений с устранением спекл-шумаДата актуализации: 01.01.2021
|
| Обозначение: | РД 50-408-83 |
| Обозначение англ: | RD 50-408-83 |
| Статус: | действует |
| Название рус.: | Методические указания. Методика выполнения голографических интерференционных измерений с устранением спекл-шума |
| Дата добавления в базу: | 01.09.2013 |
| Дата актуализации: | 01.01.2021 |
| Дата введения: | 01.07.1984 |
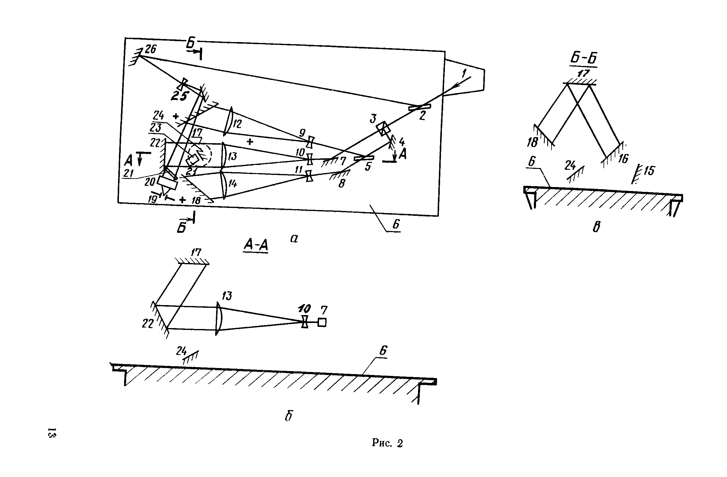
| Область применения: | Методические указания предназначены для устранения спекл-шума в голографической интерферометрии при выполнении измерений в диффузно-когеррентном излучении, что позволяет получать интерферограммы с повышенным контрастом интерференционных полос. Методические указания распространяются на все виды голографических интерференционных измерений, в которых исследуются диффузно отражающие объекты. Одно из основных применений - получение информации о распределении смещений по поверхности деформируемого объекта, необходимой для расчета полей смещений и деформаций различных материалов и изделий. |
| Оглавление: | 1. Введение 2. Принцип измерений 3. Средства измерений 4. Подготовка и проведение измерений 5. Требования к квалификации операторов и к технике безопасности Приложение 1 Средства измерений, материалы и вспомогательные устройства Приложение 2 Оценка контраста спекл-шума после оптической фильтрации Приложение 3 Измерение распределения смещений и деформаций диффузно отражающих объектов с плоской поверхностью методом голографической интерферометрии с устранением спекл-шума |
| Разработан: | Госстандарт СССР |
| Утверждён: | 31.05.1983 Госстандарт СССР (USSR Gosstandart 2450) |
| Издан: | Издательство стандартов (1984 г. ) |
| Нормативные ссылки: |
|
























