Скачать Серия 5.904-45 Узлы прохода вентиляционных вытяжных шахт через покрытия зданий. Узлы прохода общего назначения. Рабочие чертежиДата актуализации: 01.01.2021
|
| Обозначение: | Серия 5.904-45 |
| Обозначение англ: | Series 5.904-45 |
| Статус: | не определен законодательством |
| Название рус.: | Узлы прохода вентиляционных вытяжных шахт через покрытия зданий. Узлы прохода общего назначения. Рабочие чертежи |
| Дата добавления в базу: | 01.09.2013 |
| Дата актуализации: | 01.01.2021 |
| Дата введения: | 01.08.1988 |
| Дата окончания срока действия: | 30.06.2003 |
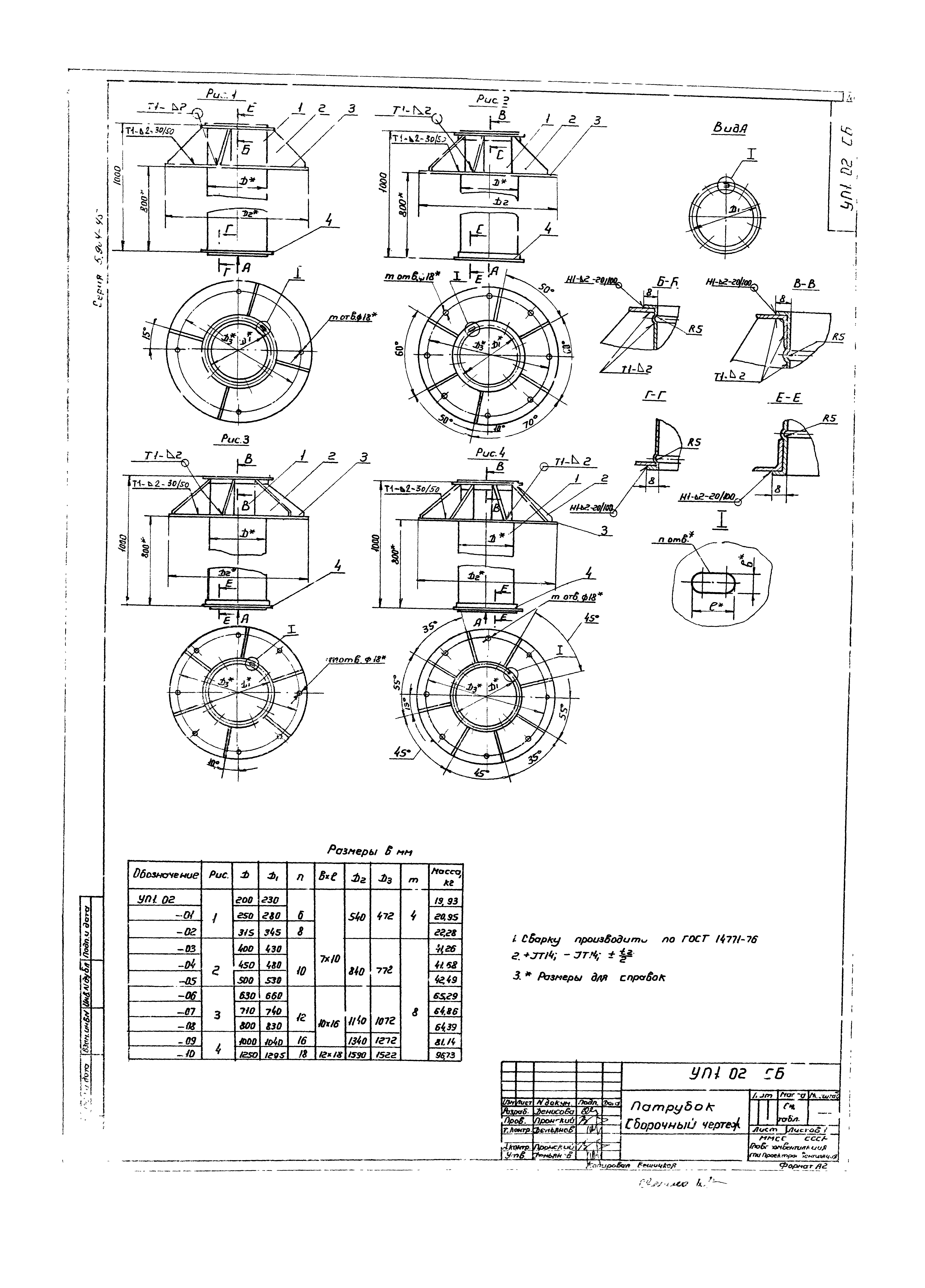
| Оглавление: | Титульный лист Содержание УП.Д Указание по монтажу УП.ТУ Технические условия УП1 Спецификация УП2.02.02.01 Кольцо. Деталь УП2.02.02.02 Втулка. Деталь УП1СБ Узел прохода. Сборочный чертеж УП1.00.01 Шайба. Деталь УП1.00.02 Прокладка. Деталь УП2.01.02 Кольцо. Деталь УП1.01 Кронштейн. Спецификация УП1.01.СБ Кронштейн. Сборочный чертеж УП1.01.00.01 Тяга. Деталь УП1.01.00.03 Штырь. Деталь УП1.01.00.04 Плита. Деталь Уп1.01.00.06 Косынка. Деталь УП1.01.00.05 Шайба. Деталь УП1.01.00.02 Труба. Деталь УП1.02 Патрубок. Спецификация УП1.02.СБ Патрубок. Сборочный чертеж УП1.02.01 Патрубок. Деталь УП1.02.02 Ребро. Деталь УП!.02.03 Кольцо. Деталь УП1.03.01 Тяга. Деталь УП1.03 Хомут. Спецификация УП1.03.СБ Хомут. Сборочный чертеж УП1.03.02 Серьга. Деталь УП1.03.03 Ухо. Деталь УП1.03.04 Полухомут. Деталь УП2 Узел прохода. Спецификация УП2.СБ Узел прохода. Сборочный чертеж УП2.01 Патрубок. Спецификация УП2.01.01 Патрубок. Деталь УП2.01.СБ Патрубок. Сборочный чертеж УП2.02 Клапан. Спецификация УП2.02.02.СБ Кольцо. Деталь УП2.02СБ Клапан. Сборочный чертеж УП2.02.01 Клапан. Спецификация УП2.02.01.СБ Клапан. Сборочный чертеж УП2.02.01.02 Диск. Деталь УП2.02.01.03 Обечайка. Деталь УП2.02.01.04 Ребро. Деталь УП2.02.01.01 Втулка. Деталь УП2.02.02.003 Тяга. Деталь УП2.02.001 Угольник. Деталь УП2.02.002 Втулка. Деталь УП2.00.01 Планка. Деталь УП2.00.02 Планка. Деталь УП2.00.03 Прокладка. Деталь УП2.00.04 Ось. Деталь УП2.00.05 Прокладка. Деталь УП2.00.06 Полукольцо. Деталь УП2.01.03 Шайба. Деталь УП2.03 Направляющая. Спецификация УП2.03.СБ Направляющая. Сборочный чертеж УП2.03.02 Ось. Деталь УП2.03.01 Бобышка. Деталь УП3 Узел прохода. Спецификация УП3.СБ Узел прохода. Сборочный чертеж УП3.01 Клапан. Спецификация УП3.01.01 Кронштейн. Спецификация УП3.01.СБ Клапан. Сборочный чертеж УП3.01.01.СБ Кронштейн. Сборочный чертеж УП3.01.01.01 Крышка. Деталь УП3.01.01.02 Труба. Деталь УП3.01.01.03 Пластина. Деталь УП3.01.02 Корпус. Спецификация УП3.01.02.СБ Корпус. Сборочный чертеж УП3.01.02.01 Фланец. Деталь УП3.01.02.02 Пластина. Деталь УП3.02 Патрубок. Спецификация УП3.01.02.03 Косынка. Деталь УП3.02.СБ Патрубок. Сборочный чертеж УП3.01.00.03 Ось. Деталь УП3.01.00.01 Втулка. Деталь УП3.01.00.02 Втулка. Деталь УП3.01.00.04 Ось. Деталь УП4 Узел прохода. Спецификация УП4.СБ Узел прохода. Сборочный чертеж |
| Разработан: | ГПИ Проектпромвентиляция |
| Утверждён: | 14.03.1988 Госстрой СССР (Государственный комитет Совета Министров СССР по делам строительства) (USSR Gosstroy 13) |
| Заменяет собой: |






















































