Скачать ОСТ 26-2040-96 Шпильки для фланцевых соединений. Конструкция и размерыДата актуализации: 01.01.2021
|
| Обозначение: | ОСТ 26-2040-96 |
| Обозначение англ: | OST 26-2040-96 |
| Статус: | не определен законодательством |
| Название рус.: | Шпильки для фланцевых соединений. Конструкция и размеры |
| Дата добавления в базу: | 01.09.2013 |
| Дата актуализации: | 01.01.2021 |
| Дата введения: | 01.04.1997 |
| Дата окончания срока действия: | 30.06.2003 |
| Область применения: | Стандарт распространяется на шпильки для фланцевых соединений трубопроводов и соединительных частей, арматуры, приборов, сосудов и аппаратов, применяемых в химической, нефтеперерабатывающей, нефтехимической, газовой, нефтяной и других смежных отраслях промышленности на условное давление Ру до 2,5 МПа (25 кгс/см2) и температуру от минус 70 до 600 градусов С. |
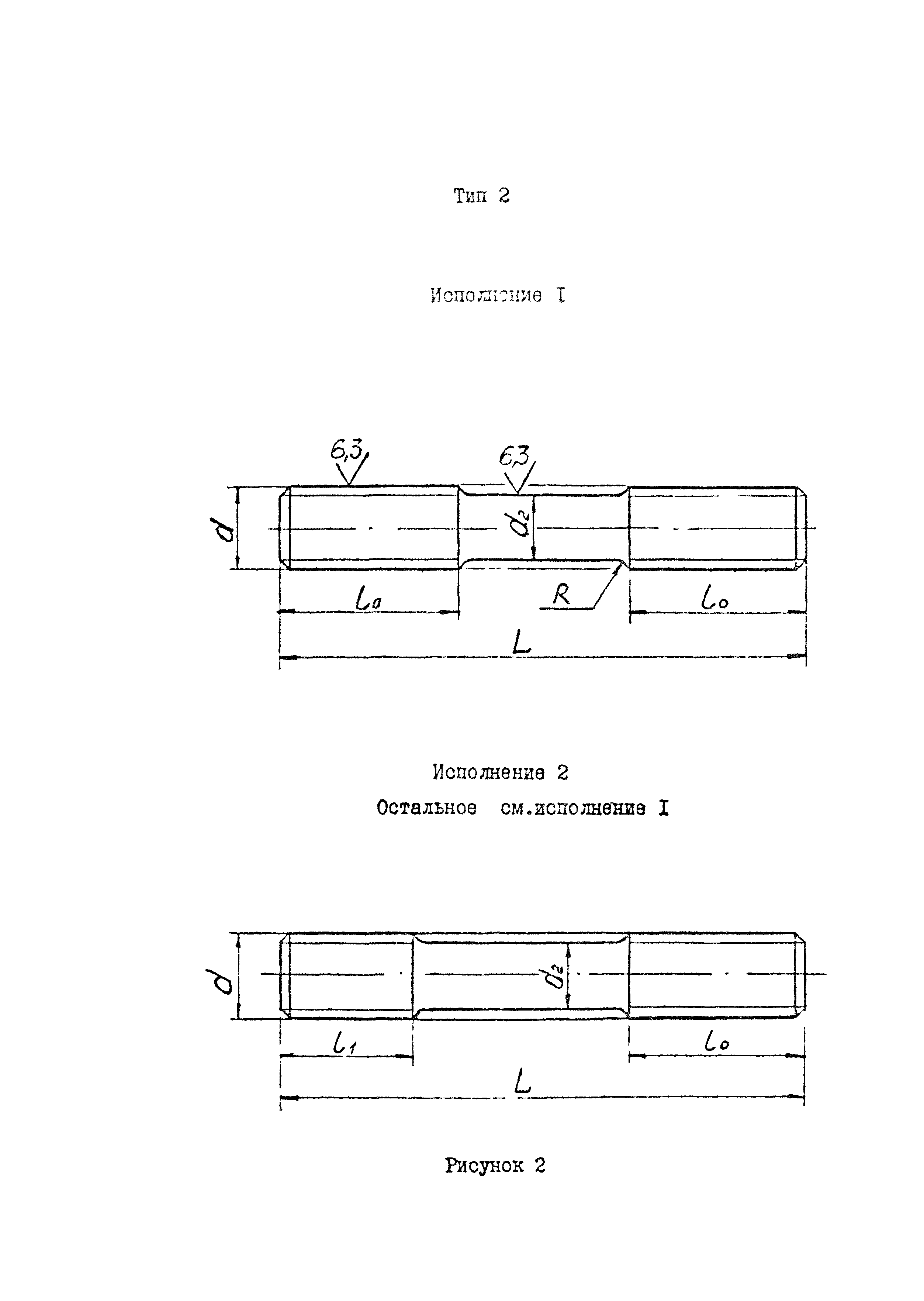
| Оглавление: | 1 Область применения 2 Нормативные ссылки 3 Конструкция и размеры Приложение А Масса шпилек типа I, выполненных способом нарезки, с крупным шагом резьбы Приложение Б Масса шпилек типа I, выполненных способом нарезки, с мелким шагом резьбы Приложение В Масса шпилек типа I, выполненных способом накатки, с крупным шагом резьбы Приложение Г Масса шпилек типа I, выполненных способом накатки, с мелким шагом резьбы Приложение Д Масса шпилек типа 2, выполненных способом нарезки и накатки, с крупным шагом резьбы Приложение Е Масса шпилек типа 2, выполненных способом нарезки и накатки, с мелким шагом резьбы |
| Разработан: | АО ЦКБН |
| Утверждён: | 24.03.1997 АО ЦКБН (TsKBN AO 4) |
| Список изменений: | |
| Заменяет собой: |
|
| Нормативные ссылки: |
|





































