Скачать ОСТ 26-2001-83 Люки со скобой стальных сварных сосудов и аппаратов. Конструкция и размерыДата актуализации: 01.01.2021
|
| Обозначение: | ОСТ 26-2001-83 |
| Обозначение англ: | OST 26-2001-83 |
| Статус: | не определен законодательством |
| Название рус.: | Люки со скобой стальных сварных сосудов и аппаратов. Конструкция и размеры |
| Дата добавления в базу: | 01.09.2013 |
| Дата актуализации: | 01.01.2021 |
| Дата введения: | 01.01.1984 |
| Дата окончания срока действия: | 30.06.2003 |
| Область применения: | Стандарт распространяется на люки со скобой, устанавливаемые вертикально в верхней части стальных сварных сосудов и аппаратов, работающих при атмосферном давлении и температуре от минус 60 до 200 градусов С. |
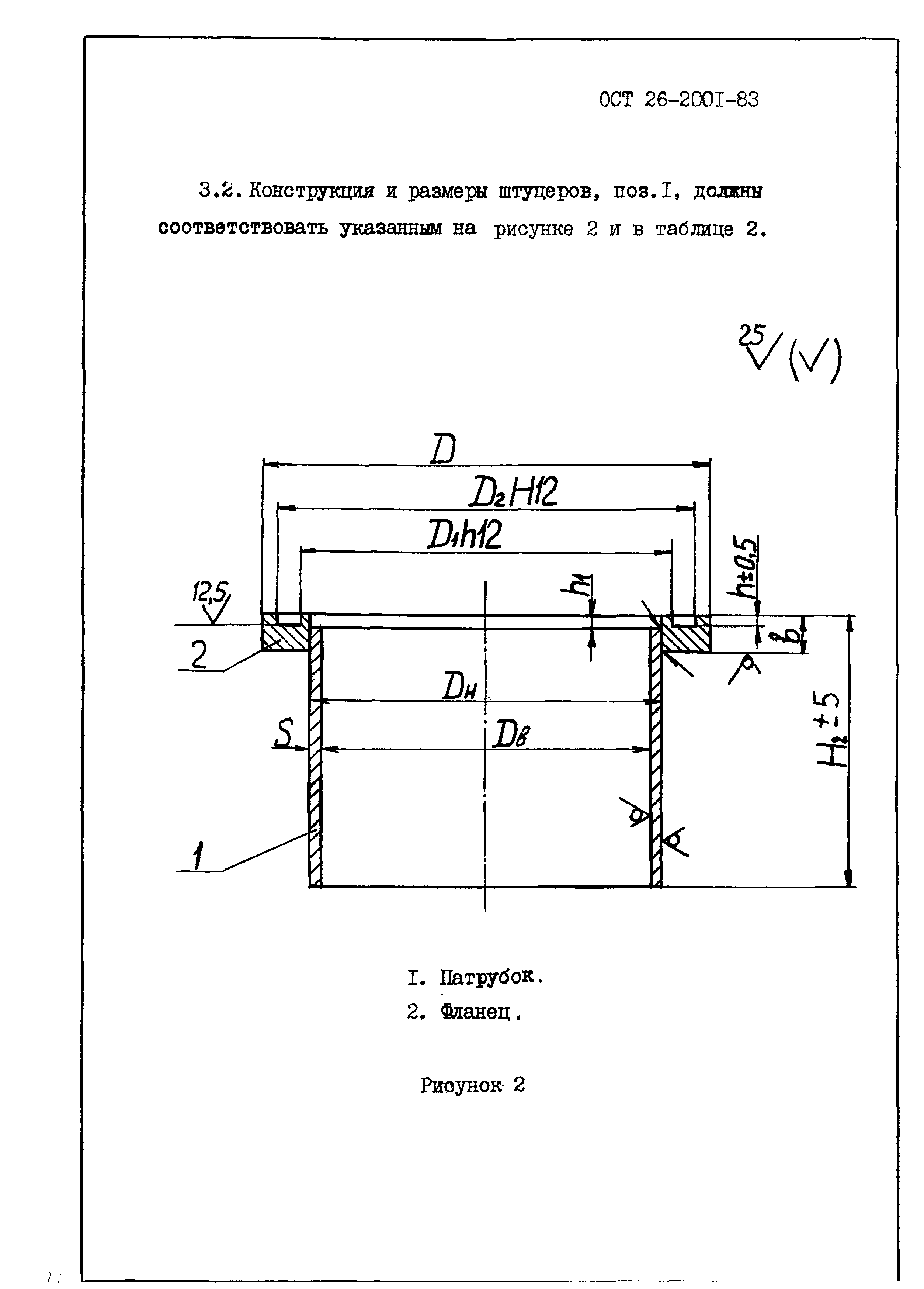
| Оглавление: | 1. Область применения 2. Нормативные ссылки 3. Конструкция и основные размеры Приложение А Масса люков и их деталей |
| Разработан: | НИИхиммаш ВНИИнефтемаш ЦКБН (Центральное конструкторское бюро нефтеаппаратуры) |
| Утверждён: | 20.03.1983 Министерство химического и нефтяного машиностроения СССР (USSR Ministry of Chemical and Petroleum Machine Manufacturing ) |
| Список изменений: | |
| Заменяет собой: |
|
| Нормативные ссылки: |




















Текстовое изменение № 5 от 01.08.1998