Скачать Серия 1.436.3-21 Выпуск 3. Механизмы открывания. Рабочие чертежиДата актуализации: 01.01.2021
|
| Обозначение: | Серия 1.436.3-21 |
| Обозначение англ: | Series 1.436.3-21 |
| Статус: | не определен законодательством |
| Название рус.: | Выпуск 3. Механизмы открывания. Рабочие чертежи |
| Дата добавления в базу: | 01.09.2013 |
| Дата актуализации: | 01.01.2021 |
| Дата введения: | 01.11.1987 |
| Дата окончания срока действия: | 30.06.2003 |
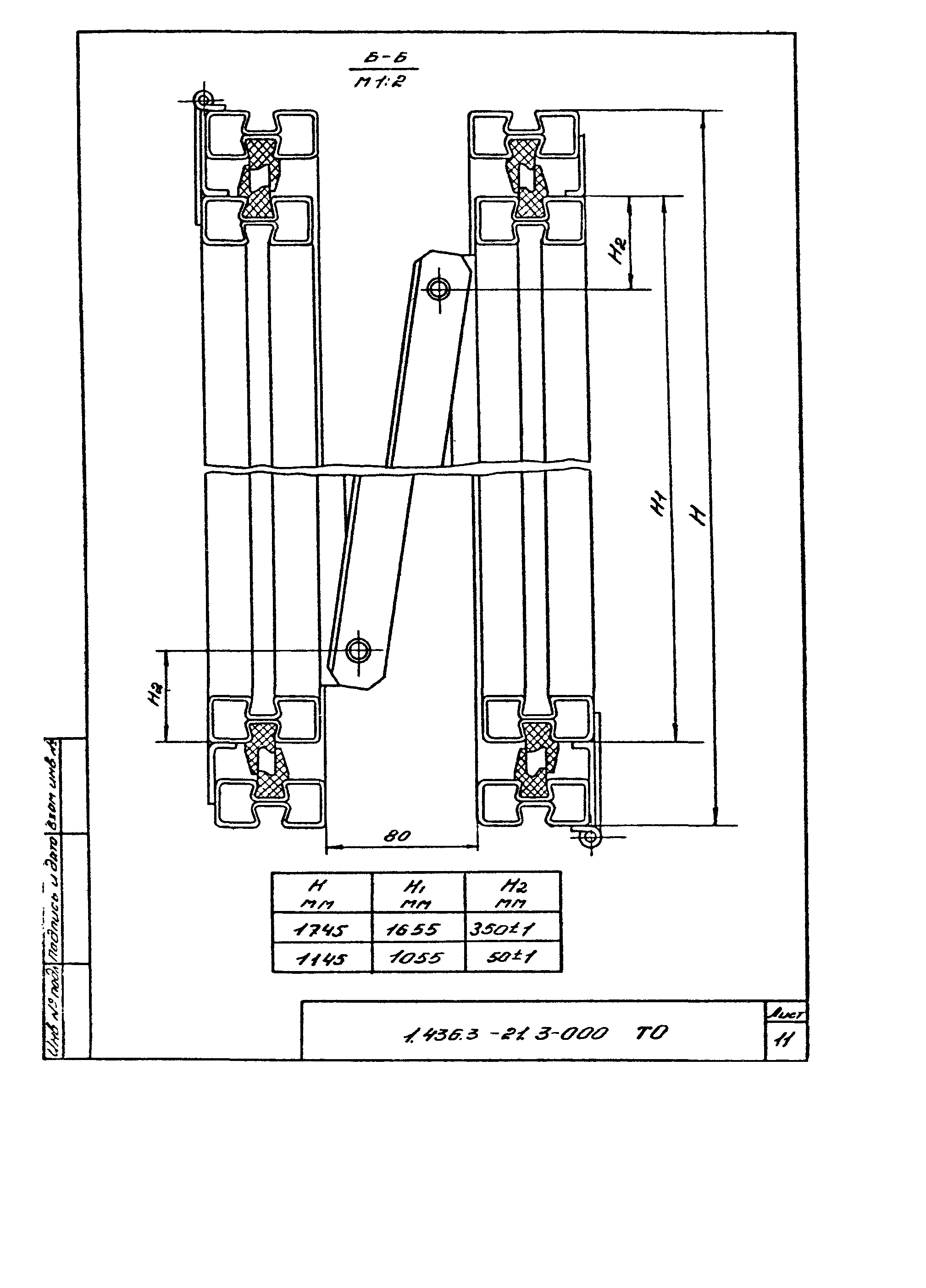
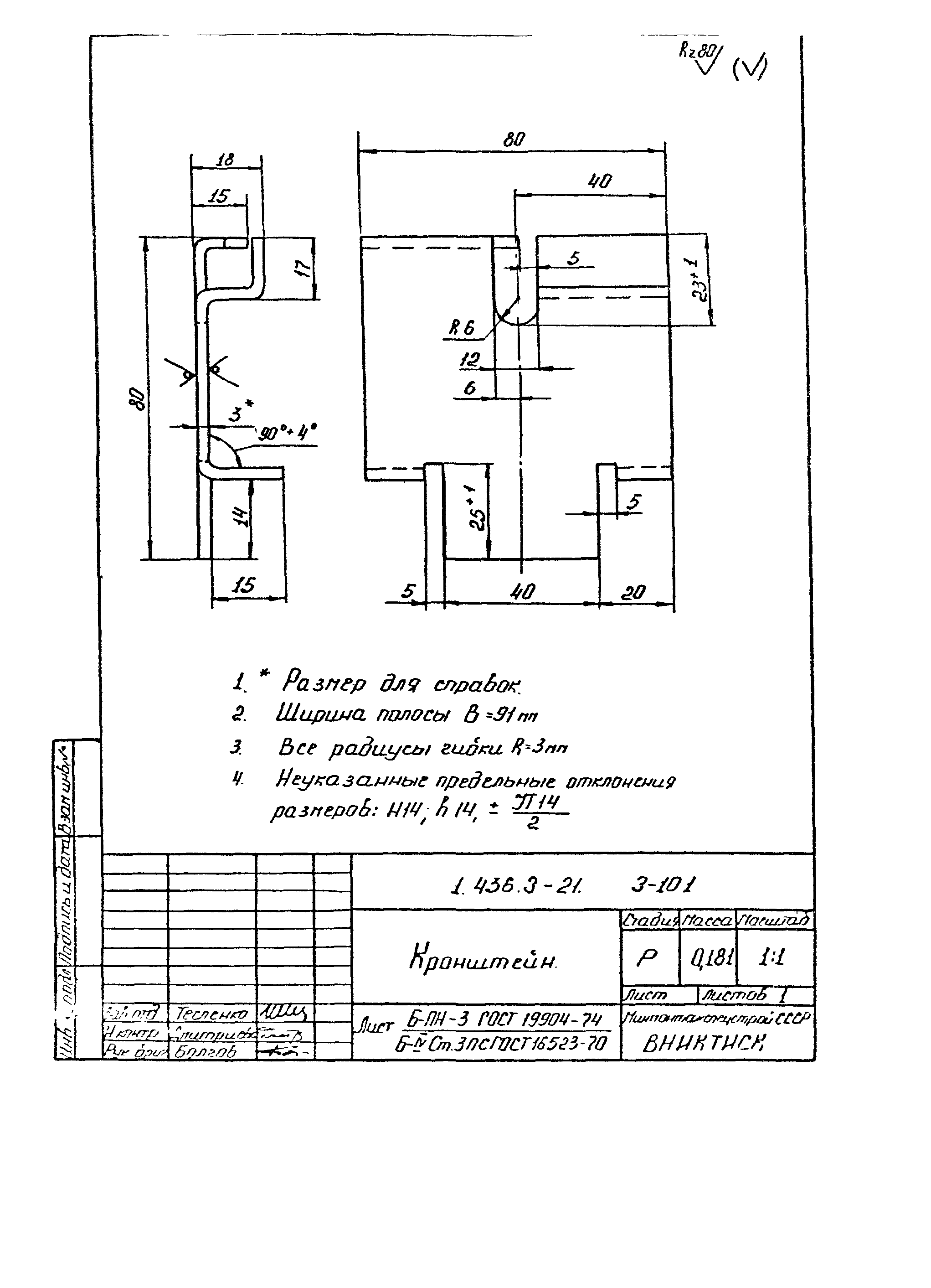
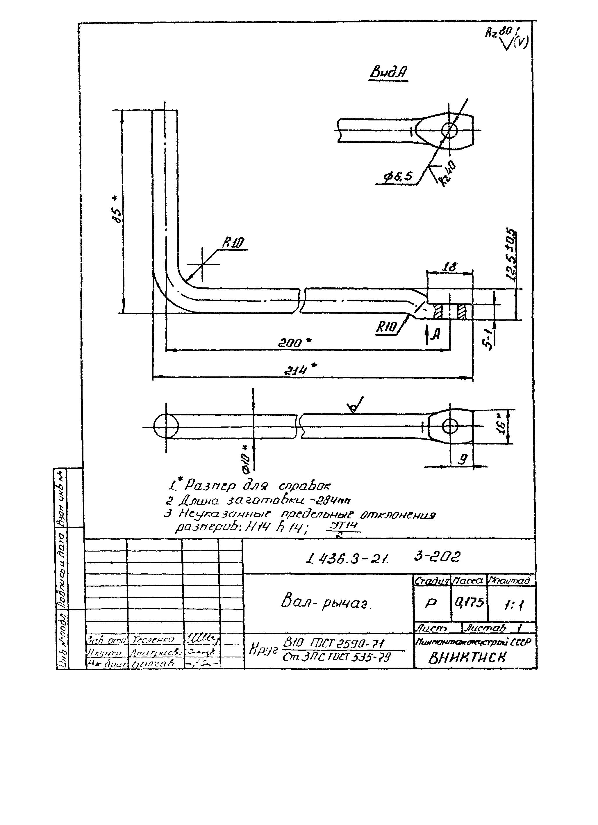
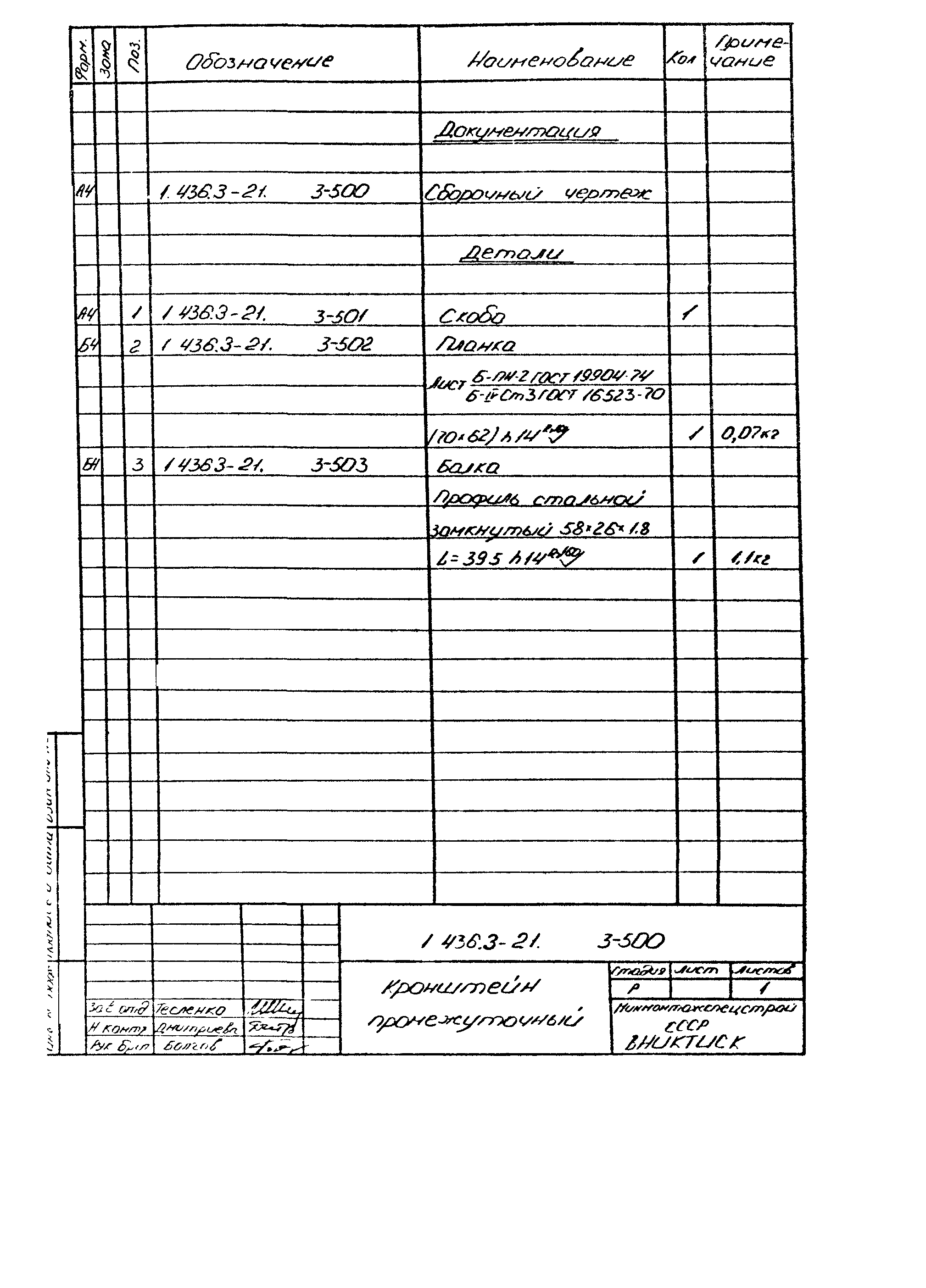
| Оглавление: | 1.436.3-21.3-000ТО Техническое описание 1.436.3-21.3-000ТТ Технические требования 1.436.3-21.3-100 Прибор-стержень 1.436.3-21.3-100СБ Прибор-стержень. Сборочный чертеж 1.436.3-21.3-101 Кронштейн 1.436.3-21.3-102 Стержень 1.436.3-21.3-103 Уголок 1.436.3-21.3-104 Шайба 1.436.3-21.3-200 Механизм рычажный МР1 1.436.3-21.3-200СБ Механизм рычажный МР1. Сборочный чертеж 1.436.3-21.3-210 Барабан 1.436.3-21.3-210 Барабан. Сборочный чертеж 1.436.3-21.3-211 Чашка 1.436.3-21.3-201 Кронштейн 1.436.3-21.3-202 Вал-рычаг 1.436.3-21.3-203 Поводок 1.436.3-21.3-204 Уголок 1.436.3-21.3-205 Штырь 1.436.3-21.3-206 Ось 1.436.3-21.3-207 Кольцо 1.436.3-21.3-208 Шайба 1.436.3-21.3-300 Механизм рычажный МР2 1.436.3-21.3-300СБ Механизм рычажный МР2. Сборочный чертеж 1.436.3-21.3-301 Кронштейн 1.436.3-21.3-400 Прибор фрамужный 1.436.3-21.3-400СБ Прибор фрамужный. Сборочный чертеж 1.436.3-21.3-410 Кронштейн 1.436.3-21.3-410СБ Кронштейн. Сборочный чертеж 1.436.3-21.3-411 Ось 1.436.3-21.3-401 Рычаг 1.436.3-21.3-402 Направляющая 1.436.3-21.3-403 Ось 1.436.3-21.3-500 Кронштейн промежуточный 1.436.3-21.3-500 Кронштейн промежуточный. Сборочный чертеж 1.436.3-21.3-501 Скоба |
| Разработан: | ЦНИИпромзданий ВНИКТИстальконструкция Минмонтажспецстроя СССР Златоустовский завод металлоконструкций |
| Утверждён: | 13.08.1987 Госстрой СССР (Государственный комитет Совета Министров СССР по делам строительства) (USSR Gosstroy АЧ-74) |
























































