Скачать Типовой проект 801-2-65.85 Часть 1.1. Двухслойные стеновые легкобетонные панели повышенной заводской готовности для сельскохозяйственных зданий. Опалубочные чертежи и армированиеДата актуализации: 01.01.2021
|
| Обозначение: | Типовой проект 801-2-65.85 |
| Обозначение англ: | 801-2-65.85 |
| Статус: | не определен законодательством |
| Название рус.: | Часть 1.1. Двухслойные стеновые легкобетонные панели повышенной заводской готовности для сельскохозяйственных зданий. Опалубочные чертежи и армирование |
| Дата добавления в базу: | 01.09.2013 |
| Дата актуализации: | 01.01.2021 |
| Дата введения: | 19.07.1984 |
| Дата окончания срока действия: | 30.06.2003 |
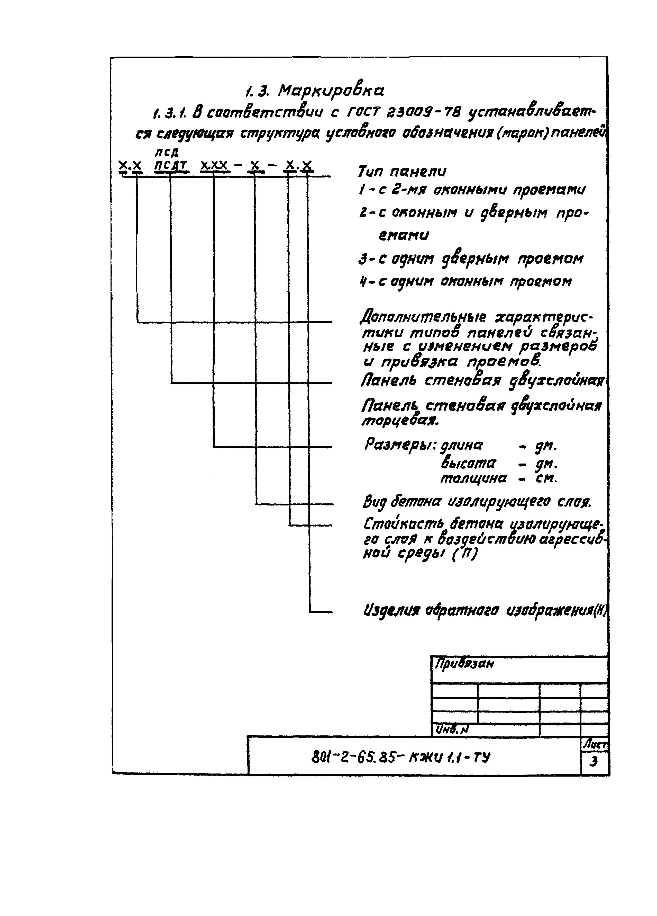
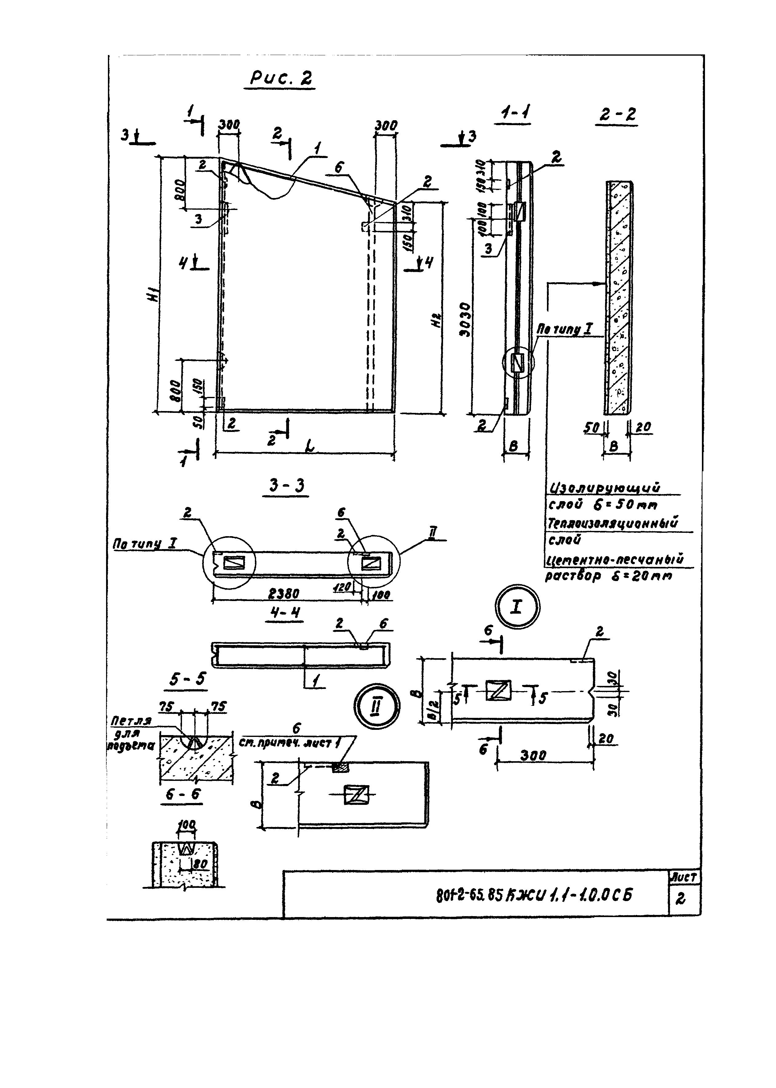
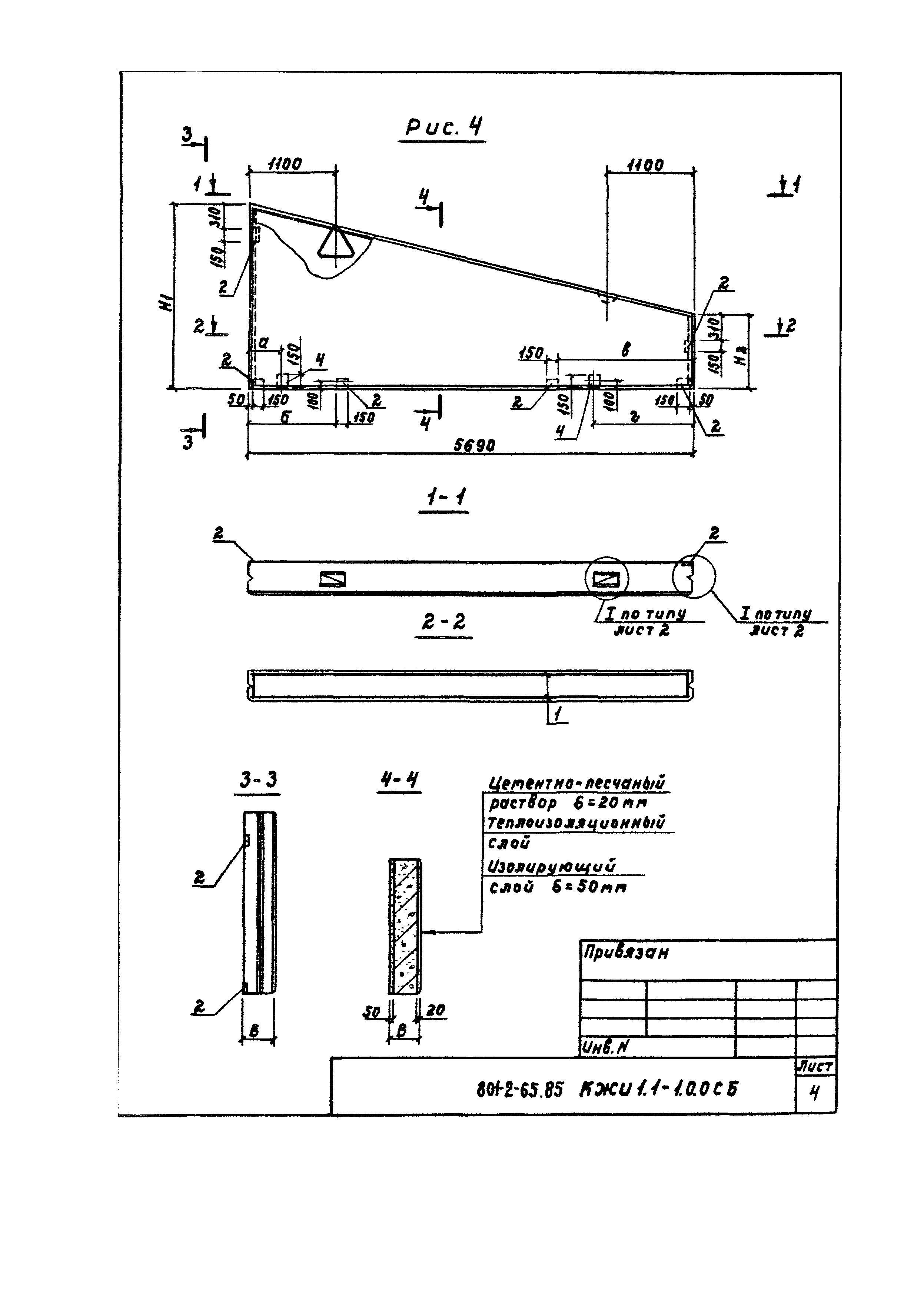
| Оглавление: | Содержание КЖИ1.1-ТУ Технические условия КЖИ1.1-ДН Номенклатура стеновых панелей КЖИ1.1-1.0.0 Панели стеновые ПСДТ…40…-т-п; ПСДТ…40…-т-н; ПСДТ…57.24…-т-п; ПСДТ…57.40…-т-п.н; ПСДТ…24.60…-т-п; ПСДТ…24.60…-т-п.н; 4.1ПСДТ…24.60…-т-п.н КЖИ1.1-1.0.0СБ Панели стеновые ПСДТ…40…-т-п; ПСДТ…40…-т-п.н; ПСДТ…57.24…-т-п; ПСДТ…57.40…-т-п.н; ПСДТ…24.60…-т-п; ПСДТ…24.60…-т-п.н; 4.1ПСДТ…24.60…-т-п.н. Сборочный чертеж КЖИ1.1-2.0.0 Панели стеновые ПСД 6.33…-т-п; 4ПСД 60.33…-т-п; 4ПСД 60.33…-т-п.н; 4.1ПСД 60.33…-т-п; 4.1ПСД 60.33…-т-п.н; КЖИ1.1-2.0.0СБ Панели стеновые ПСД 6.30…-т-п; 4.1ПСД 60.30…-т-п; 4ПСД 60.30…-т-п.н; 4.1ПСД 60.30…-т-п. Сборочный чертеж КЖИ1.1-ВРС Ведомость расхода стали |
| Разработан: | Институт Гипронисельхоз |
| Утверждён: | 30.12.1983 Главсельстройпроект Минсельхоза СССР (Glavselstroyproject, USSR Minselkhoz 126) |































