Скачать Типовой проект 801-2-54.85 Часть 2. Панели для варианта стен горизонтальной разрезки (из типового проекта 801-2-55.85)Дата актуализации: 01.01.2021
|
| Обозначение: | Типовой проект 801-2-54.85 |
| Обозначение англ: | 801-2-54.85 |
| Статус: | не определен законодательством |
| Название рус.: | Часть 2. Панели для варианта стен горизонтальной разрезки (из типового проекта 801-2-55.85) |
| Дата добавления в базу: | 01.09.2013 |
| Дата актуализации: | 01.01.2021 |
| Дата введения: | 19.09.1984 |
| Дата окончания срока действия: | 30.06.2003 |
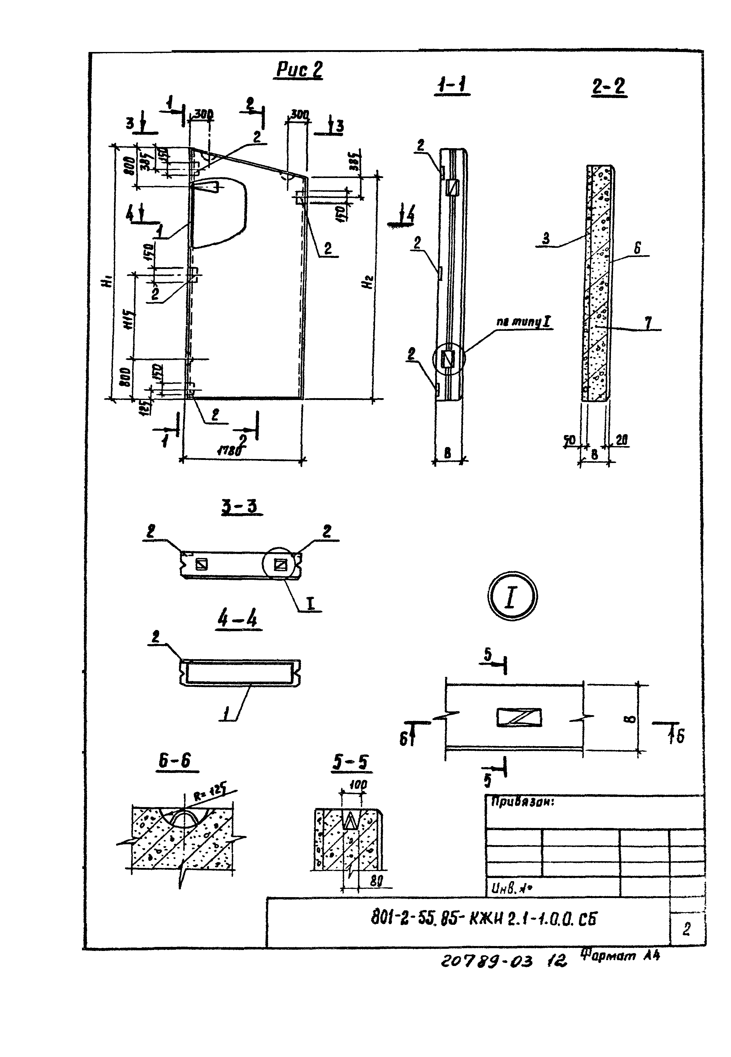
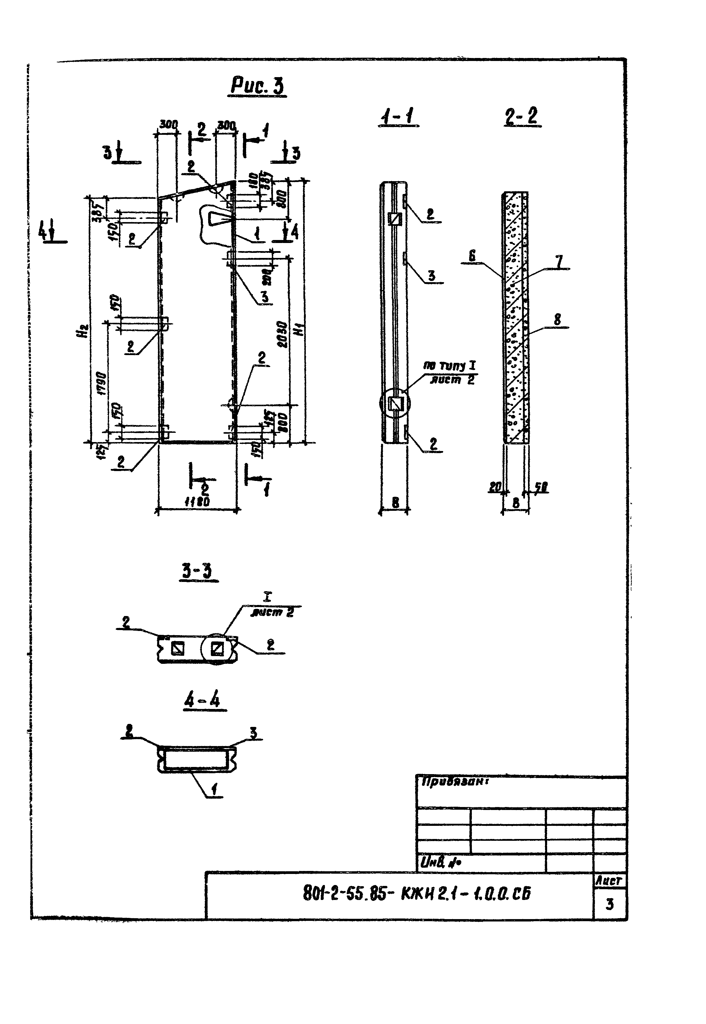
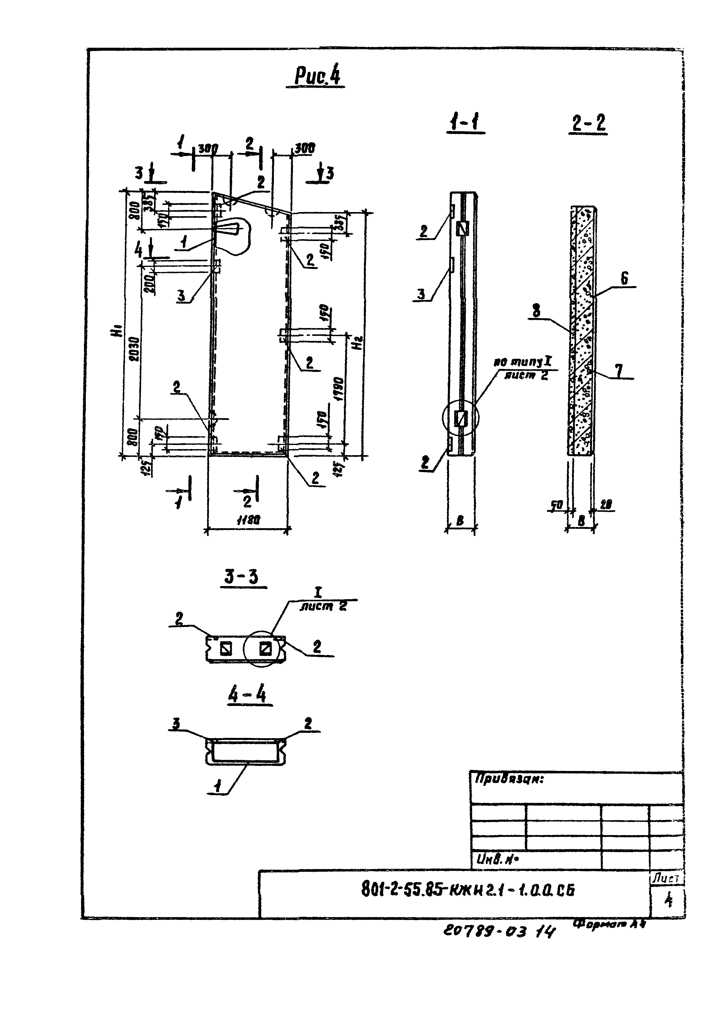
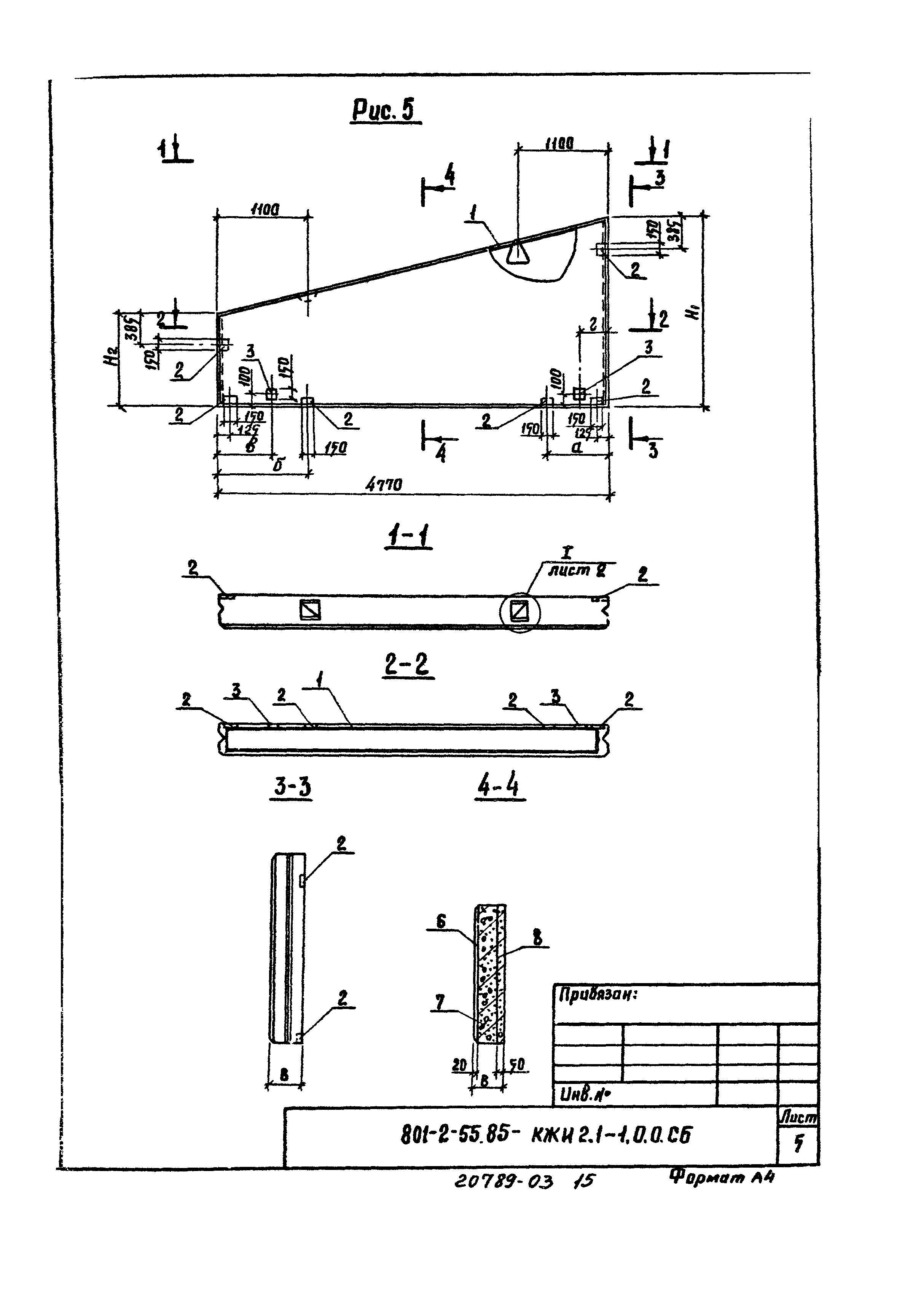
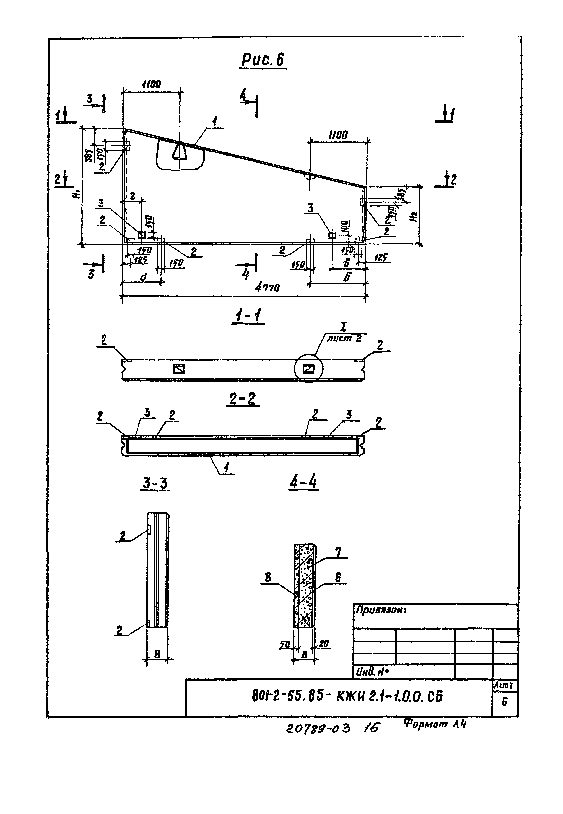
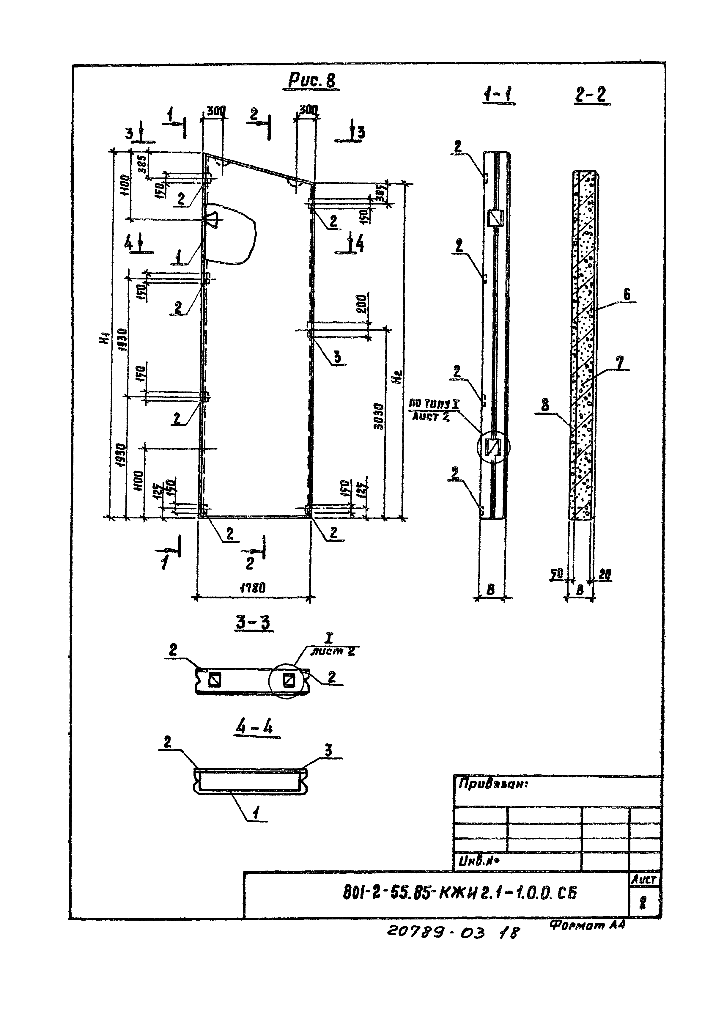
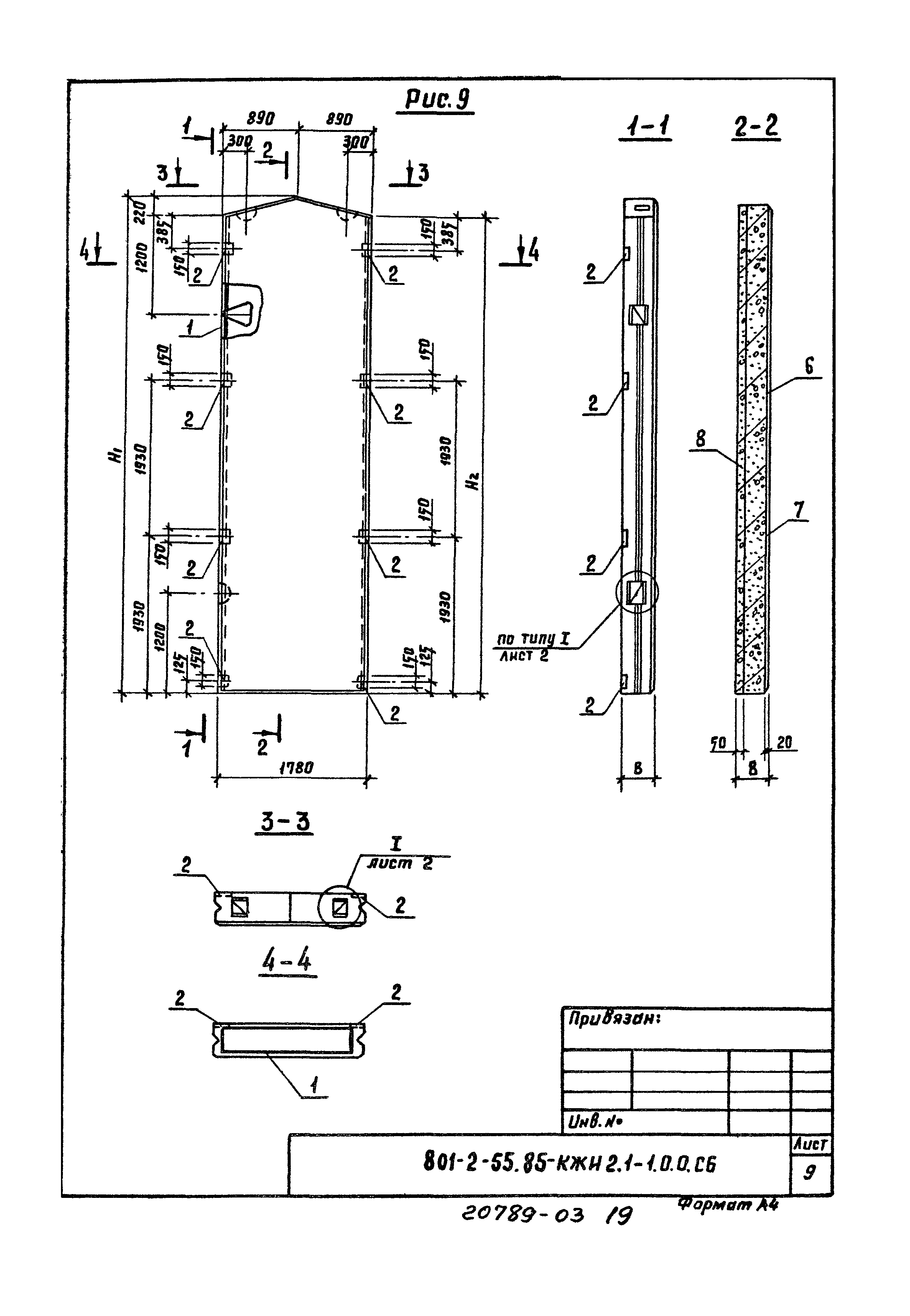
| Оглавление: | Содержание Часть 2.1. Опалубочные чертежи и армирование КЖИ2.1-ТУ Технические условия КЖИ2.1-1.0.0 Панель стеновая ПСДТ(ПСДТ18.38…-т…4ПСДТ18.60…-т) КЖИ2.1-1.0.0СБ Панель стеновая ПСДТ(ПСДТ18.38…-т…4ПСДТ18.60…-т). Сборочный чертеж КЖИ2.1-2.0.0 Панель стеновая ПСД(ПСД6.12.30-т-у; ПСД6.12.30-т-уп; ПСД6.12.40-т-у; ПСД6.12.40-т-уп) КЖИ2.1-2.0.0СБ Панель стеновая ПСД(ПСД6.12.30-т-у; ПСД6.12.30-т-уп; ПСД6.12.40-т-у; ПСД6.12.40-т-уп). Сборочный чертеж КЖИ2.1-3.0.0 Панель стеновая ПСД(ПСД12.12…т-1; ПСД6.12…т-1) КЖИ2.1-3.0.0СБ Панель стеновая ПСД(ПСД12.12…т-1; ПСД6.12…т-1). Сборочный чертеж КЖИ2.1-РС Ведомость расхода стали на элемент Часть 2.2. Арматурные изделия КЖИ2.2-ТУ Технические условия КЖИ2.2-0.1.0 Каркас пространственный КП(КП1…КП7) КЖИ2.2-0.1.0СБ Каркас пространственный КП(КП1…КП7). Сборочный чертеж КЖИ2.2-0.2.0 Каркас пространственный КП(КП8, КП8Н) КЖИ2.2-0.3.0 Каркас плоский КР1 КЖИ2.2-0.4.0 Сетка арматурная С(С1…С3) КЖИ2.2-0.4.0СБ Сетка арматурная С(С1…С3). Сборочный чертеж КЖИ2.2-0.5.0 Сетка арматурная с (С1-1…С3-1; С1-1н…С3-1н) КЖИ2.2-0.5.0СБ Сетка арматурная с (С1-1…С3-1; С1-1н…С3-1н). Сборочный чертеж КЖИ2.2-0.6.0 Сетка арматурная С4 КЖИ2.2-0.7.0 Сетка арматурная С (С4-1…С4-2н) КЖИ2.2-0.7.0СБ Сетка арматурная С (С4-1…С4-2н). Сборочный чертеж |
| Разработан: | ВИЭСХ Институт Гипронисельхоз |
| Утверждён: | 16.02.1984 Минсельхоз СССР (USSR Minselkhoz 7-ЭГ) |



















































