Скачать Серия 1.432.2-24 Выпуск 2. Стальные изделия фахверка. Рабочие чертежиДата актуализации: 01.01.2021
|
| Обозначение: | Серия 1.432.2-24 |
| Обозначение англ: | Series 1.432.2-24 |
| Статус: | не определен законодательством |
| Название рус.: | Выпуск 2. Стальные изделия фахверка. Рабочие чертежи |
| Дата добавления в базу: | 01.09.2013 |
| Дата актуализации: | 01.01.2021 |
| Дата введения: | 01.11.1991 |
| Дата окончания срока действия: | 30.06.2003 |
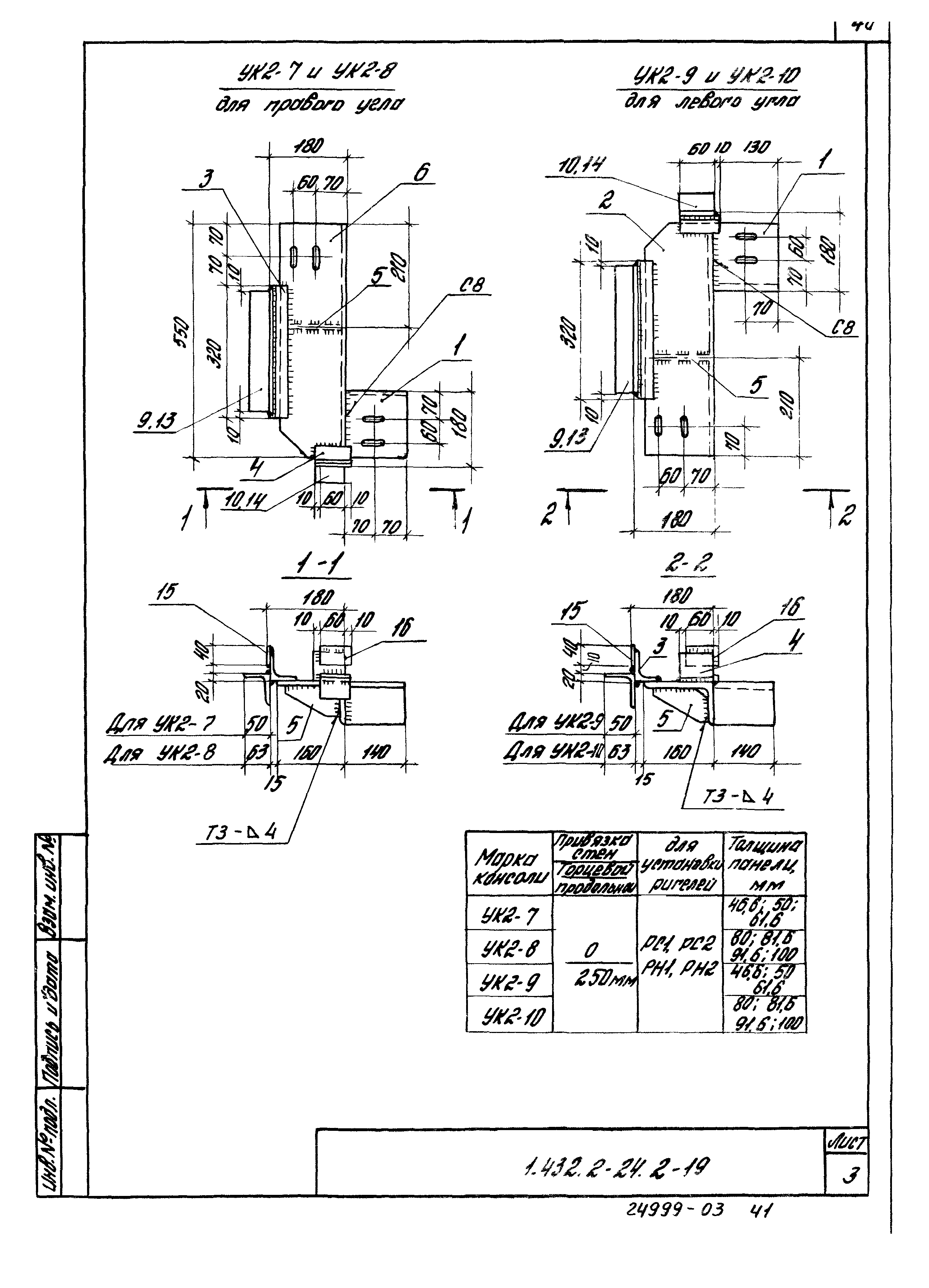
| Область применения: | В настоящем выпуске приведены рабочие чертежи стальных изделий фахверка - опорных консолей и ригелей, которые по своему назначению подразделяются на рядовые, стыковые, подоконные, надоконные, опорные и цокольные |
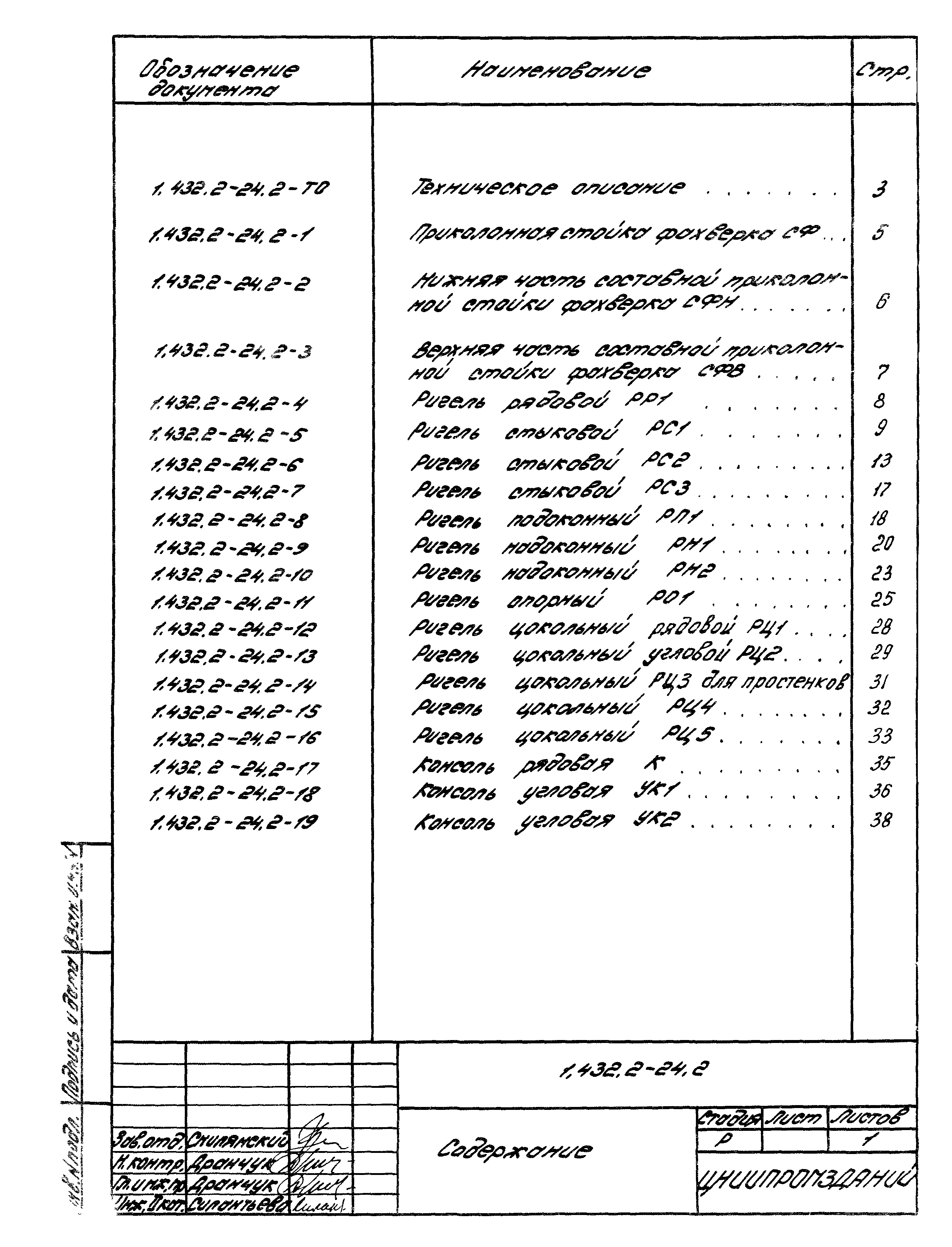
| Оглавление: | 1.432.2-24.2-ТО Техническое описание 1.432.2-24.2-1Приклонная стойка фахверка СФ 1.432.2-24.2-2 Нижняя часть составной приклонной стойки фахверка СФН 1.432.2-24.2-3 Верхняя часть составной приколонной стойки фахверка СФВ 1.432.2-24.2-4 Ригель рядовой РР1 1.432.2-24.2-5 Ригель стыковой РС1 1.432.2-24.2-6 Ригель стыковой РС2 1.432.2-24.2-7 Ригель стыковой РС3 1.432.2-24.2-8 Ригель стыковой РП1 1.432.2-24.2-9 Ригель стыковой РН1 1.432.2-24.2-10 Ригель стыковой РН2 1.432.2-24.2-11 Ригель стыковой РО1 1.432.2-24.2-12 Ригель цокольный рядовой РЦ1 1.432.2-24.2-13 Ригель цокольный угловой РЦ2 1.432.2-24.2-14 Ригель цокольный рядовой РЦ3 для простенков 1.432.2-24.2-15 Ригель цокольный РЦ4 1.432.2-24.2-16 Ригель цокольный РЦ5 1.432.2-24.2-17 Консоль рядовая К 1.432.2-24.2-18 Консоль угловая УК1 1.432.2-24.2-19 Консоль угловая УК2 |
| Разработан: | ЦНИИпромзданий |
| Утверждён: | 10.12.1990 Госстрой СССР (Государственный комитет Совета Министров СССР по делам строительства) (USSR Gosstroy 5/6-938) |
| Издан: | ЦИТП Госстроя СССР (CITP, Gosstroy (USSR) 1991 г. ) |
| Заменяет собой: |
|
| Нормативные ссылки: |
|










































