Скачать Серия 2.860-6 Выпуск 0. Материалы для проектированияДата актуализации: 01.01.2021
|
| Обозначение: | Серия 2.860-6 |
| Обозначение англ: | Series 2.860-6 |
| Статус: | действует |
| Название рус.: | Выпуск 0. Материалы для проектирования |
| Дата добавления в базу: | 01.09.2013 |
| Дата актуализации: | 01.01.2021 |
| Дата введения: | 01.10.1986 |
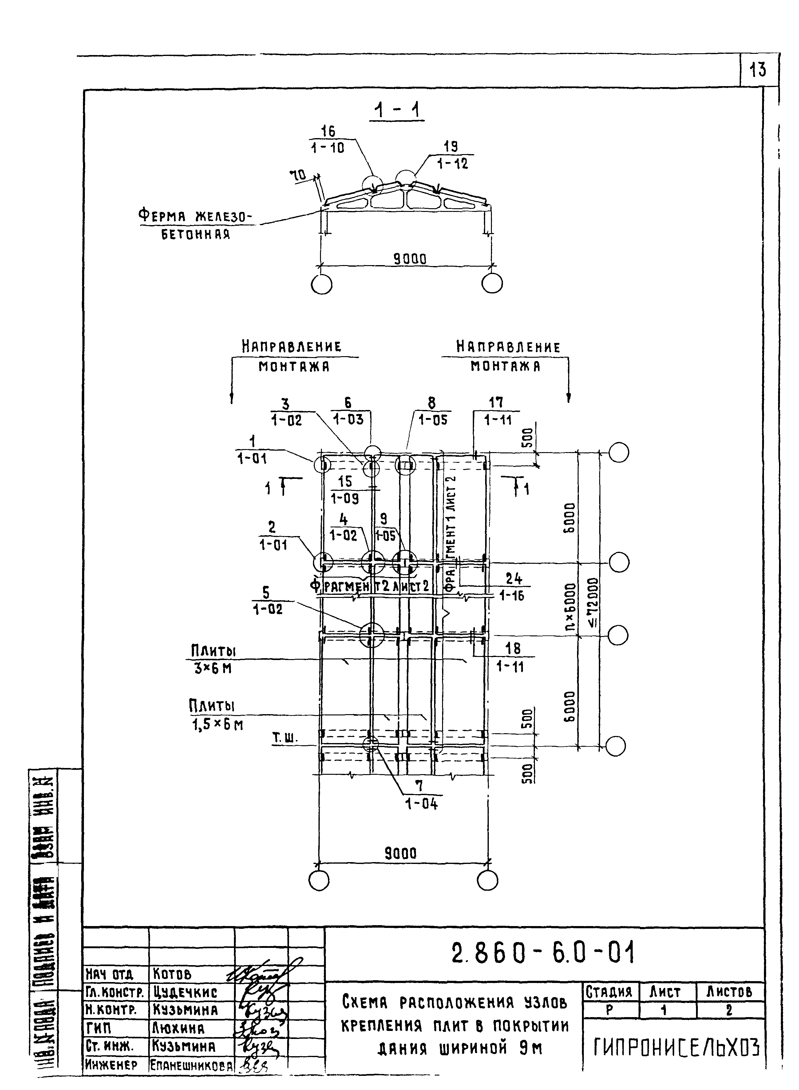
| Оглавление: | 2.860-6.0-00 ПЗ Пояснительная записка 2.860-6.0-01 Схема расположения узлов крепления плит в покрытии здания шириной 9м 2.860-6.0-02 Схема расположения узлов крепления плит в покрытии здания шириной 12м 2.860-6.-003 Схема расположения узлов крепления плит в покрытии здания шириной 18м (пролет 18м и 2 пролета по 9м) 2.860-6.0-04 Схема расположения узлов крепления плит в покрытии здания шириной 18м ( 3 пролета по 6м) 2.860-6.0-05 Схема расположения узлов крепления плит в покрытии здания шириной 21м 2.860-6.0-06 Схема расположения узлов крепления плит в покрытии здания шириной 21м( 2 пролета по 7,5м и пролет 6м) 2.860-6.0-07 Схема расположения узлов крепления плит в покрытии здания шириной 24м (2 пролета по 12м) 2.860-6.0-08 Схема расположения узлов крепления плит в покрытии здания шириной 27м (3 пролета по 9м) 2.860-6.0-09 Схема обрешетки под асбестоцементные листы при двухслойных стеновых панелях толщиной 200 мм 2.860-6.0-10 Схема обрешетки под асбестоцементные листы при двухслойных стеновых панелях толщиной 250, 300, 400 и 500 мм 2.860-6.0-11 Схема обрешетки под асбестоцементные листы при трехслойных стеновых панелях 2.860-6.0-12 Схема раскладки асбестоцементных волнистых листов |
| Разработан: | ГипроНИсельхоз (Институт Гипронисельхоз ) |
| Утверждён: | 08.07.1986 Госстрой СССР (Государственный комитет Совета Министров СССР по делам строительства) (USSR Gosstroy 96) |

































