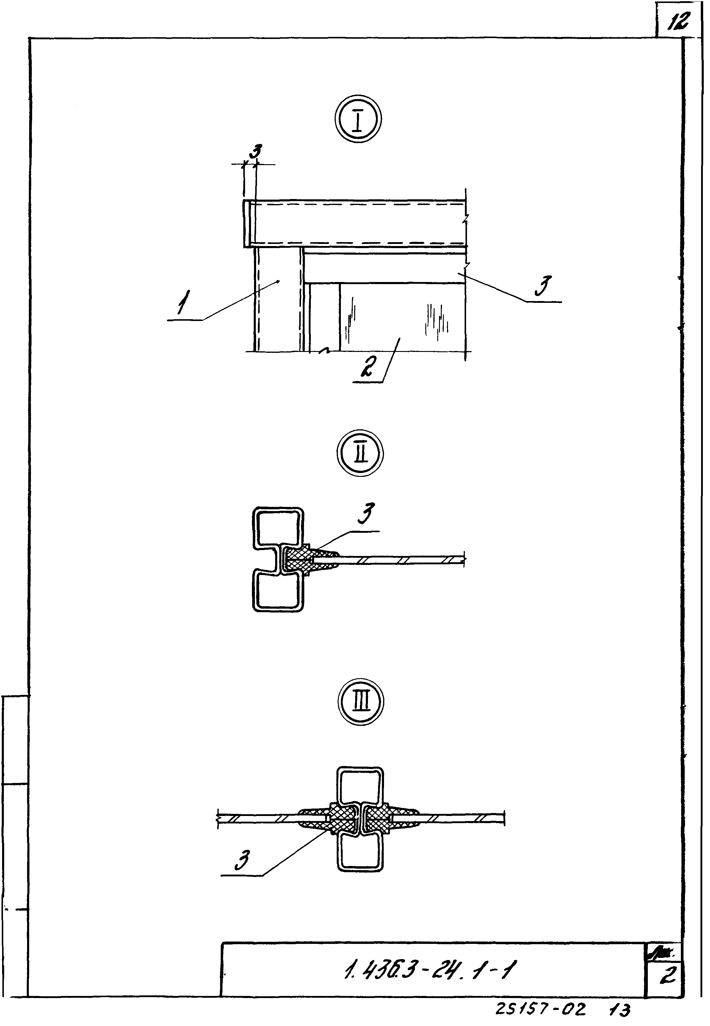
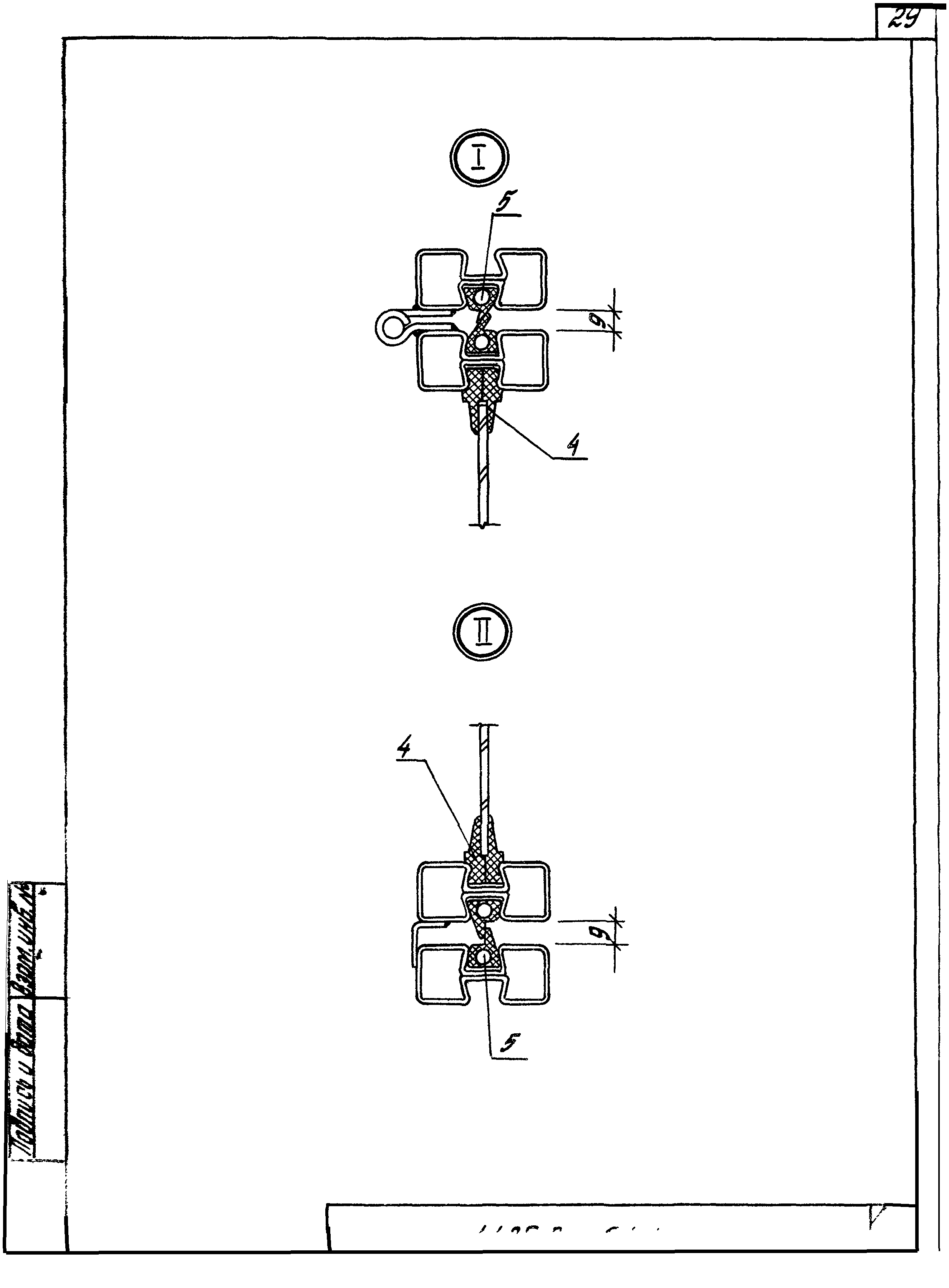
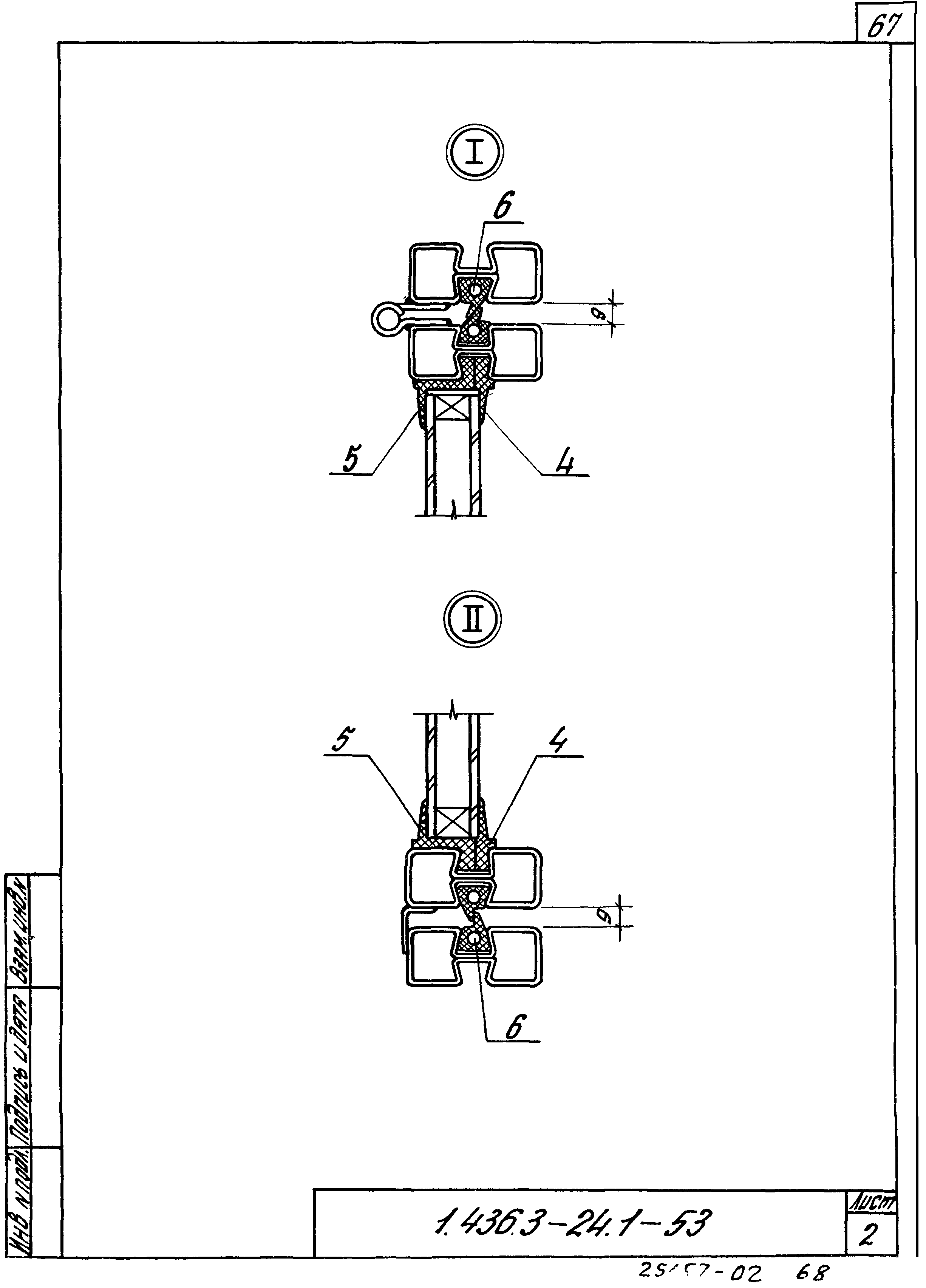
Скачать Серия 1.436.3-24 Выпуск 1. Окна с одинарными переплетами. Рабочие чертежиДата актуализации: 01.01.2021 Серия 1.436.3-24
Выпуск 1. Окна с одинарными переплетами. Рабочие чертежи| Обозначение: | Серия 1.436.3-24 | | Обозначение англ: | Series 1.436.3-24 | | Статус: | не определен законодательством | | Название рус.: | Выпуск 1. Окна с одинарными переплетами. Рабочие чертежи | | Дата добавления в базу: | 01.09.2013 | | Дата актуализации: | 01.01.2021 | | Дата введения: | 01.06.1992 | | Дата окончания срока действия: | 30.06.2003 | | Разработан: | АО ЦНИИпромзданий
| | Утверждён: | 05.12.1990 Главпроект Госстроя России (5/6-924)
| | Издан: | АПП ЦИТП (1991 г. )
|
                                                                                     
|