Скачать Рабочие чертежи теплозащитных алюминиевых окон и дверей по номенклатуре МНИИТЭП для школьных зданий и ДДУ. I этап

Дата актуализации: 01.01.2021

Рабочие чертежи теплозащитных алюминиевых окон и дверей по номенклатуре МНИИТЭП для школьных зданий и ДДУ. I этап

Статус:не определен законодательством
Название рус.:Рабочие чертежи теплозащитных алюминиевых окон и дверей по номенклатуре МНИИТЭП для школьных зданий и ДДУ. I этап
Дата добавления в базу:01.09.2013
Дата актуализации:01.01.2021
Дата введения:01.01.1999
Дата окончания срока действия:30.06.2003
Оглавление:1. Пояснительная записка
2. Двери из комбинированных профилей. Общий вид. Сечение 3.1 - 3.1
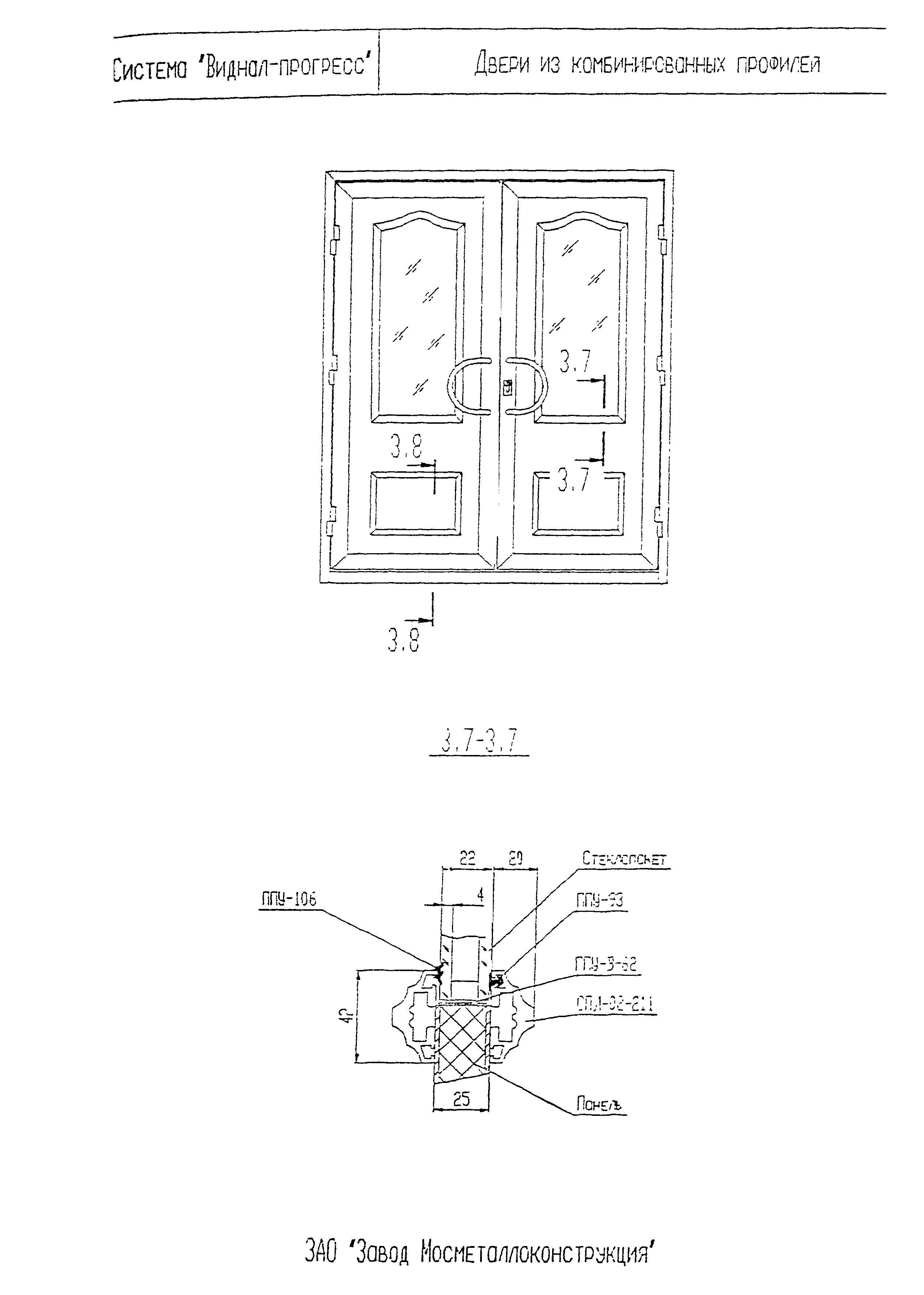
3. Двери из комбинированных профилей. Общий вид. Сечение 3.7 - 3.7
4. Двери из комбинированных профилей. Общий вид. Узел 1
5. Двери из комбинированных профилей. Сечение 3.1 - 3.1
6. Двери из комбинированных профилей. Сечение 3.2 - 3.2
7. Двери из комбинированных профилей Сечение 3.3 - 3.3 (установка в проем)
8. Двери из комбинированных профилей. Сечение 3.3 - 3.3 (установка витраж)
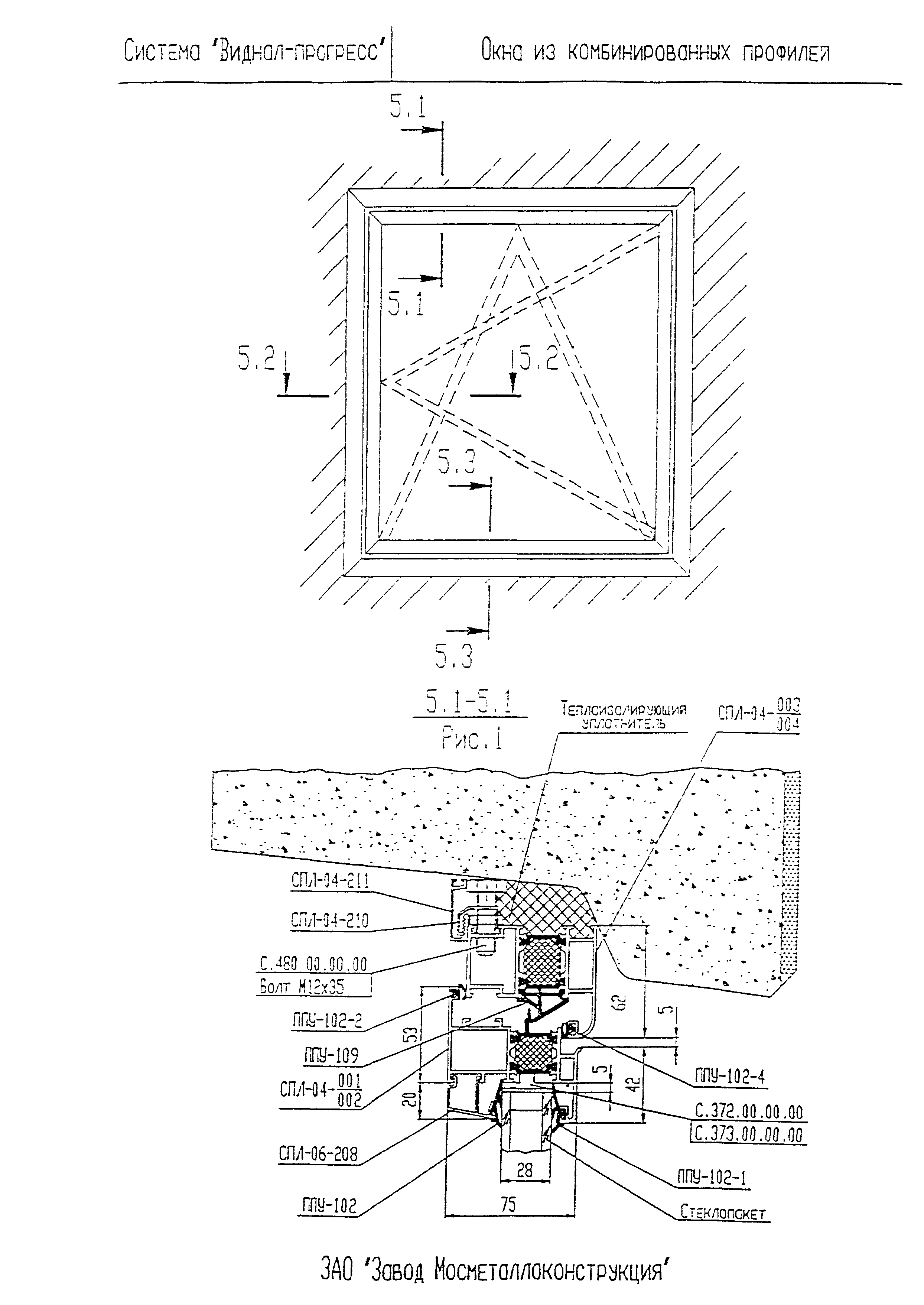
9. Окна из комбинированных профилей. Общий вид. Сечение 5.1 - 5.1
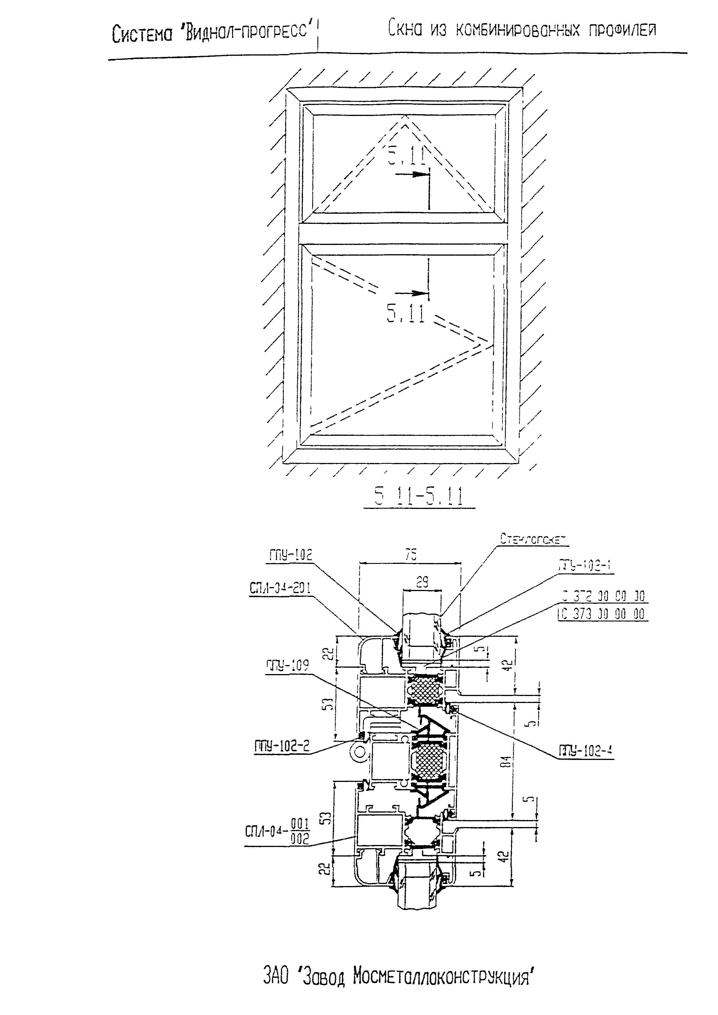
10. Окна из комбинированных профилей. Общий вид. Сечение 5.11 - 5.11
11. Окна из комбинированных профилей. Общий вид. Сечение 5.8 - 5.8
12. Окна из комбинированных профилей. Сечение 5.1 - 5.1
13. Окна из комбинированных профилей. Сечение 5.2 - 5.2
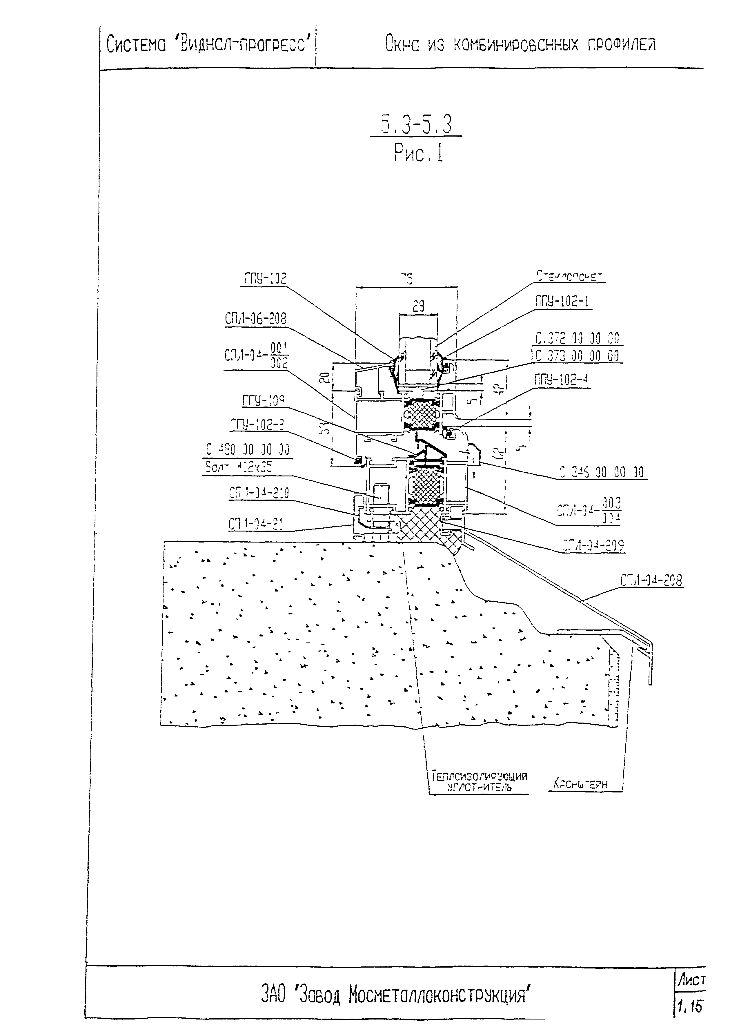
14. Окна из комбинированных профилей. Сечение 5.3 - 5.3
15. Окна с повышенным сопротивлением теплопередаче
16. Окна с повышенным сопротивлением теплопередаче
Разработан: МНИИТЭП
Утверждён:01.01.1999 МНИИТЭП (MNIITEP )