Скачать Серия 1.090.1-7с Выпуск 4-2. Панели внутренних стен для применения в районах сейсмичностью 9 баллов. Рабочие чертежиДата актуализации: 01.01.2021
|
| Обозначение: | Серия 1.090.1-7с |
| Обозначение англ: | Series 1.090.1-7с |
| Статус: | не определен законодательством |
| Название рус.: | Выпуск 4-2. Панели внутренних стен для применения в районах сейсмичностью 9 баллов. Рабочие чертежи |
| Дата добавления в базу: | 01.09.2013 |
| Дата актуализации: | 01.01.2021 |
| Дата введения: | 01.03.1991 |
| Дата окончания срока действия: | 30.06.2003 |
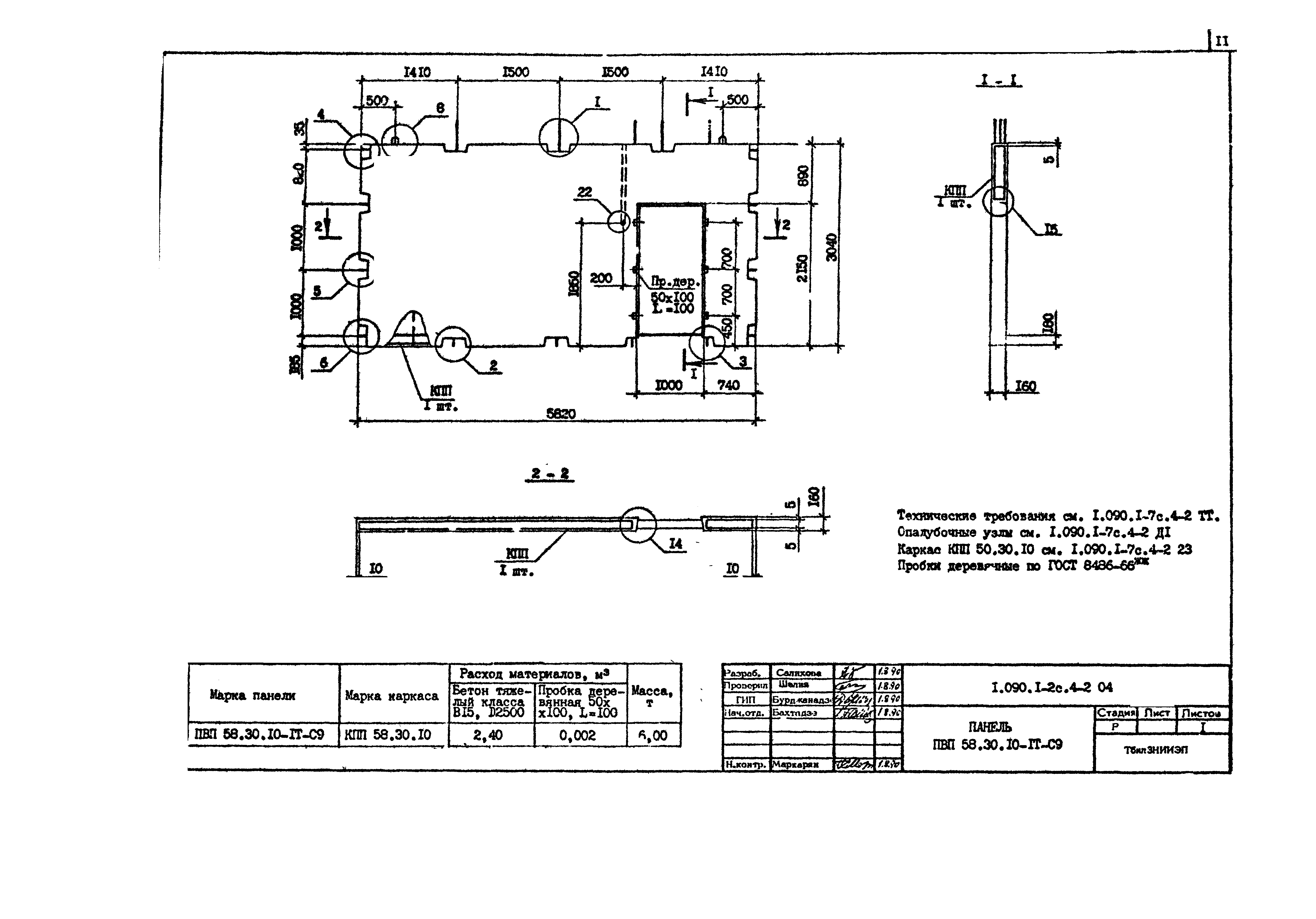
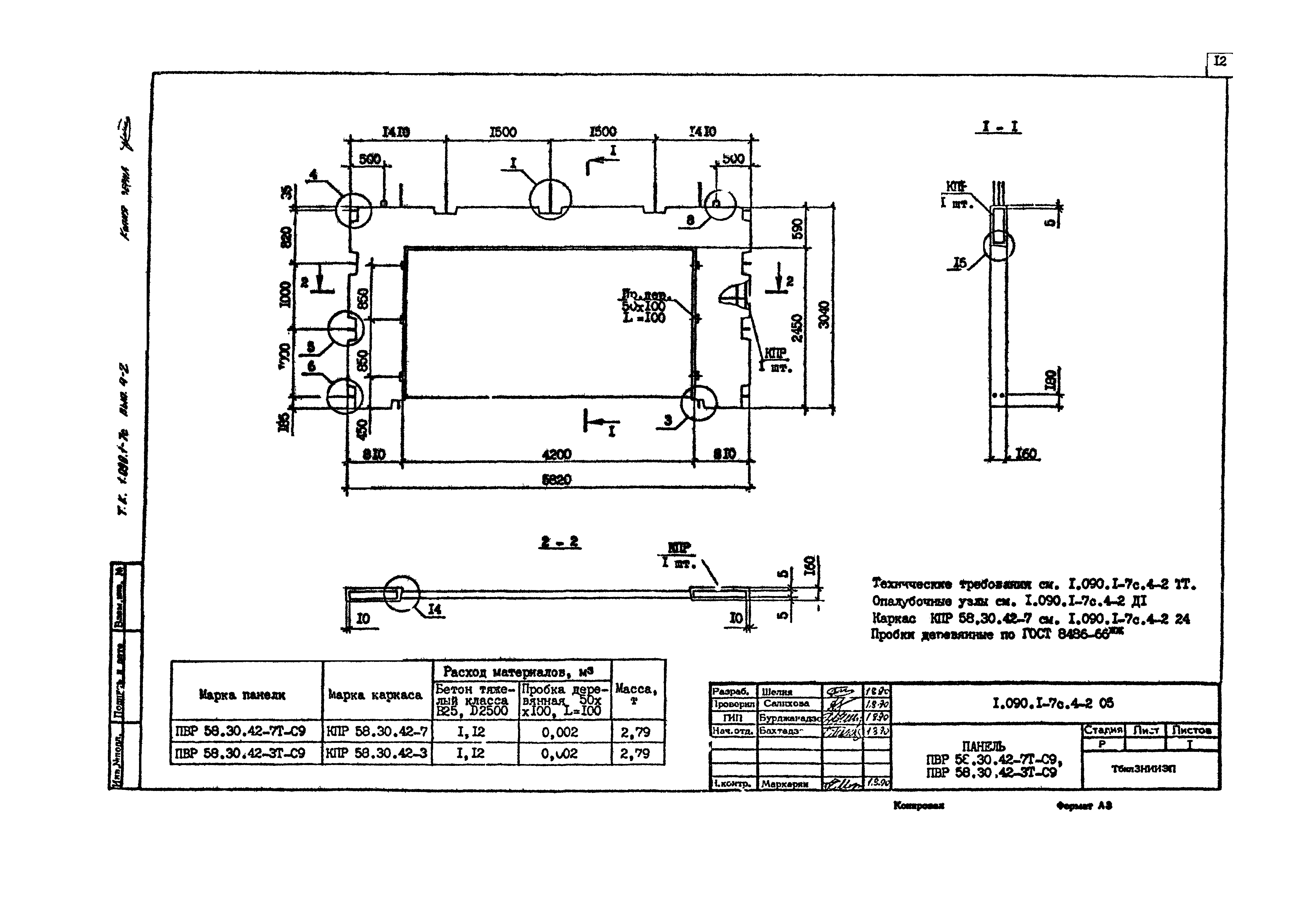
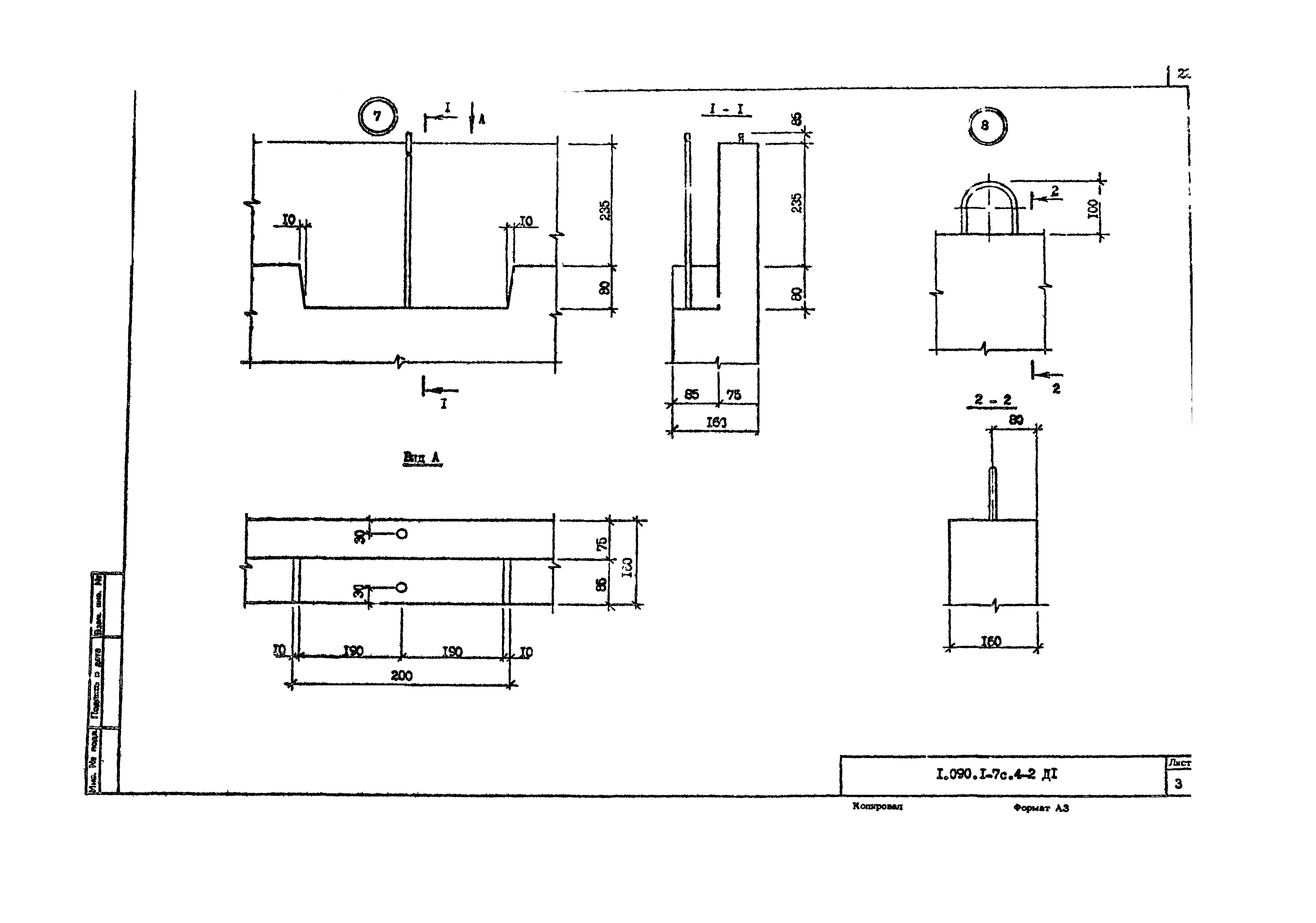
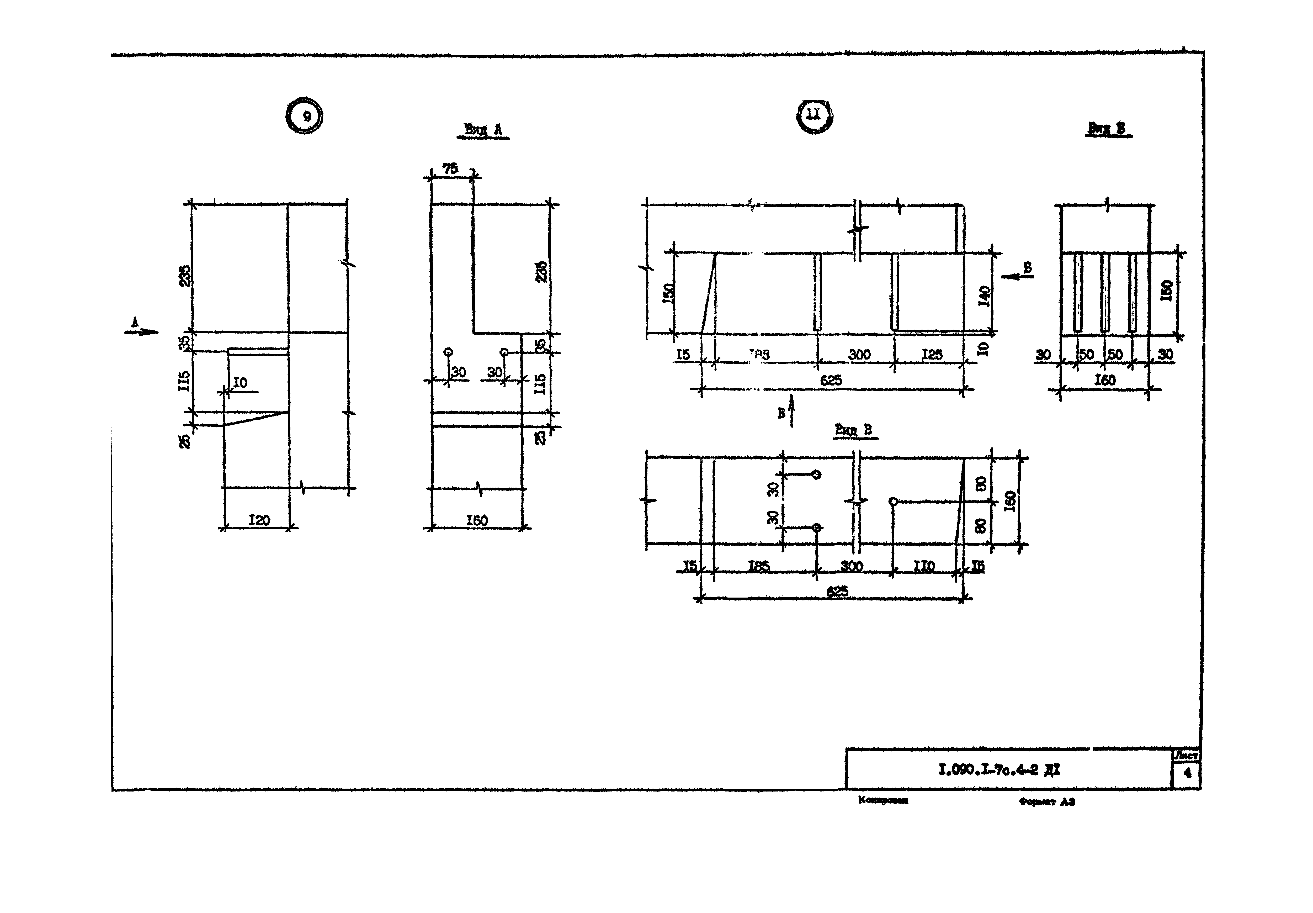
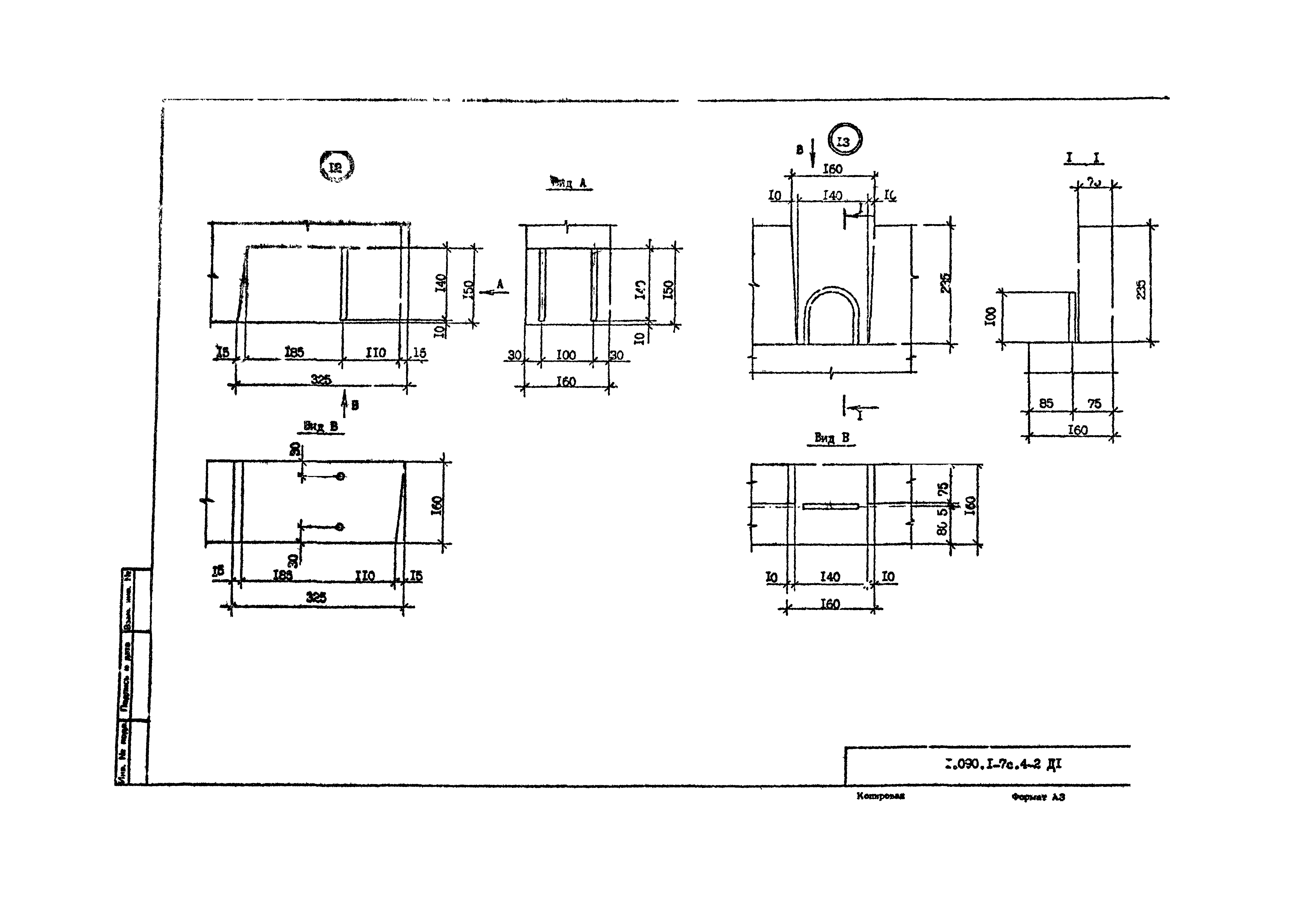
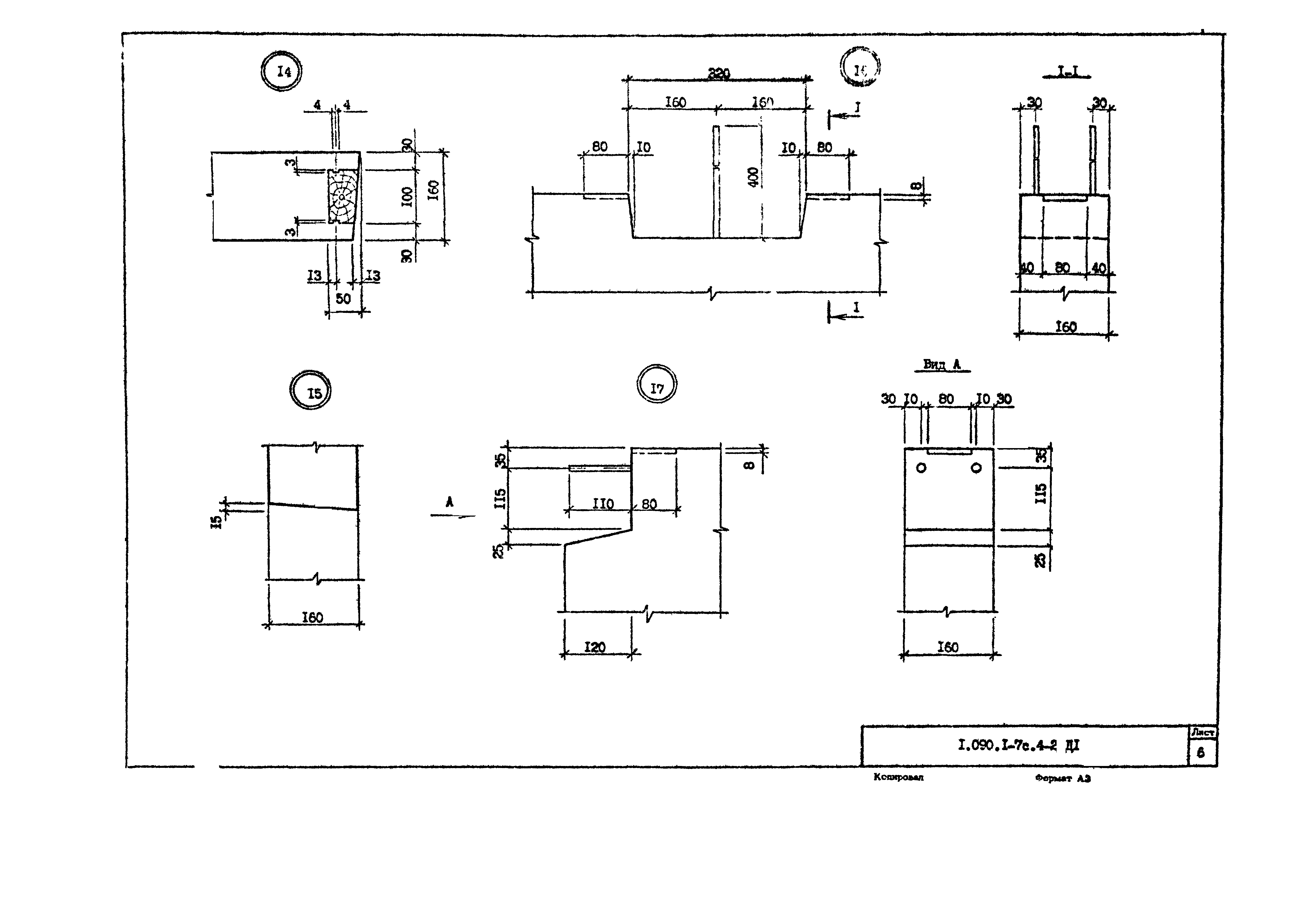
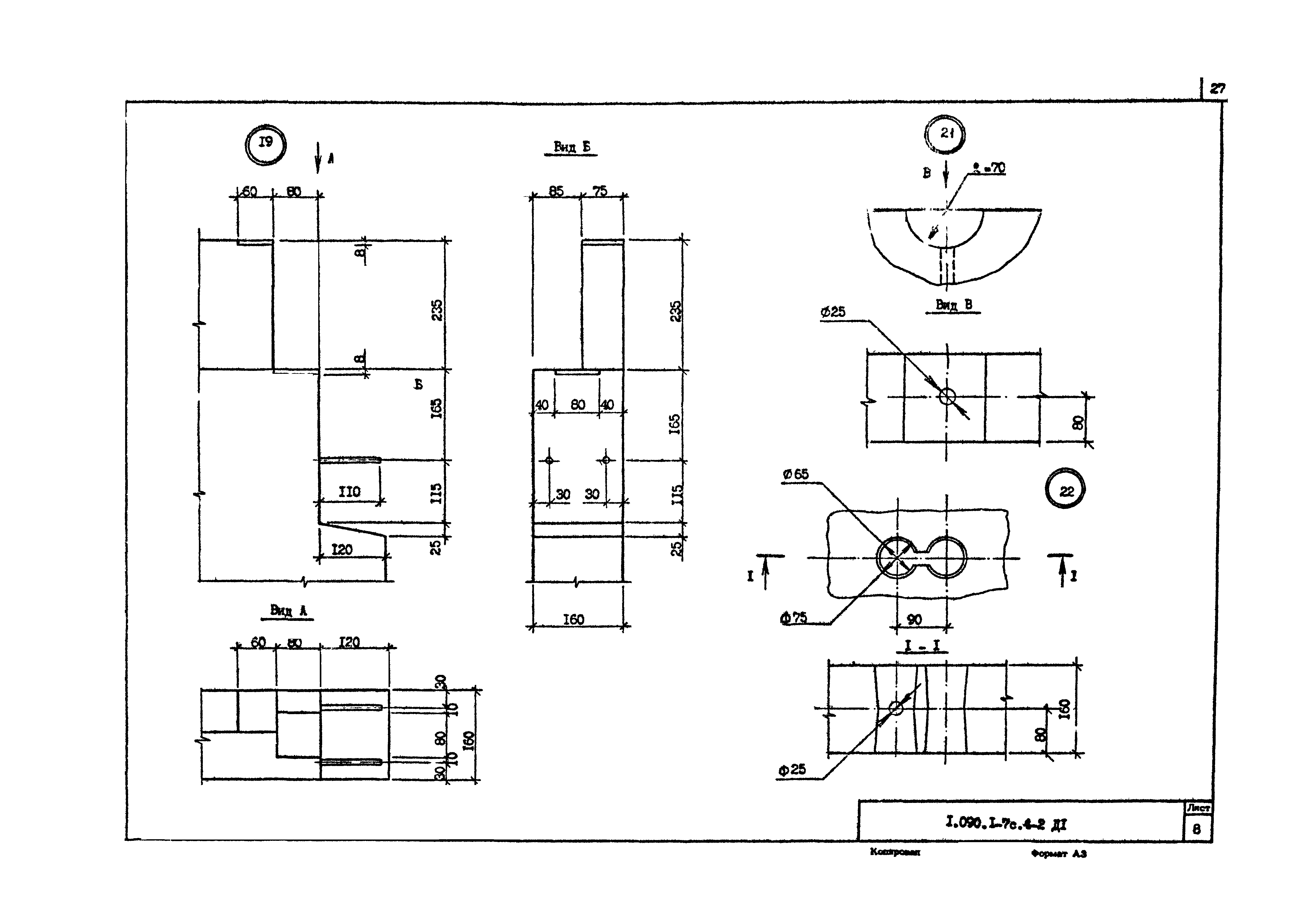
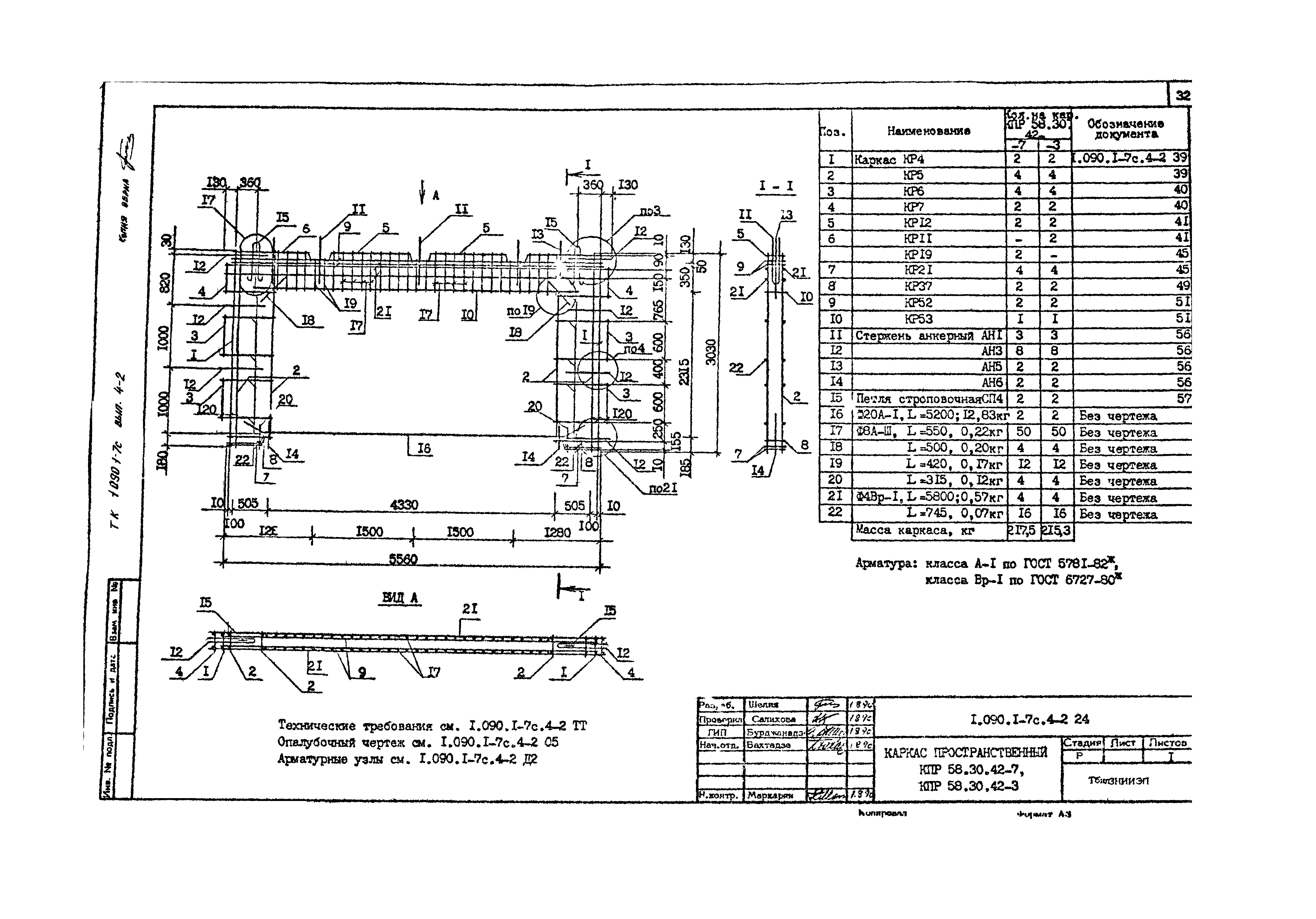
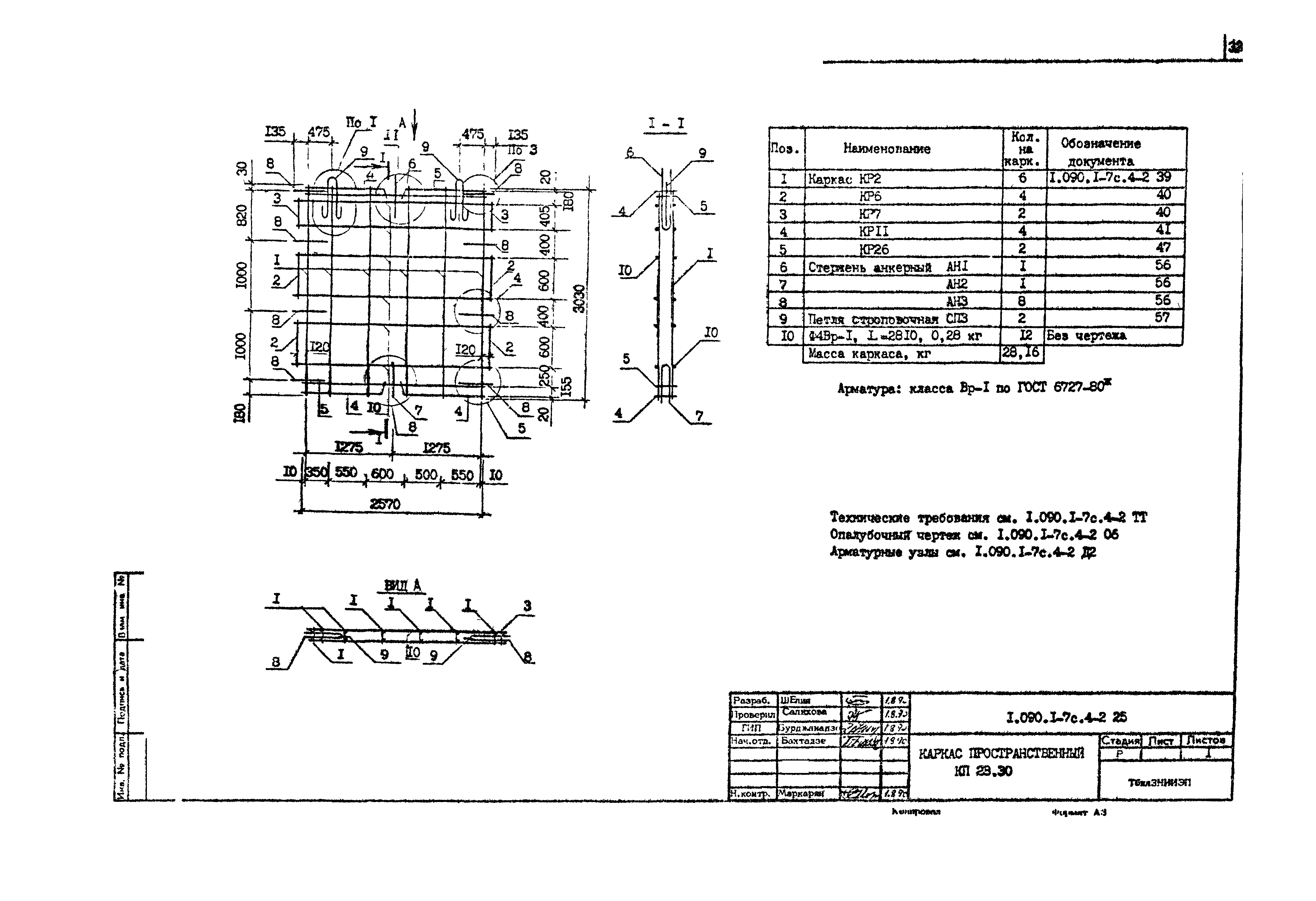
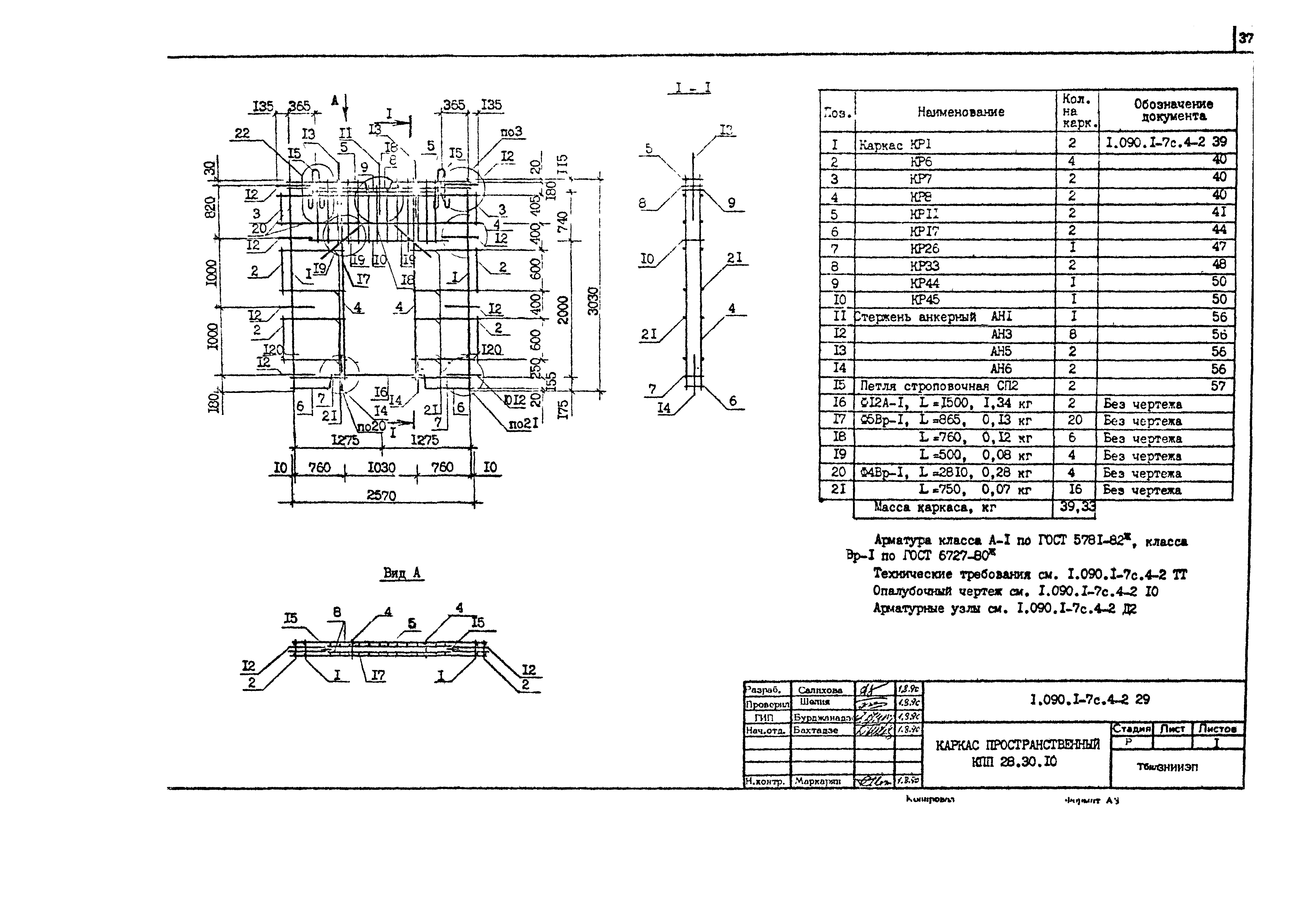
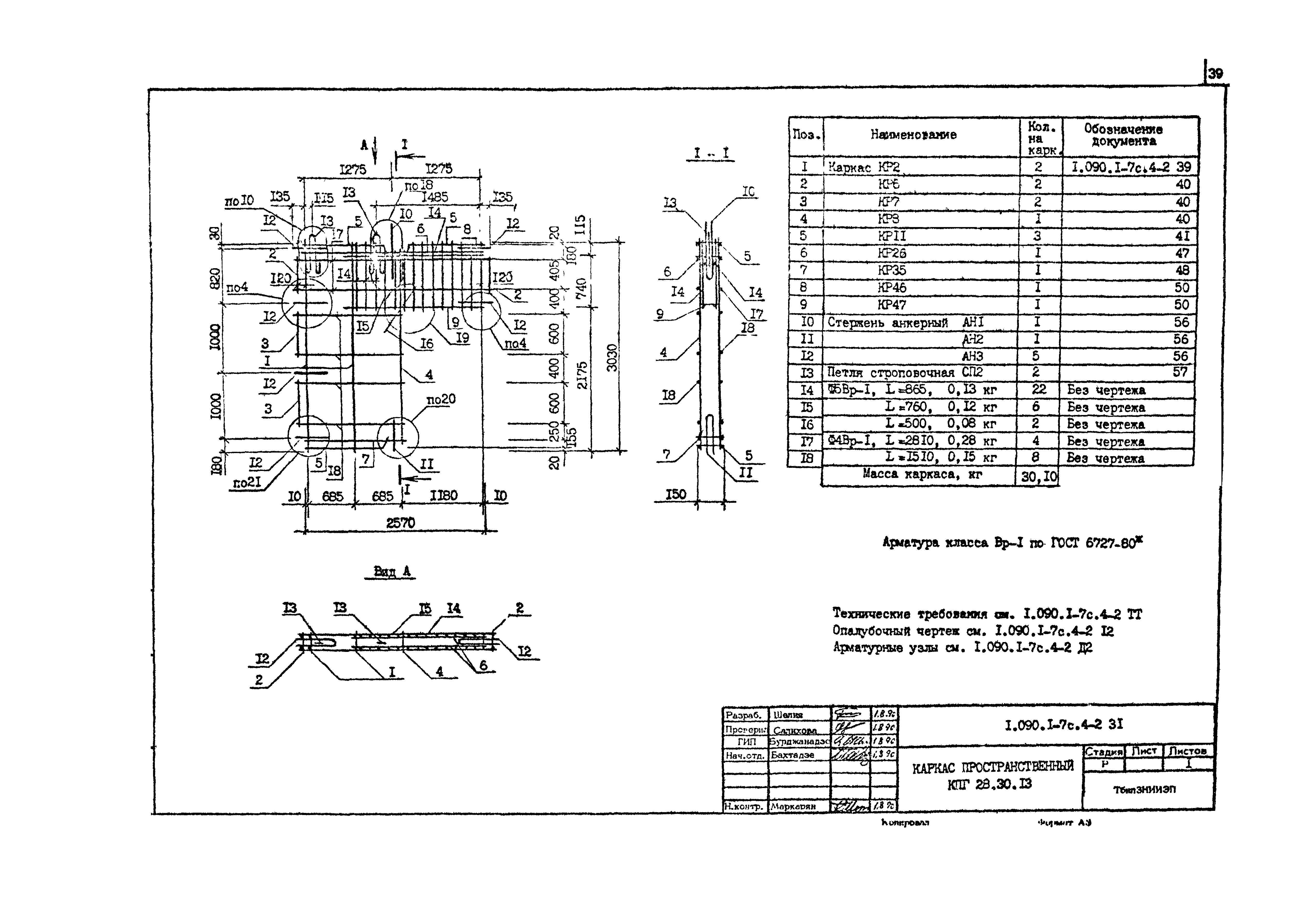
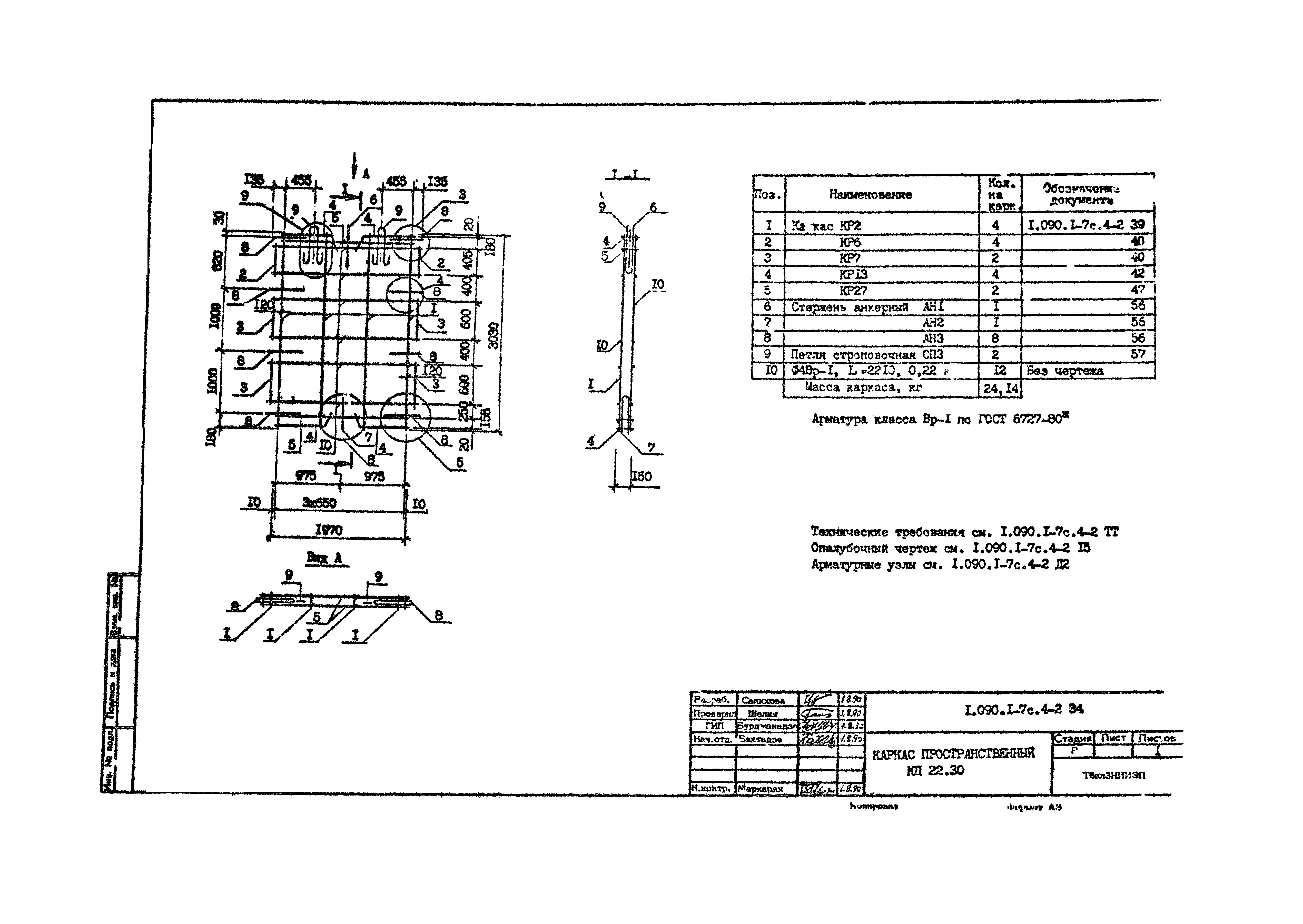
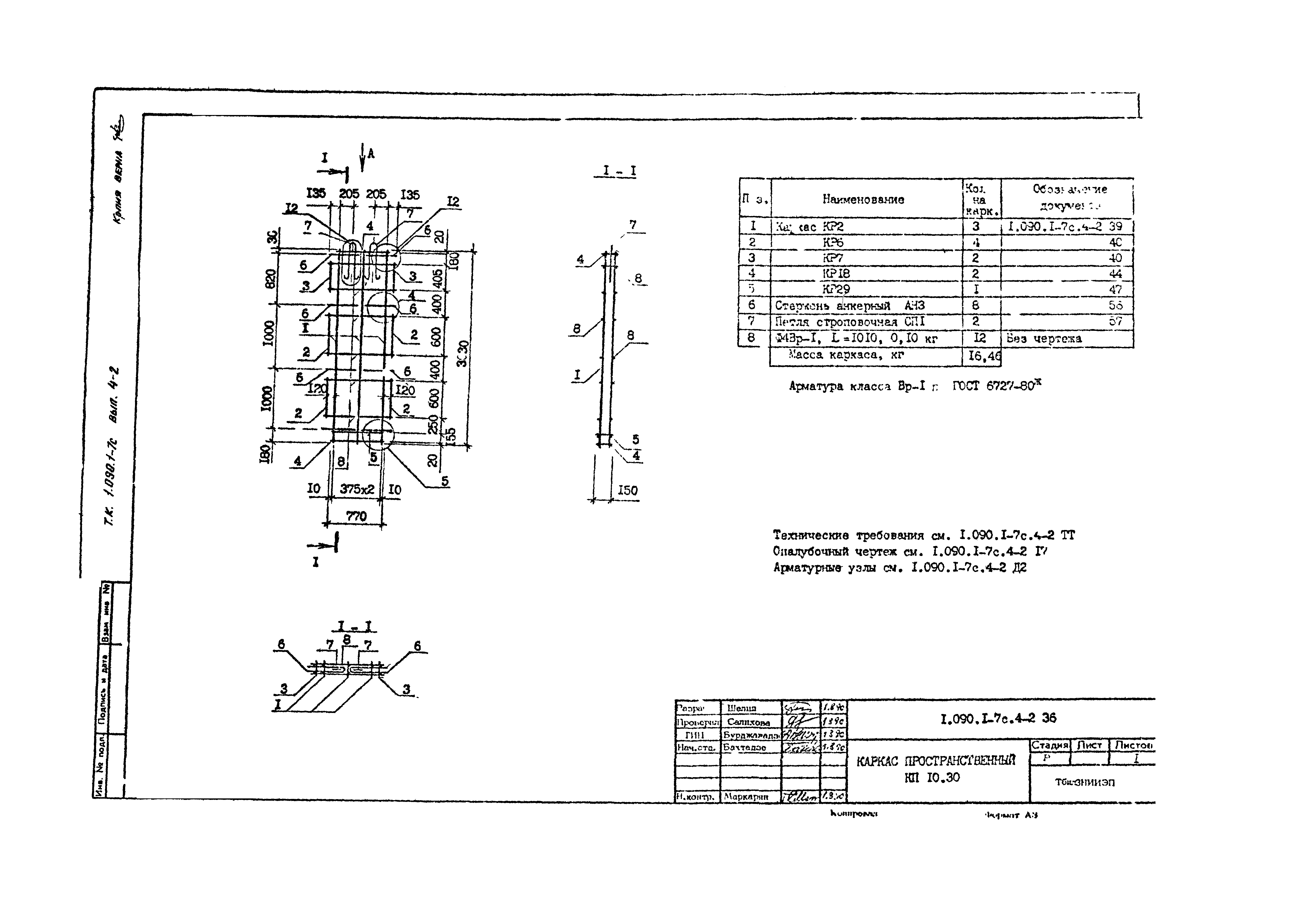
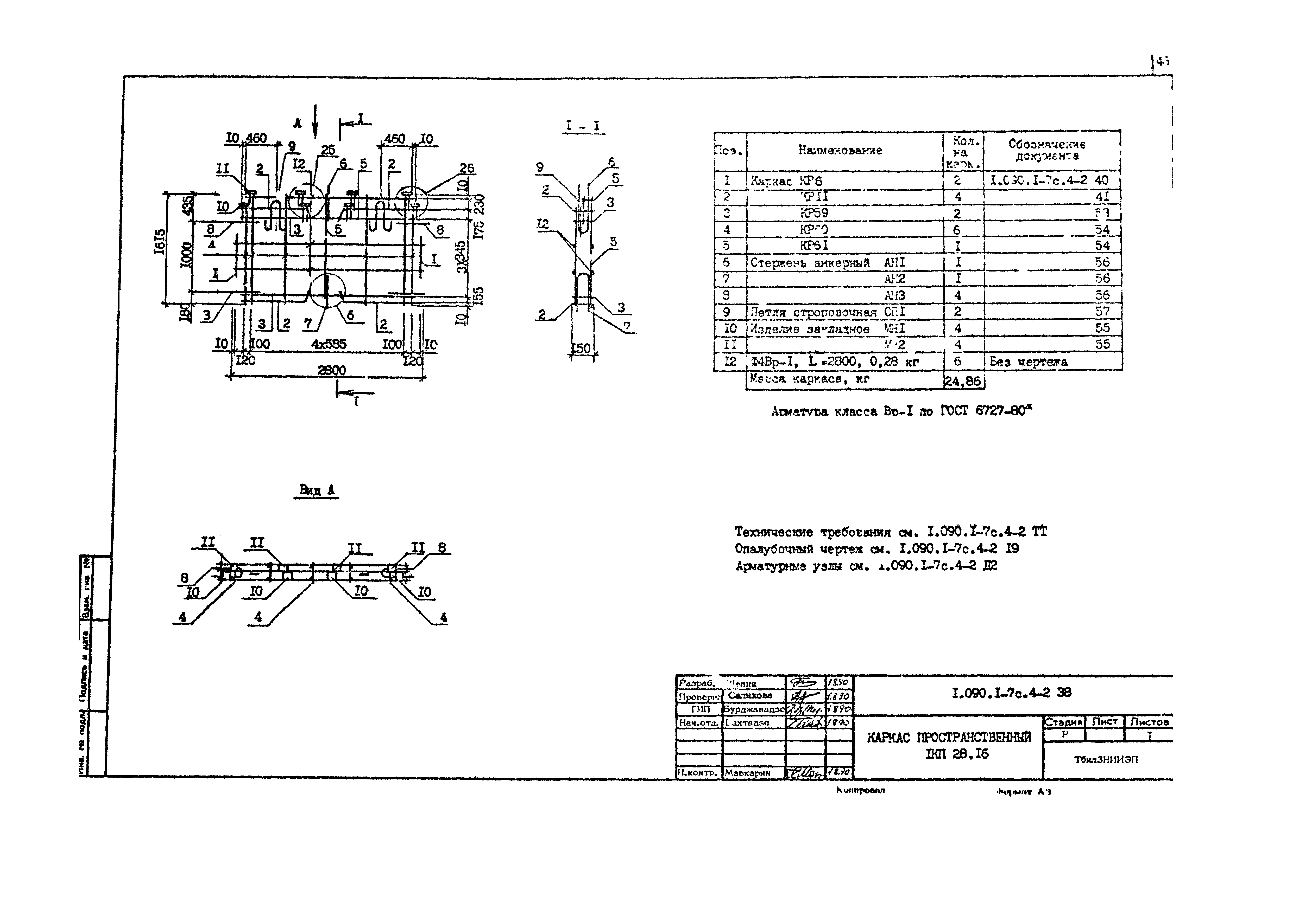
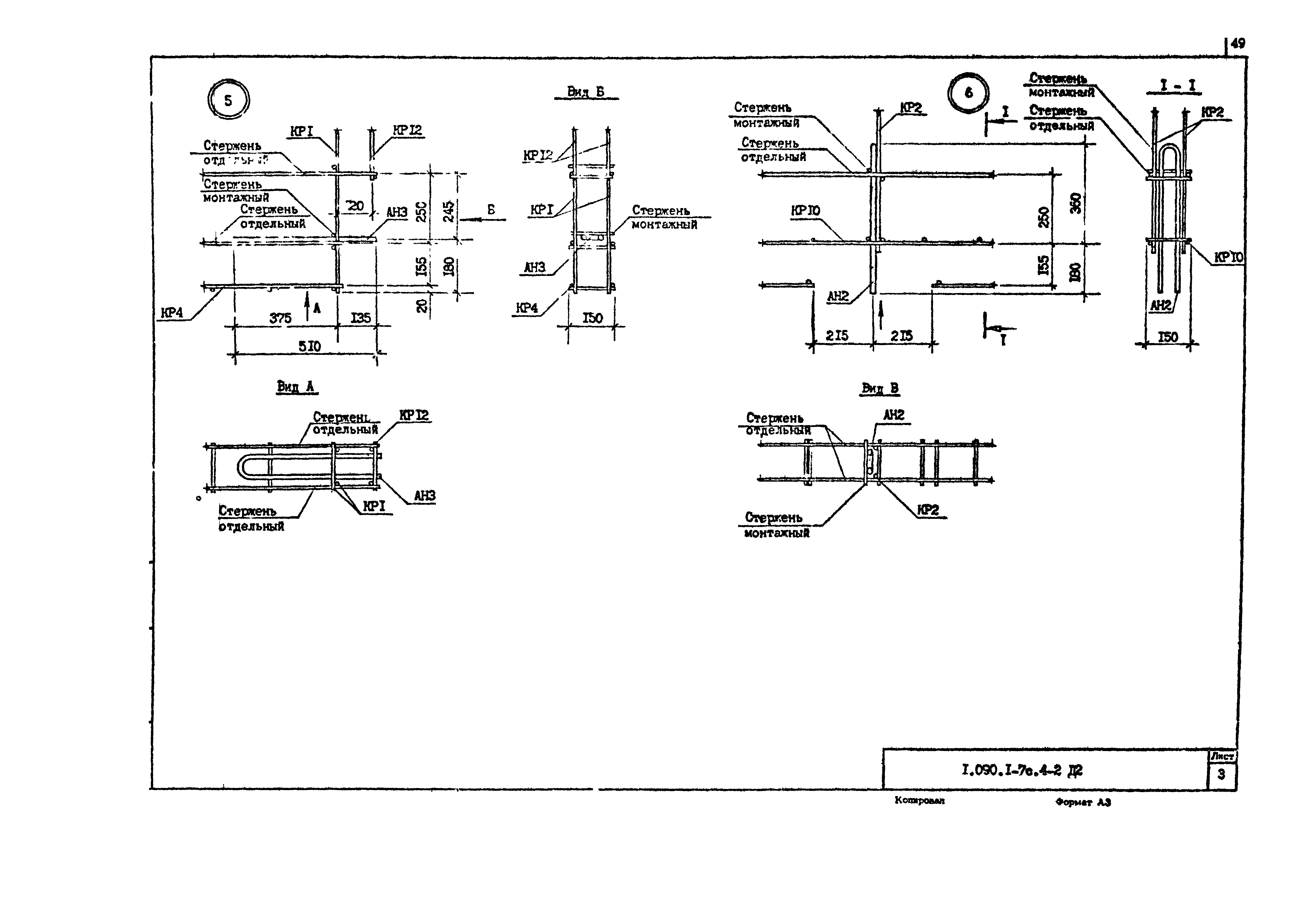
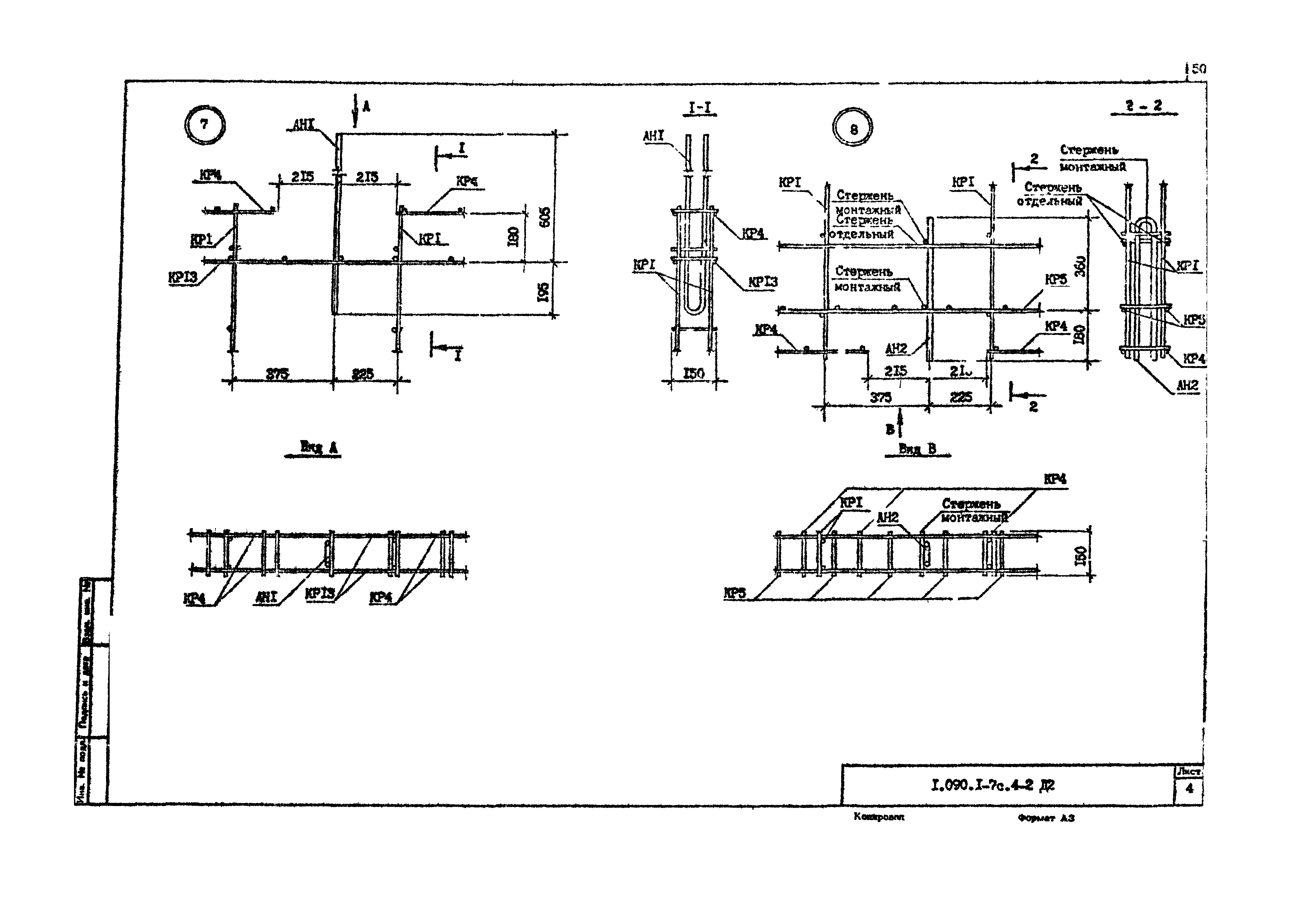
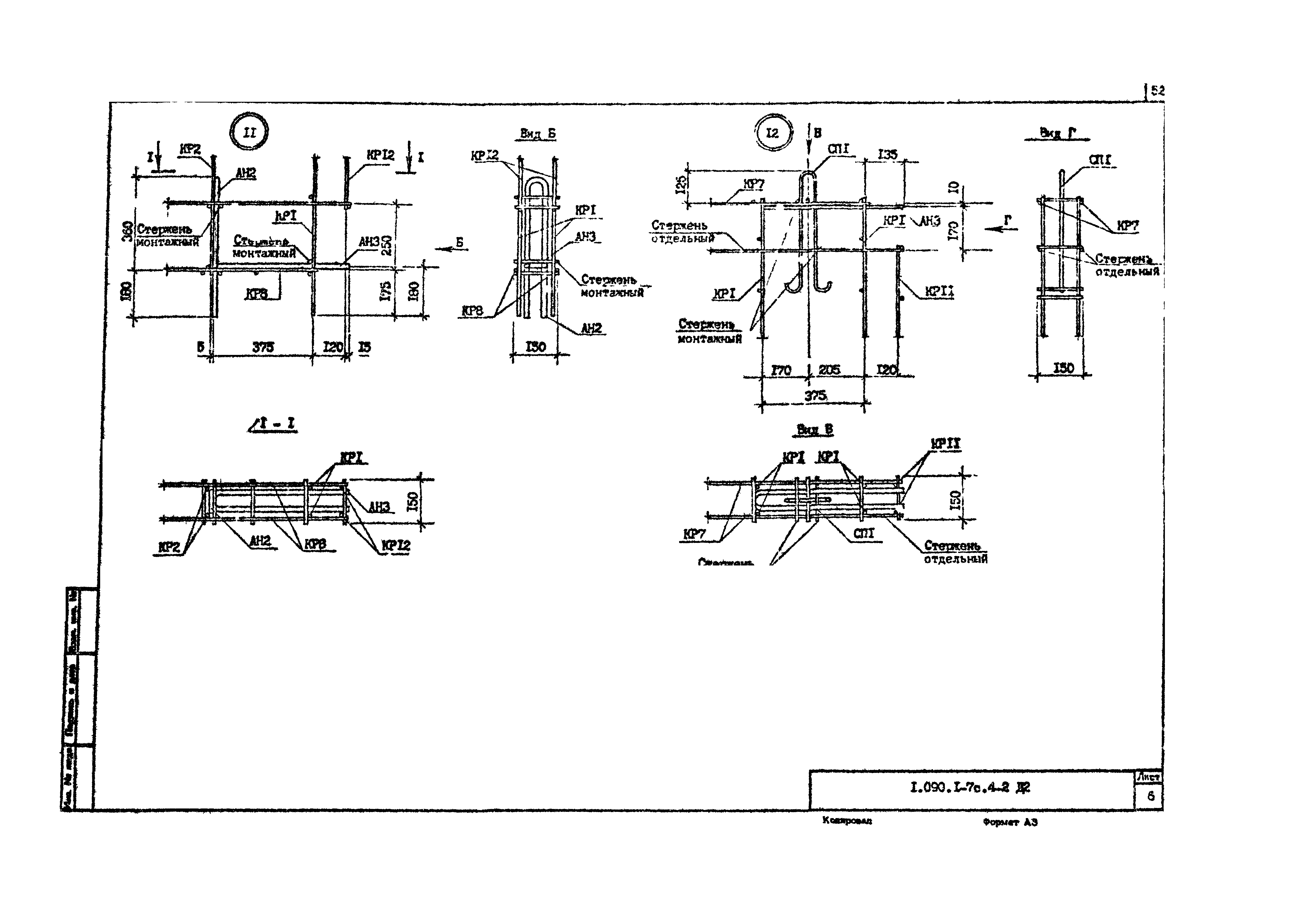
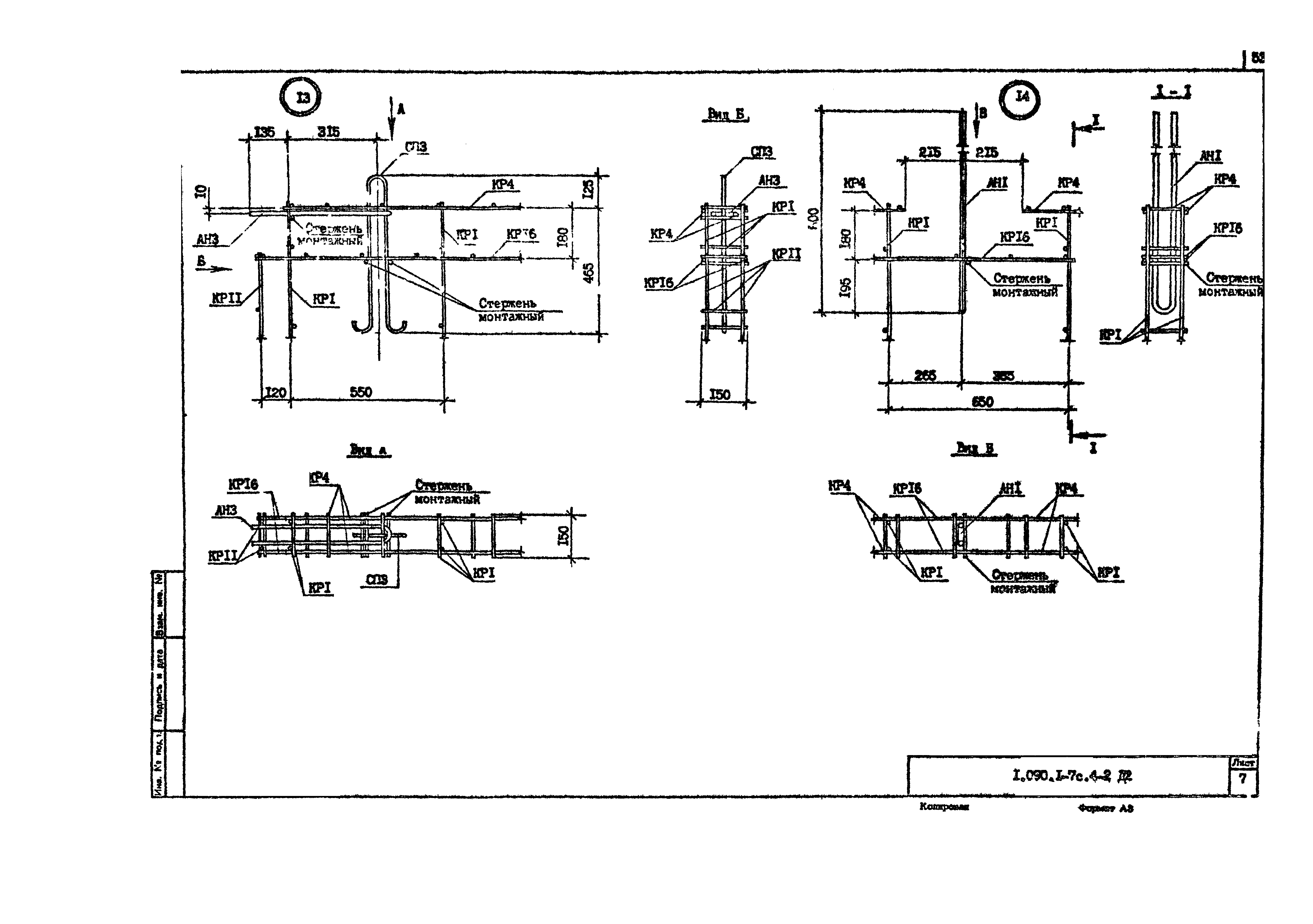
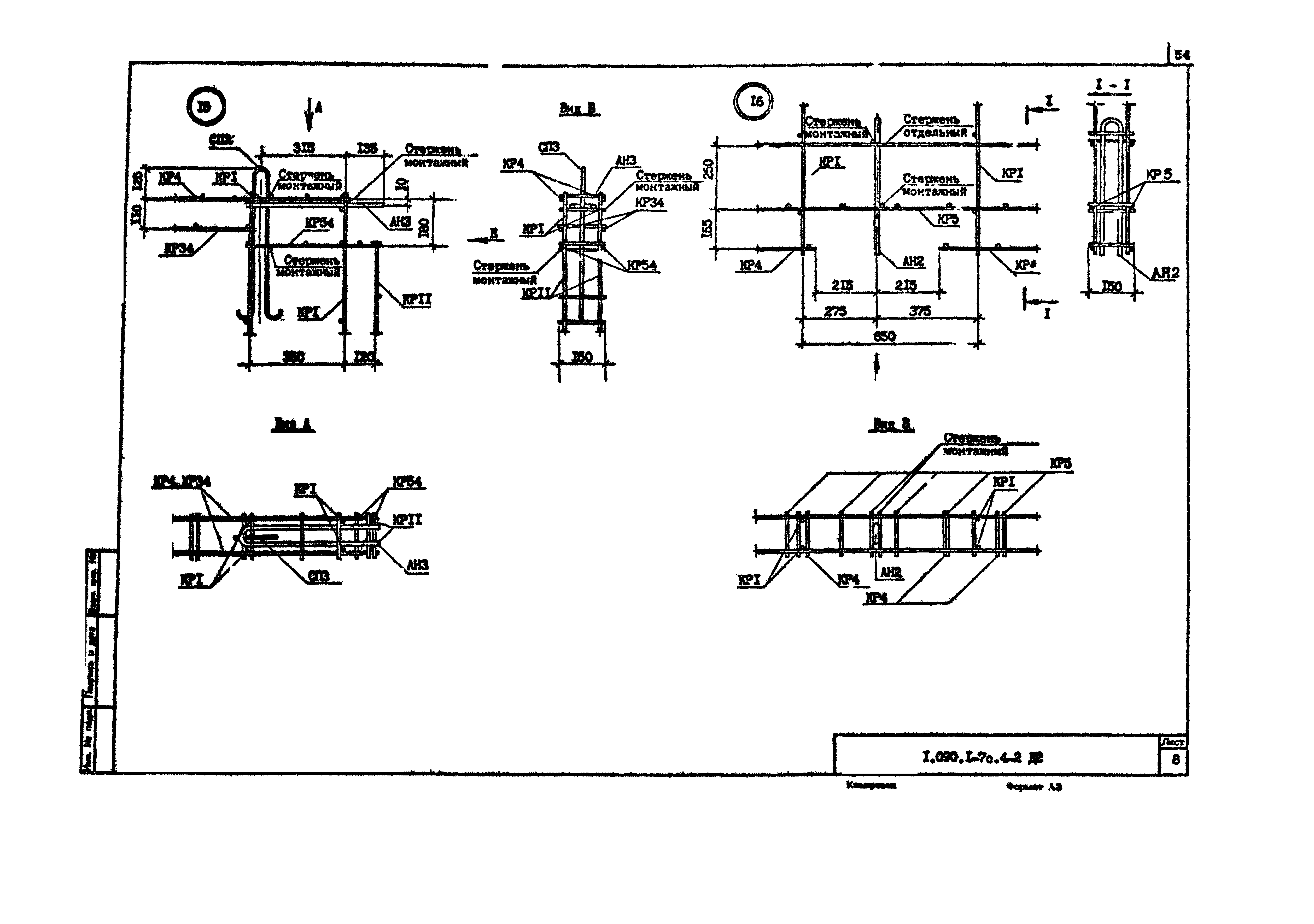
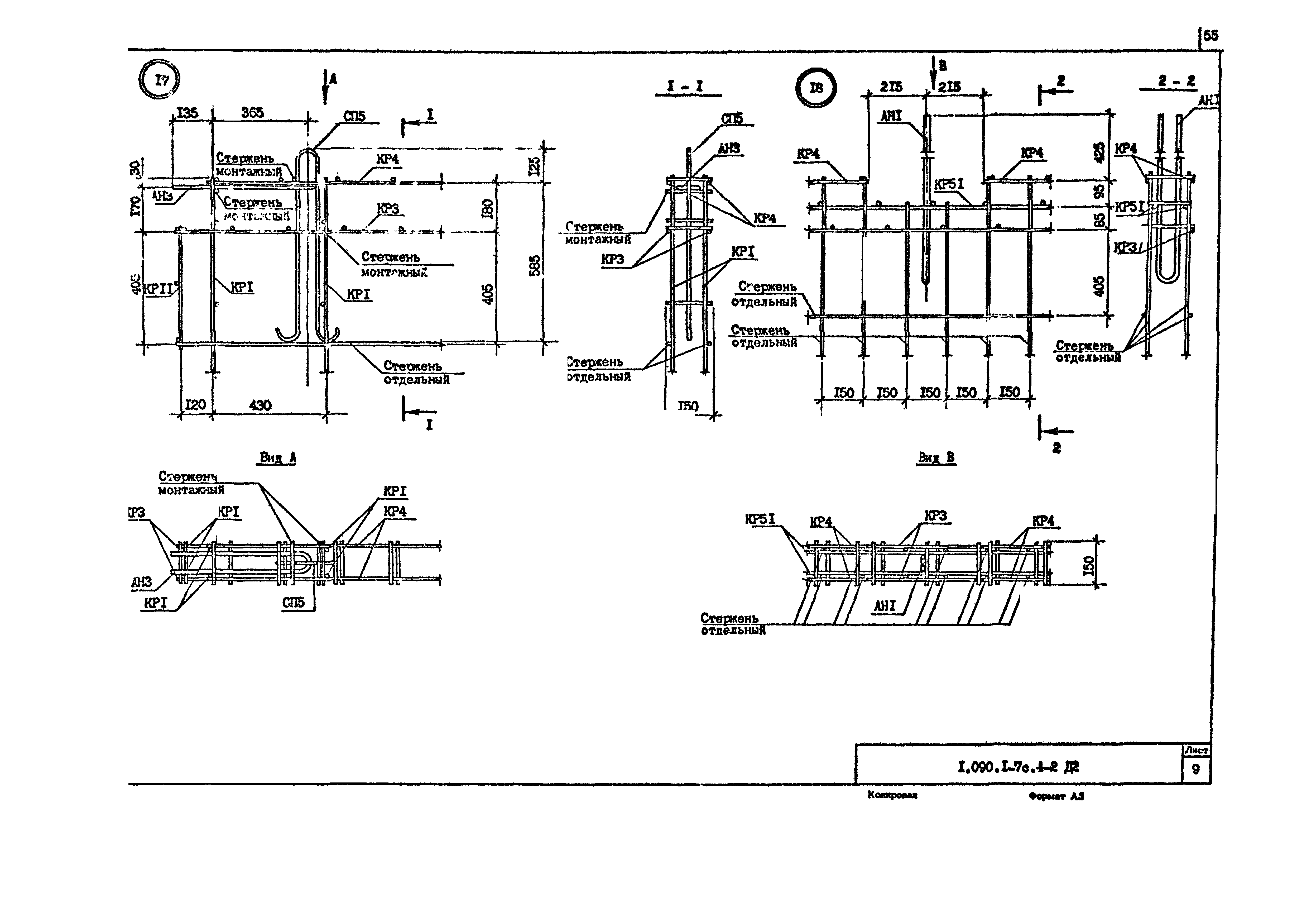
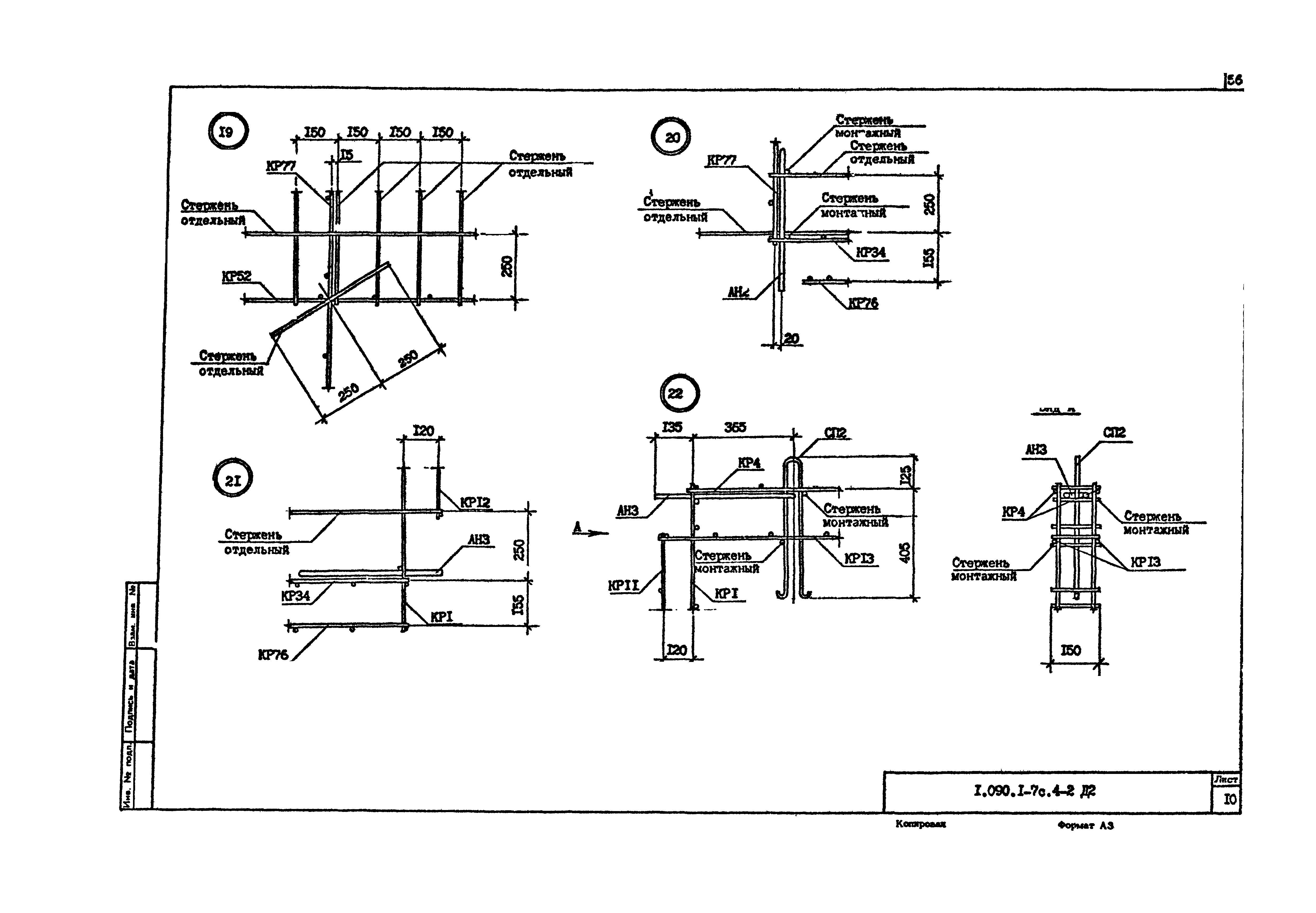
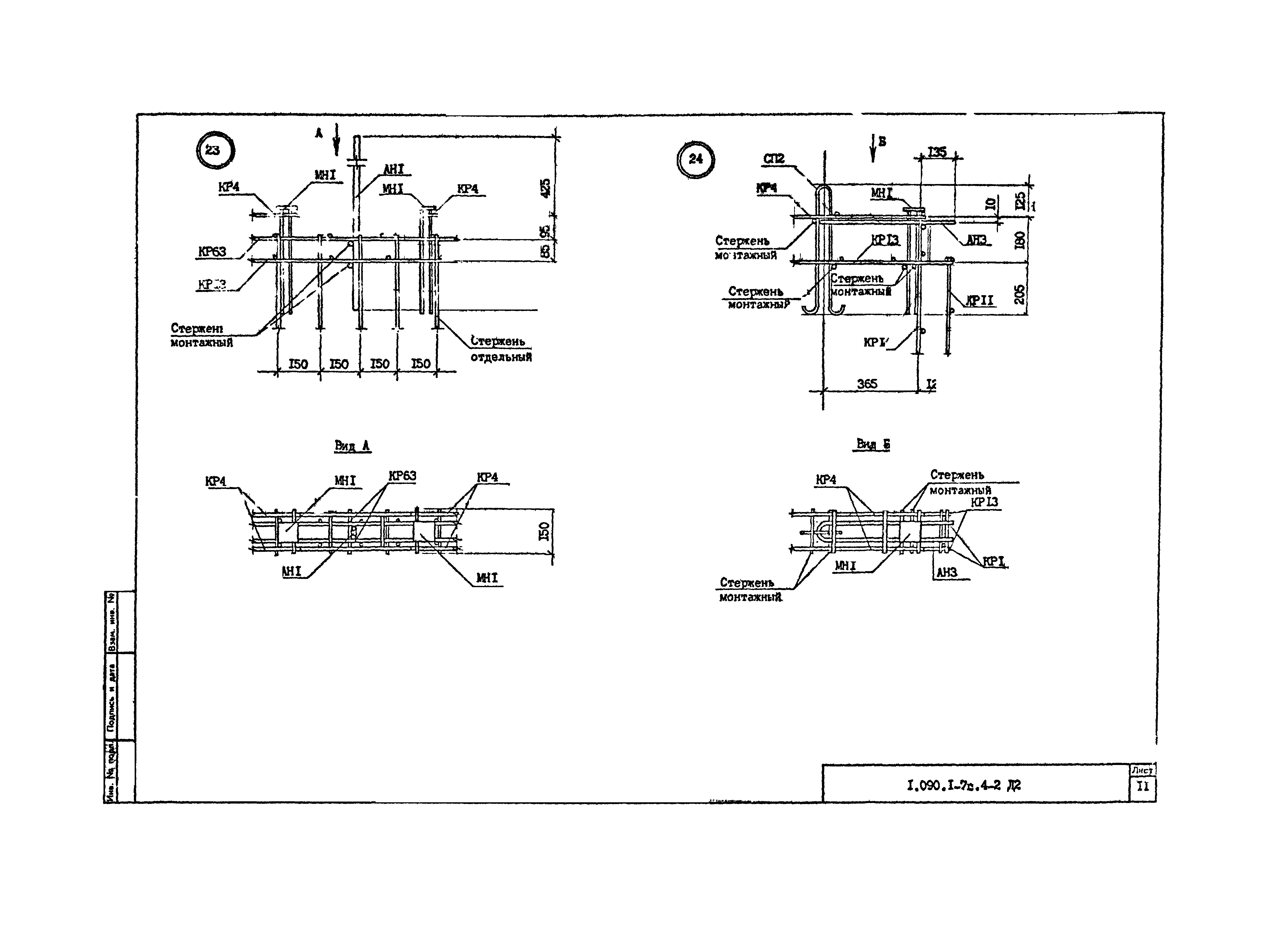
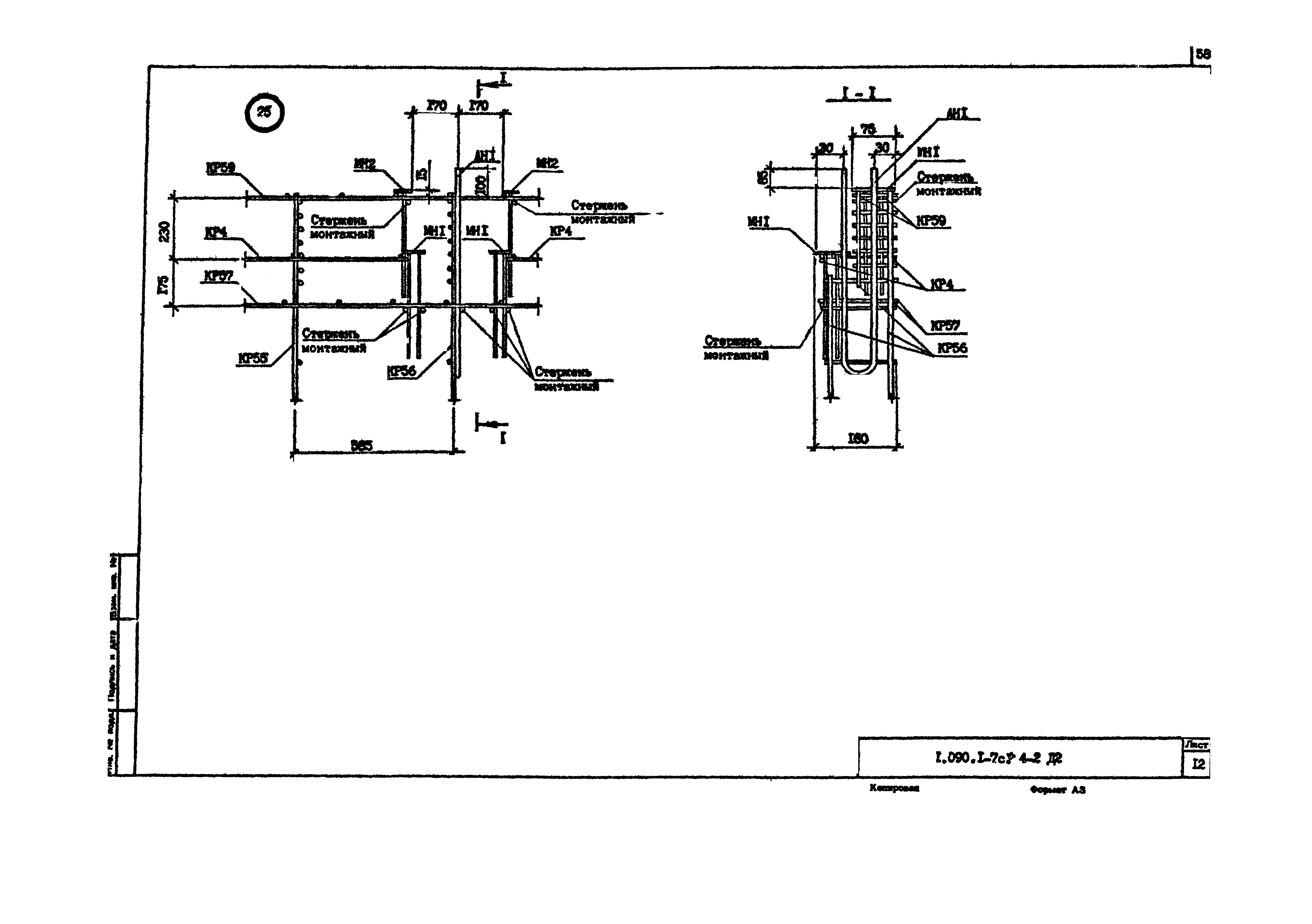
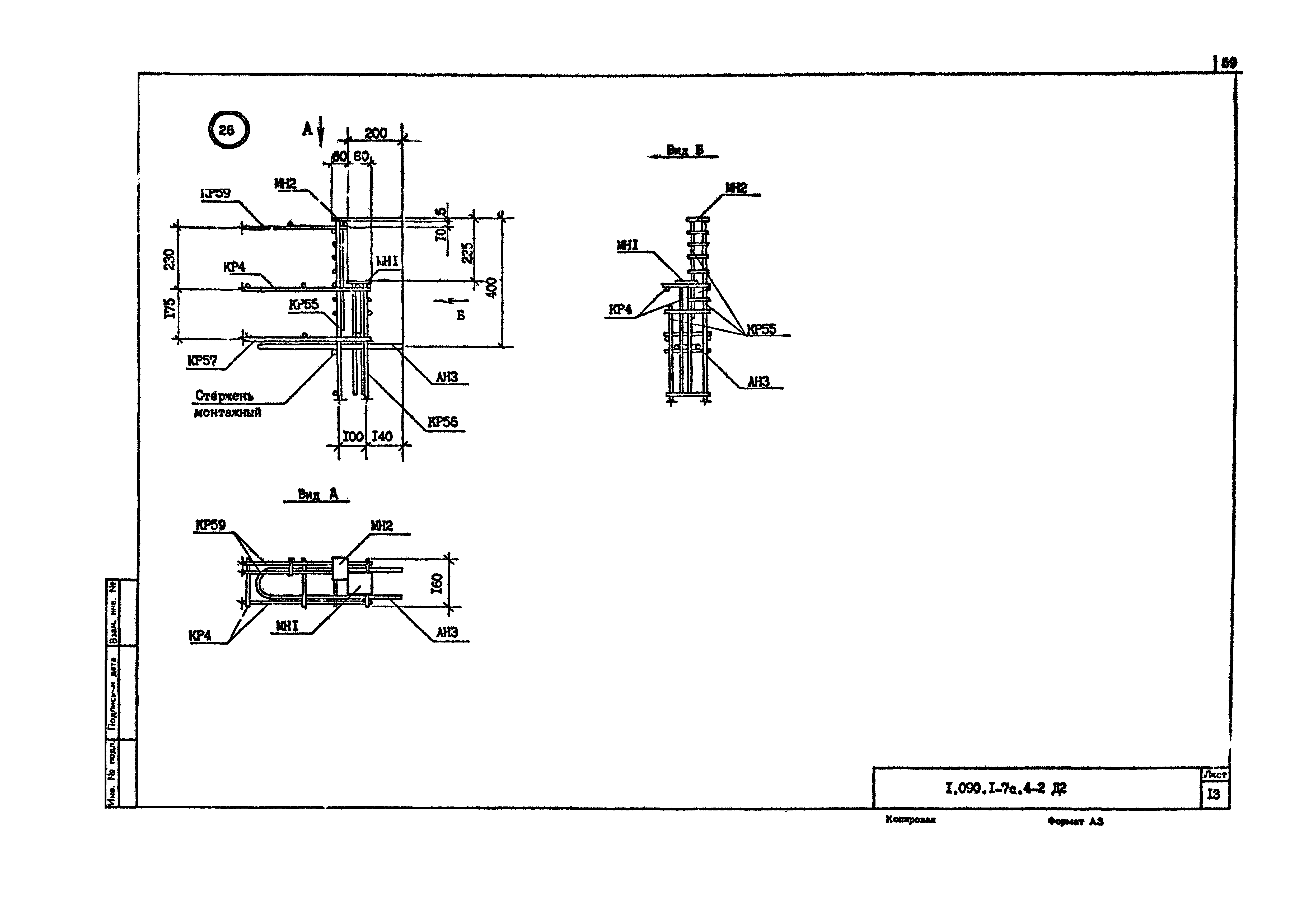
| Оглавление: | 1.090.1-7С.4-1 Содержание 1.090.1-7С.4-1-ТТ Технические требования 1.090.1-7С.4-1-01 Панель ПВР70.30.56-7Т-С9,ПВР70.30.56-3Т-С9 1.090.1-7С.4-1-02 Панель ПВ58.30-1Т-С9 1.090.1-7С.4-1-03 Панель ПВП58.30.15-1Т-С9 1.090.1-7С.4-1-04 Панель ПВП58.30.10-1Т-С9 1.090.1-7С.4-1-05 Панель ПВР58.30.42-7Т-С9,ПВР58.30.42-3Т-С9 1.090.1-7С.4-1-06 Панель ПВ28.30-1Т-С9 1.090.1-7С.4-1-07 Панель ПВ28.30-1ТВ-С9 1.090.1-7С.4-1-08 Панель ПВП28.30.13-1Т-С9 1.090.1-7С.4-1-09 Панель 1ПВП28.30.13-1Т-С9 1.090.1-7С.4-1-10 Панель ПВП28.30.10-1Т-С9 1.090.1-7С.4-1-11 Панель ПВГ28.30.10-1Т-С9 1.090.1-7С.4-1-12 Панель ПВГ28.30.13-1Т-С9 1.090.1-7С.4-1-13 Панель ПВР28.30.19-7Т-С9,ПВР28.30.19-3Т-С9 1.090.1-7С.4-1-14 Панель ПВР28.30.15-7Т-С9,ПВР28.30.15-3Т-С9 1.090.1-7С.4-1-15 Панель ПВ22.30-1Т-С9 1.090.1-7С.4-1-16 Панель ПВ16.30-1Т-С9 1.090.1-7С.4-1-17 Панель ПВ10.30-1Т-С9 1.090.1-7С.4-1-18 Панель ПВ28.16-1Т-С9 1.090.1-7С.4-1-19 Панель 1ПВ28.16-1Т-С9 1.090.1-7С.4-1-Д1 Узлы опалубочные 1.090.1-7С.4-1-20 Каркас пространственный КПР70.30.56-7,КПР70.30.56-3 1.090.1-7С.4-1-21 Каркас пространственный КП58.30 1.090.1-7С.4-1-22 Каркас пространственный КПП58.30.15 1.090.1-7С.4-1-23 Каркас пространственный КПП58.30.10 1.090.1-7С.4-1-24 Каркас пространственный КПР58.30.42-7,КПР58.30.42-3 1.090.1-7С.4-1-25 Каркас пространственный КП28.30 1.090.1-7С.4-1-26 Каркас пространственный КПВ28.30 1.090.1-7С.4-1-27 Каркас пространственный КПП28.30.13 1.090.1-7С.4-1-28 Каркас пространственный 1КПП28.30.13 1.090.1-7С.4-1-29 Каркас пространственный КПП28.30.10 1.090.1-7С.4-1-30 Каркас пространственный КПГ28.30.10 1.090.1-7С.4-1-31 Каркас пространственный КПГ28.30.13 1.090.1-7С.4-1-32 Каркас пространственный КПР28.30.19-7,КПР28.30.19-3 1.090.1-7С.4-1-33 Каркас пространственный КПР28.30.15-7,КПР28.30.15-3 1.090.1-7С.4-1-34 Каркас пространственный КП22.30 1.090.1-7С.4-1-35 Каркас пространственный КП16.30 1.090.1-7С.4-1-36 Каркас пространственный КП10.30 1.090.1-7С.4-1-37 Каркас пространственный КП28.16 1.090.1-7С.4-1-38 Каркас пространственный 1КП28.16 1.090.1-7С.4-1-Д1 Узлы арматурные 1.090.1-7С.4-1-39 Каркас КР1...КР5 1.090.1-7С.4-1-40 Каркас КР6...КР10 1.090.1-7С.4-1-41 Каркас КР11,КР12 1.090.1-7С.4-1-42 Каркас КР13,КР14 1.090.1-7С.4-1-43 Каркас КР15,КР16 1.090.1-7С.4-1-44 Каркас КР17,КР18 1.090.1-7С.4-1-45 Каркас КР19...КР21 1.090.1-7С.4-1-46 Каркас КР22...КР24 1.090.1-7С.4-1-47 Каркас КР25...КР30 1.090.1-7С.4-1-48 Каркас КР31...КР35 1.090.1-7С.4-1-49 Каркас КР36...КР41 1.090.1-7С.4-1-50 Каркас КР42...КР49 1.090.1-7С.4-1-51 Каркас КР50...КР53 1.090.1-7С.4-1-52 Каркас КР54...КР57 1.090.1-7С.4-1-53 Каркас КР58,КР59 1.090.1-7С.4-1-54 Каркас КР60,КР61 1.090.1-7С.4-1-55 Изделие закладное МН1,МН2 1.090.1-7С.4-1-56 Стержень анкерный АН1...АН6 1.090.1-7С.4-1-57 Петля строповочная СП1...СП4 1.090.1-7С.4-1-58 Петля строповочная СП5,СП6 1.090.1-7С.4-1-РС Ведомость расхода стали |
| Разработан: | ТбилЗНИИЭП |
| Утверждён: | 20.11.1990 Госкомархитектура (209) |
| Заменяет собой: |







































































