Скачать Серия 1.090.1-7с Выпуск 5-1. Плиты перекрытий многопустотные и ребристые длиной 2980 мм, армированные стержнями из стали класса А-III, длиной 5980 и 7180 мм, армированные предварительно напрягаемой арматурой из стали класса Ат-V, для применения в районах сейсмичностью 7 и 8 баллов. Рабочие чертежиДата актуализации: 01.01.2021
|
| Обозначение: | Серия 1.090.1-7с |
| Обозначение англ: | Series 1.090.1-7с |
| Статус: | не определен законодательством |
| Название рус.: | Выпуск 5-1. Плиты перекрытий многопустотные и ребристые длиной 2980 мм, армированные стержнями из стали класса А-III, длиной 5980 и 7180 мм, армированные предварительно напрягаемой арматурой из стали класса Ат-V, для применения в районах сейсмичностью 7 и 8 баллов. Рабочие чертежи |
| Дата добавления в базу: | 01.09.2013 |
| Дата актуализации: | 01.01.2021 |
| Дата введения: | 01.03.1991 |
| Дата окончания срока действия: | 30.06.2003 |
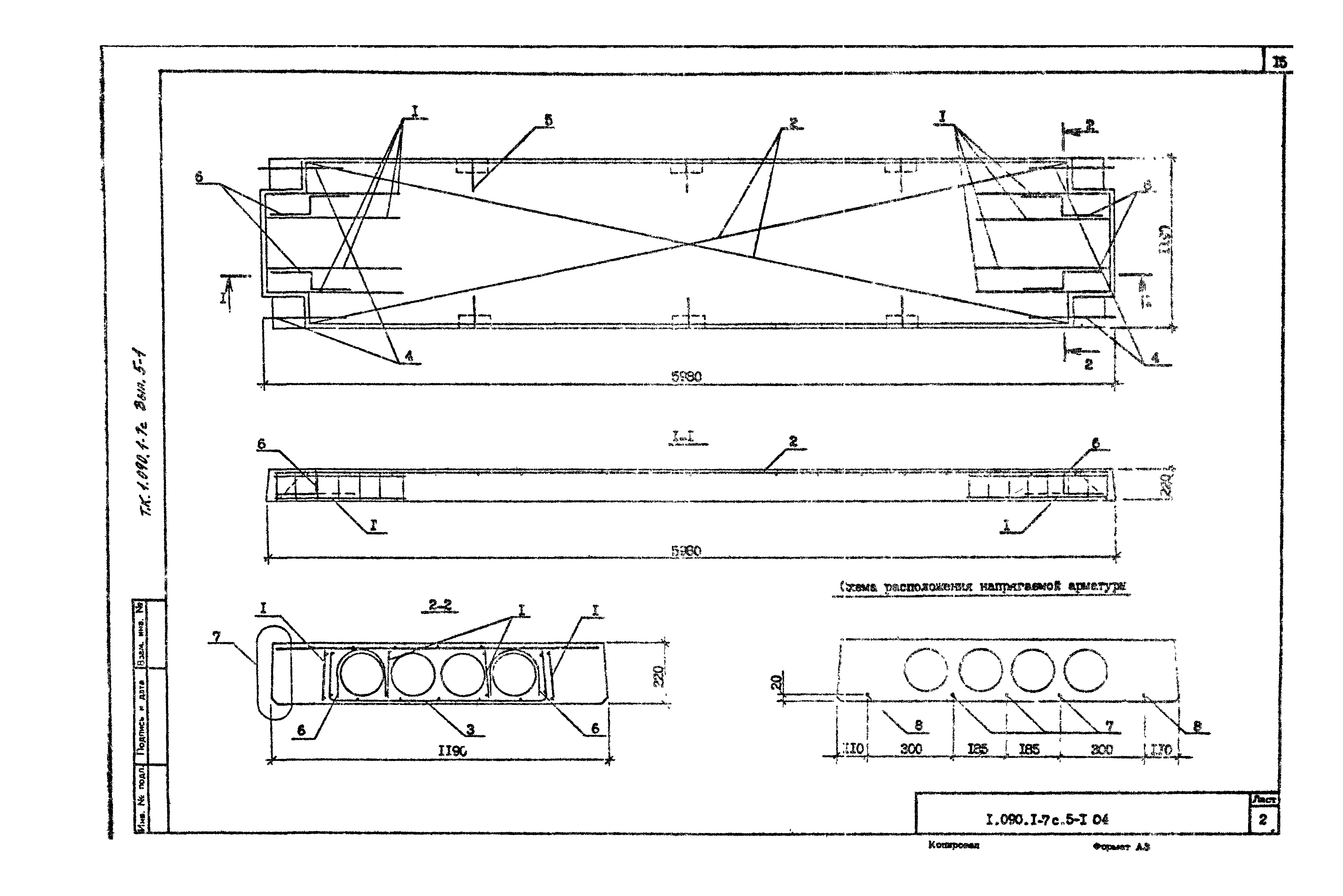
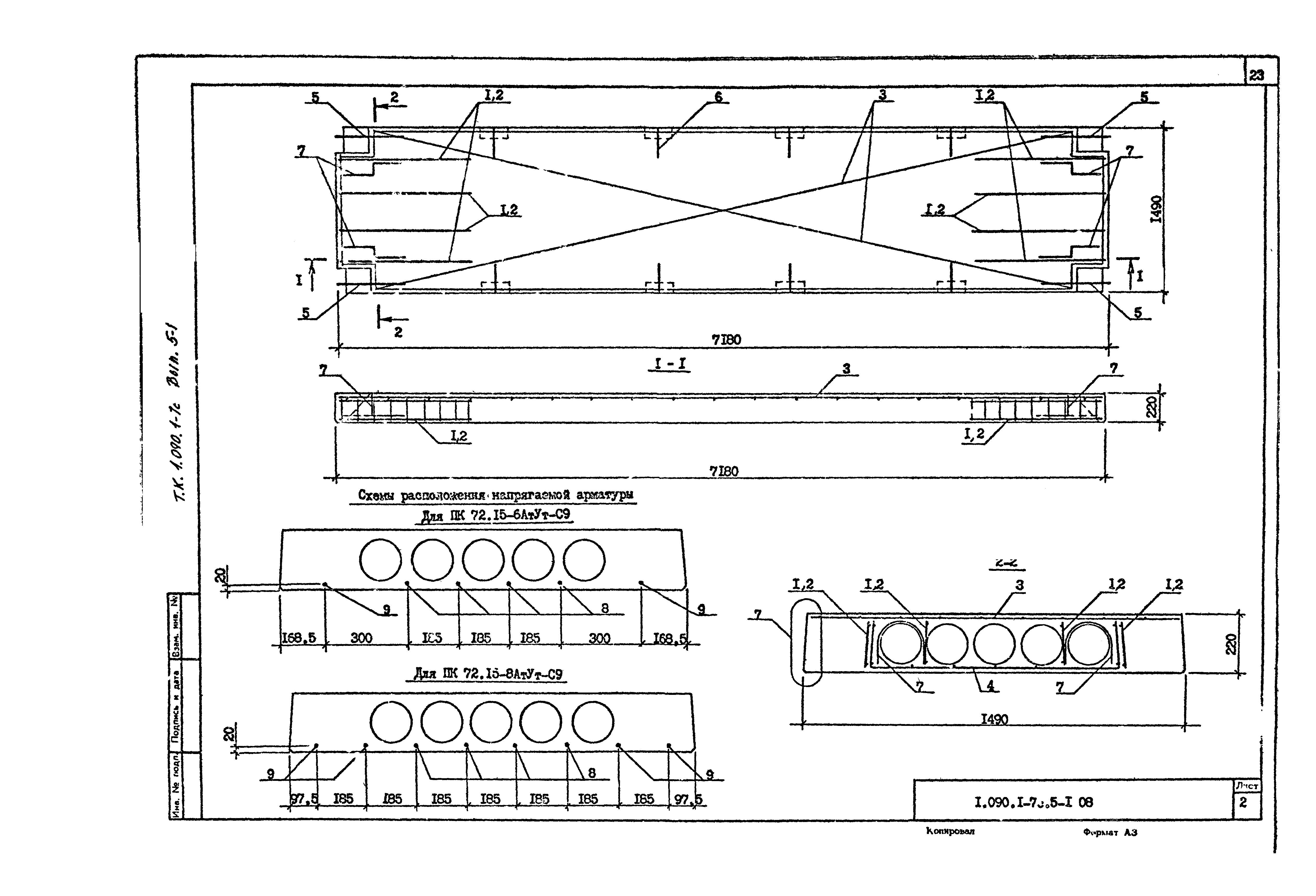
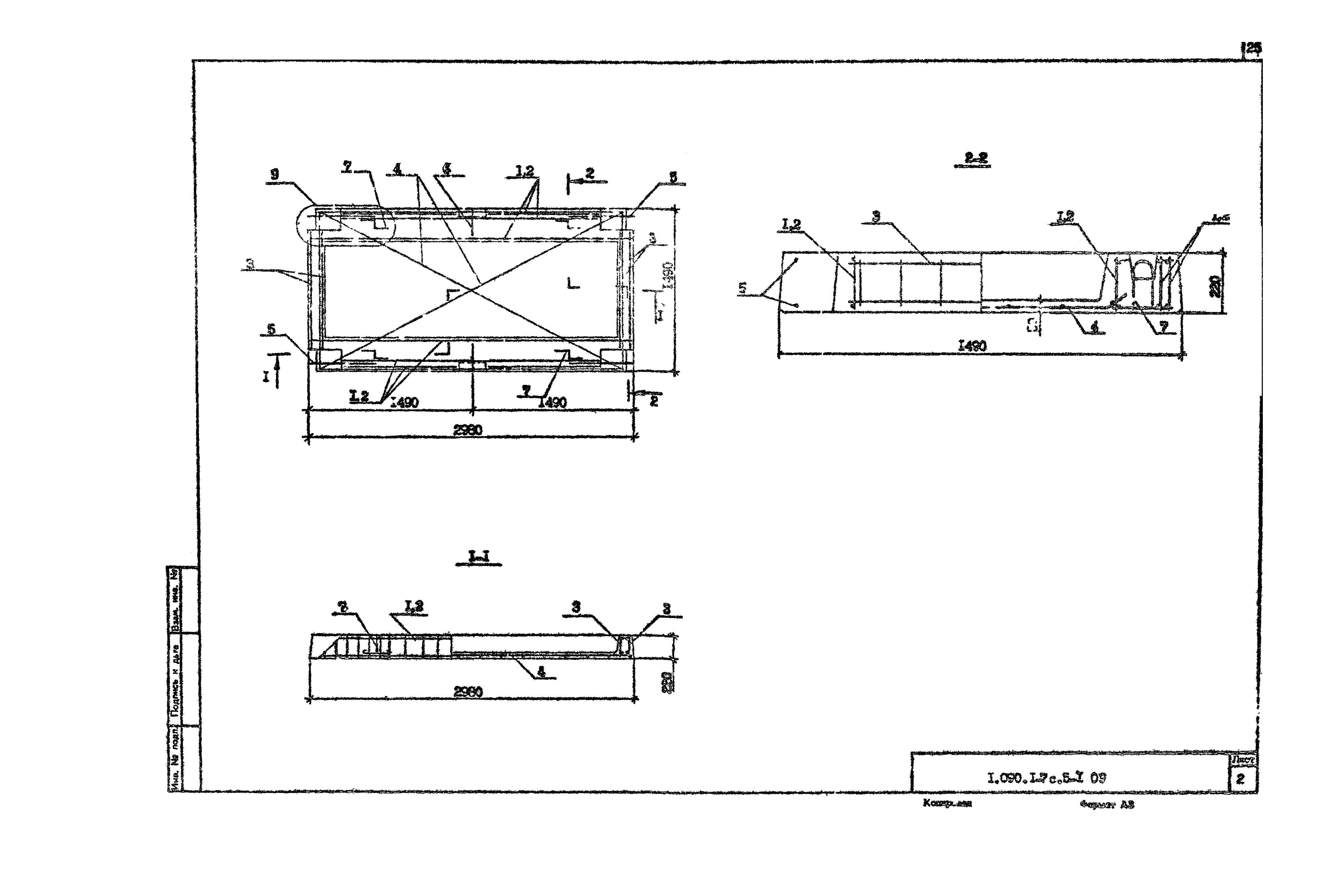
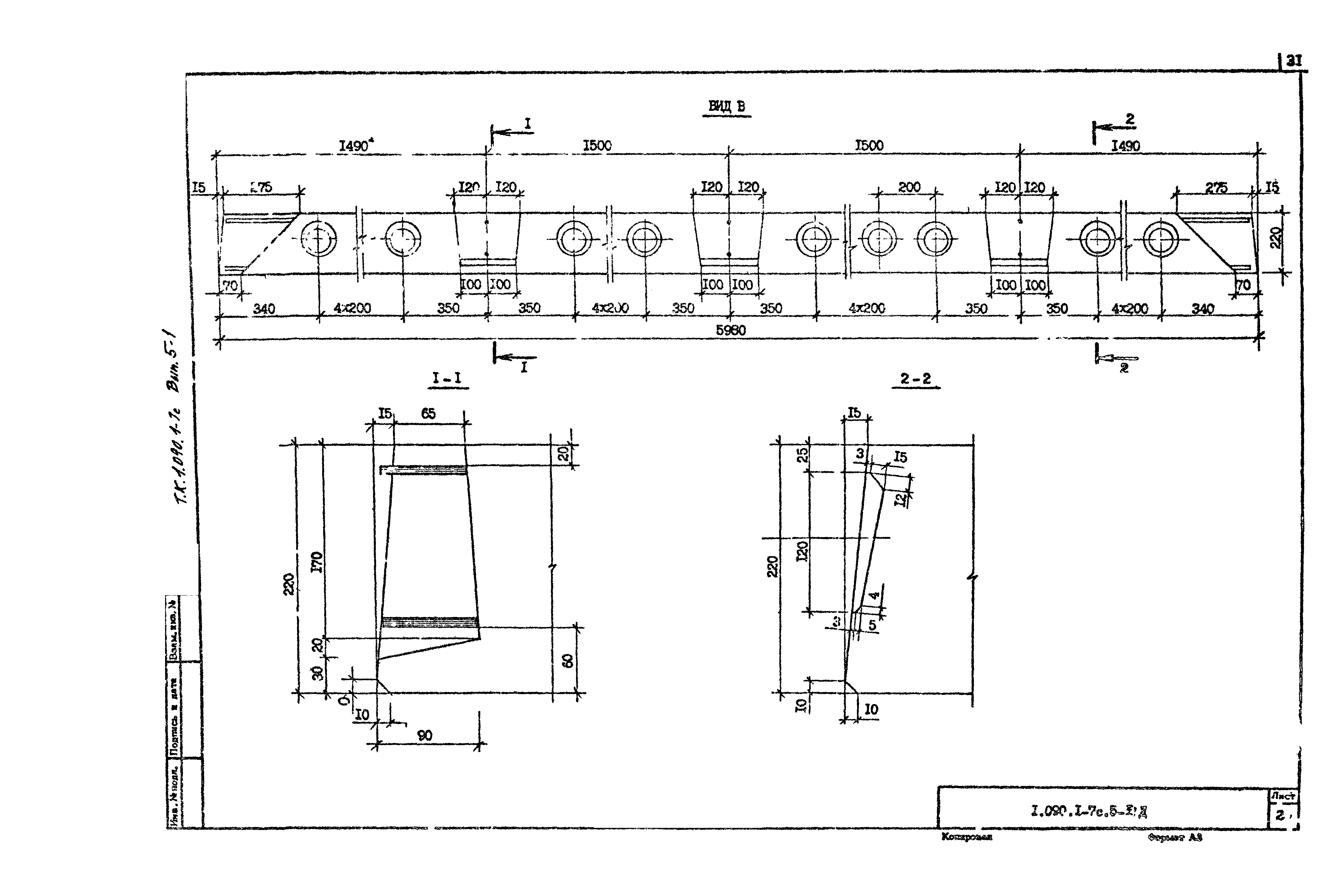
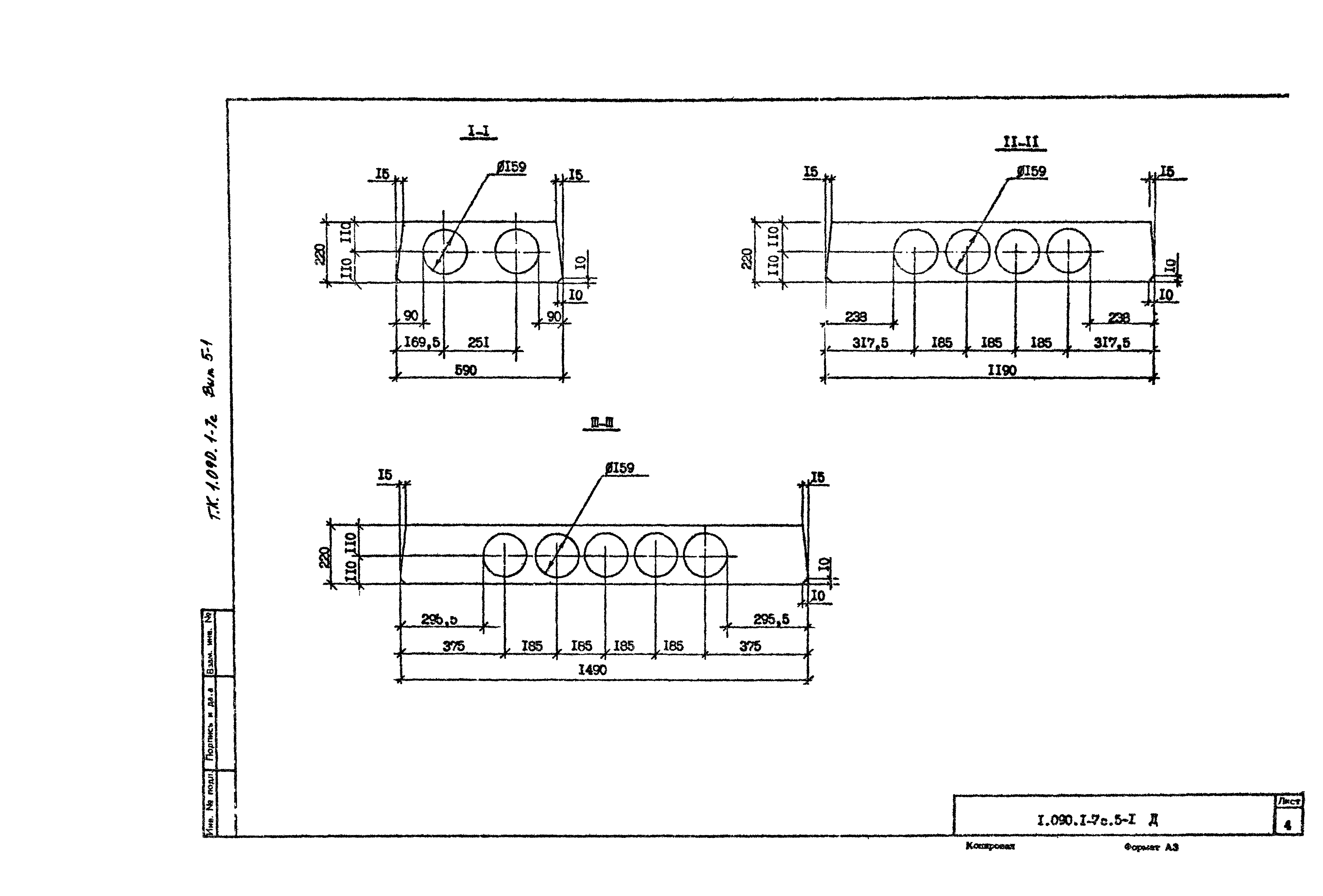
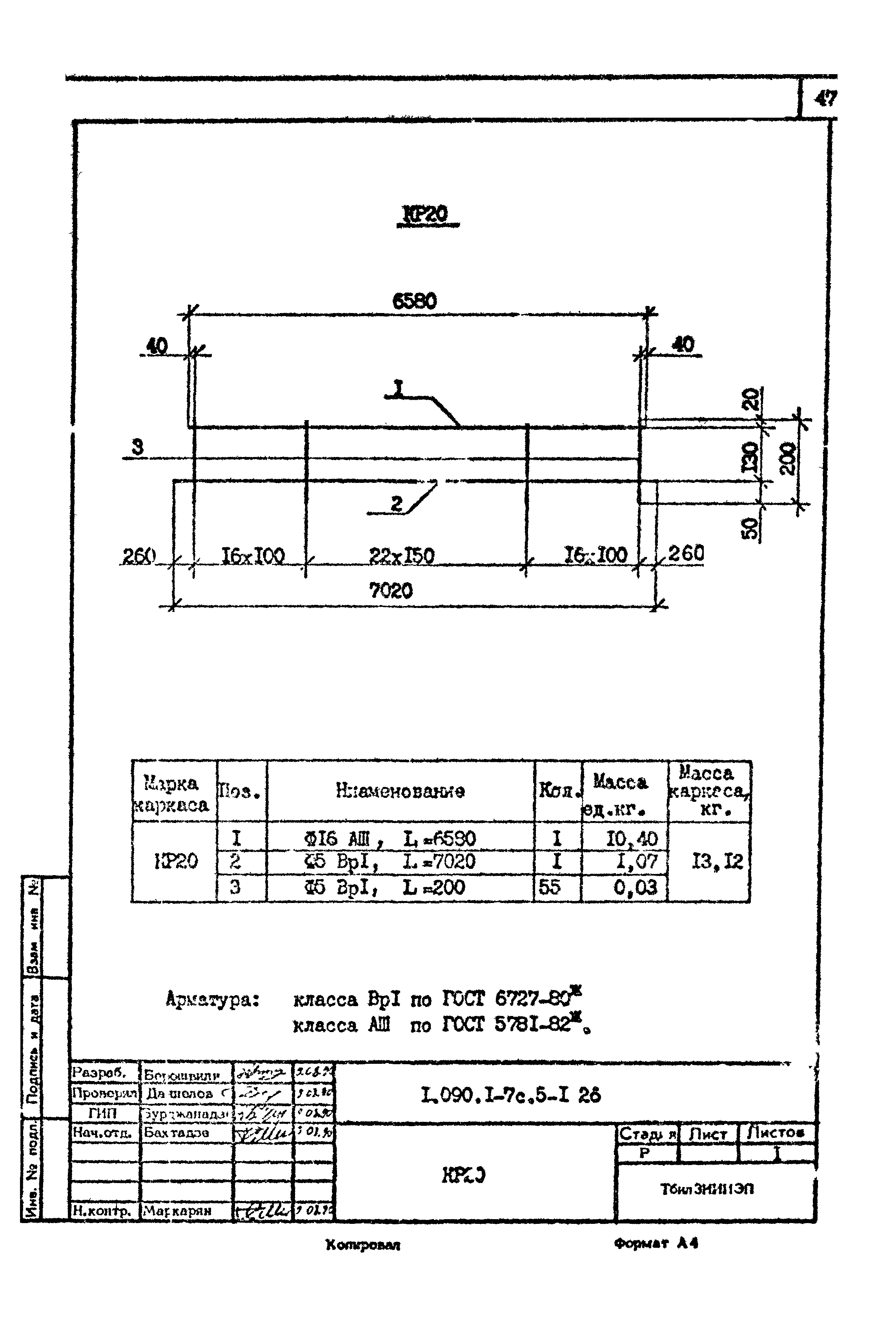
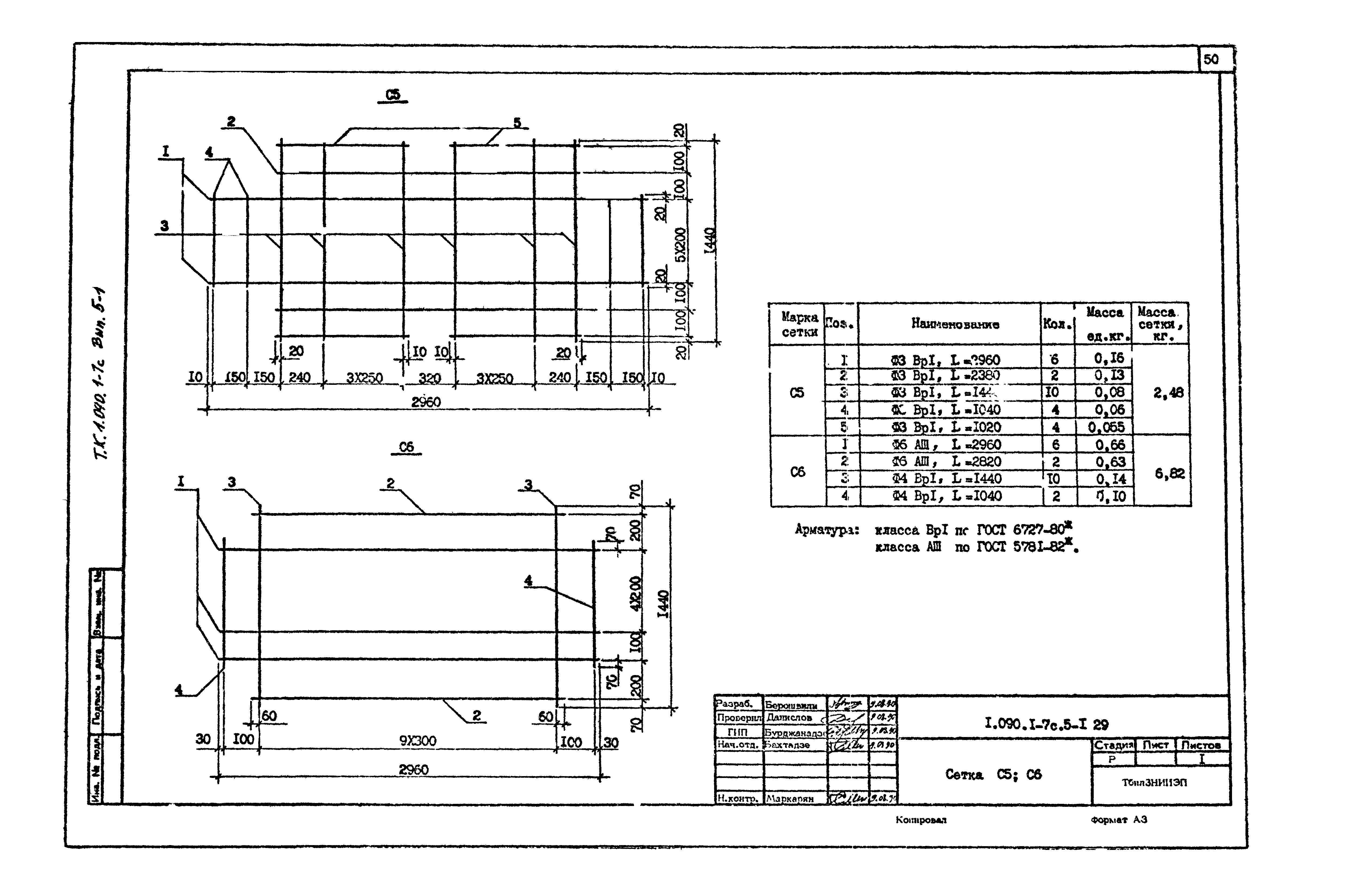
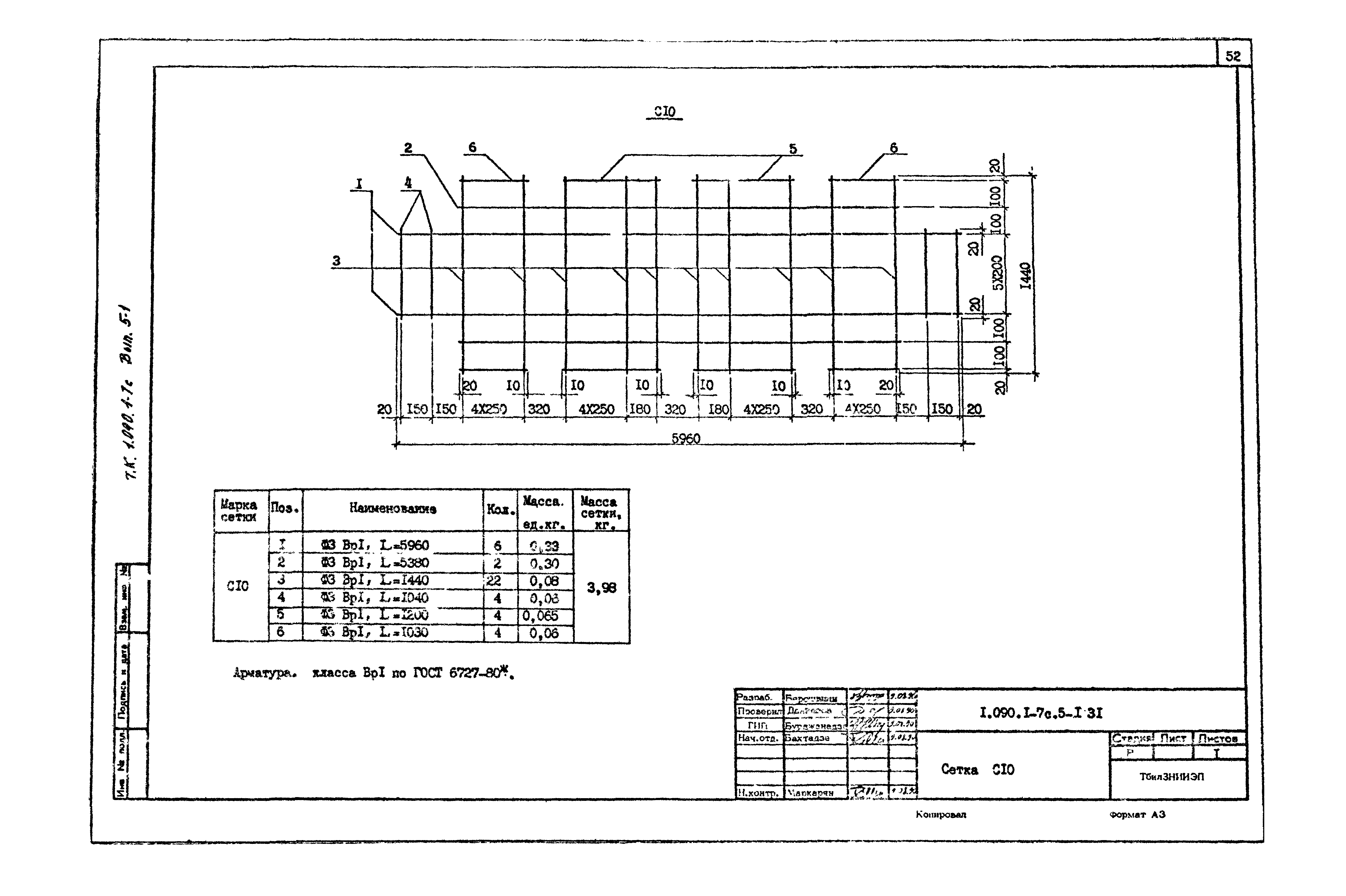
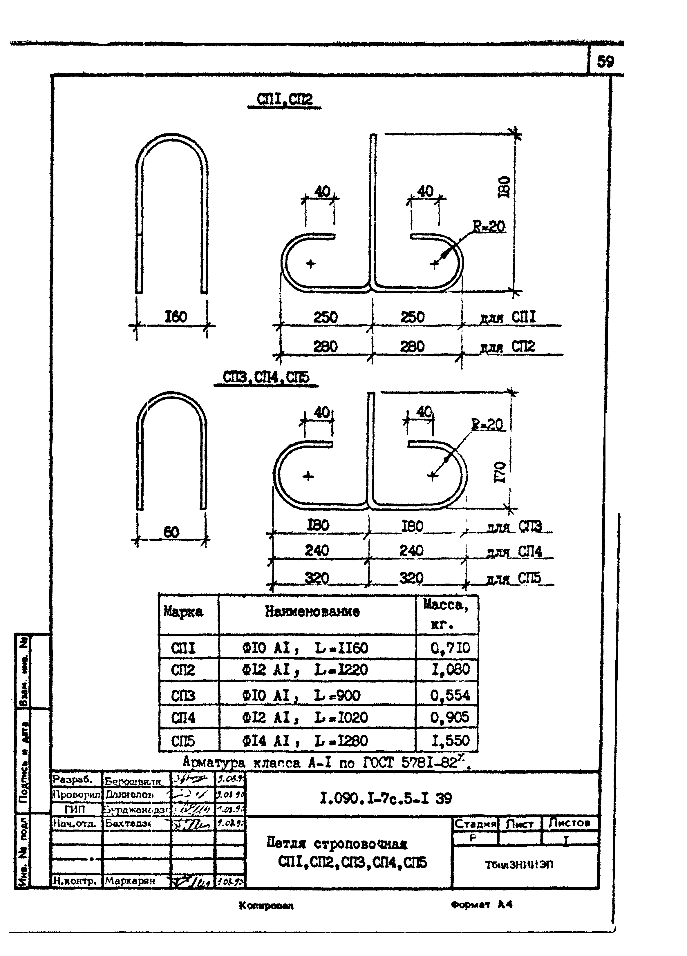
| Оглавление: | 1.090.1-7С.5-2 Содержание 1.090.1-7С.5-2-ТТ Техническое требование 1.090.1-7С.5-2-01 Панель перекрытия ПК30.12-6АIIIт-С,ПК30.12-8АIIIт-С 1.090.1-7С.5-2-02 Панель перекрытия ПК30.15-6АIIIт-С,ПК30.15-8АIIIт-С 1.090.1-7С.5-2-03 Панель перекрытия ПК60.6-6VIт-С,ПК60.6-8АVт-С 1.090.1-7С.5-2-04 Панель перекрытия ПК60.12-6VIт-С,ПК60.12-8АVт-С 1.090.1-7С.5-2-05 Панель перекрытия ПК60.15-6VIт-С,ПК60.15-8АVт-С 1.090.1-7С.5-2-06 Панель перекрытия ПК72.6-6VIт-С,ПК72.6-8АVт-С 1.090.1-7С.5-2-07 Панель перекрытия ПК72.12-6VIт-С,ПК72.12-8АVт-С 1.090.1-7С.5-2-08 Панель перекрытия ПК72.15-6VIт-С,ПК72.15-8АVт-С 1.090.1-7С.5-2-09 Панель перекрытия ПР30.15-6АIIIт-С,ПР30.15-8АIIIт-С 1.090.1-7С.5-2-10 Панель перекрытия ПР60.15-6АVт-С,ПР60.15-8АVт-С 1.090.1-7С.5-2-11 Панель перекрытия ПР72.15-6АVт-С,ПР72.15-8АVт-С 1.090.1-7С.5-2-Д Узлы 1.090.1-7С.5-2-12 Каркас пространственный КП1,КП2 1.090.1-7С.5-2-13 Каркас пространственный КП3 1.090.1-7С.5-2-14 Каркас пространственный КП4,КП5 1.090.1-7С.5-2-15 Каркас КР1,КР2 1.090.1-7С.5-2-16 Каркас КР3,КР4 1.090.1-7С.5-2-17 Каркас КР5,КР6 1.090.1-7С.5-2-18 Каркас КР7,КР8 1.090.1-7С.5-2-19 Каркас КР9 1.090.1-7С.5-2-20 Каркас КР10 1.090.1-7С.5-2-21 Каркас КР11,КР12 1.090.1-7С.5-2-22 Каркас КР13,КР14 1.090.1-7С.5-2-23 Каркас КР15,КР16 1.090.1-7С.5-2-24 Каркас КР17 1.090.1-7С.5-2-25 Каркас КР18,КР19 1.090.1-7С.5-2-26 Каркас КР20 1.090.1-7С.5-2-27 Сетка С1,С2 1.090.1-7С.5-2-28 Сетка С3,С4 1.090.1-7С.5-2-29 Сетка С5,С6 1.090.1-7С.5-2-30 Сетка С7,С8,С9,С14 1.090.1-7С.5-2-31 Сетка С10 1.090.1-7С.5-2-32 Сетка С11,С12 1.090.1-7С.5-2-33 Сетка С13 1.090.1-7С.5-2-34 Сетка С15 1.090.1-7С.5-2-35 Сетка С16 1.090.1-7С.5-2-36 Сетка С17 1.090.1-7С.5-2-37 Сетка С18,С19,С20 1.090.1-7С.5-2-38 Стержень анкерный АН1,АН2,АН3 1.090.1-7С.5-2-39 Петля строповочная СП1,СП2,СП3,СП4,СП5 1.090.1-7С.5-2-РС Ведомость расхода стали |
| Разработан: | ТбилЗНИИЭП |
| Утверждён: | 20.11.1990 Госкомархитектура (209) |
| Заменяет собой: |



































































