Скачать Серия 1.090.1-3пв Выпуск 8-1. Изделия соединительные стальные. Рабочие чертежиДата актуализации: 01.01.2021
|
| Обозначение: | Серия 1.090.1-3пв |
| Обозначение англ: | Series 1.090.1-3пв |
| Статус: | не определен законодательством |
| Название рус.: | Выпуск 8-1. Изделия соединительные стальные. Рабочие чертежи |
| Дата добавления в базу: | 01.09.2013 |
| Дата актуализации: | 01.01.2021 |
| Дата введения: | 01.01.1985 |
| Дата окончания срока действия: | 30.06.2003 |
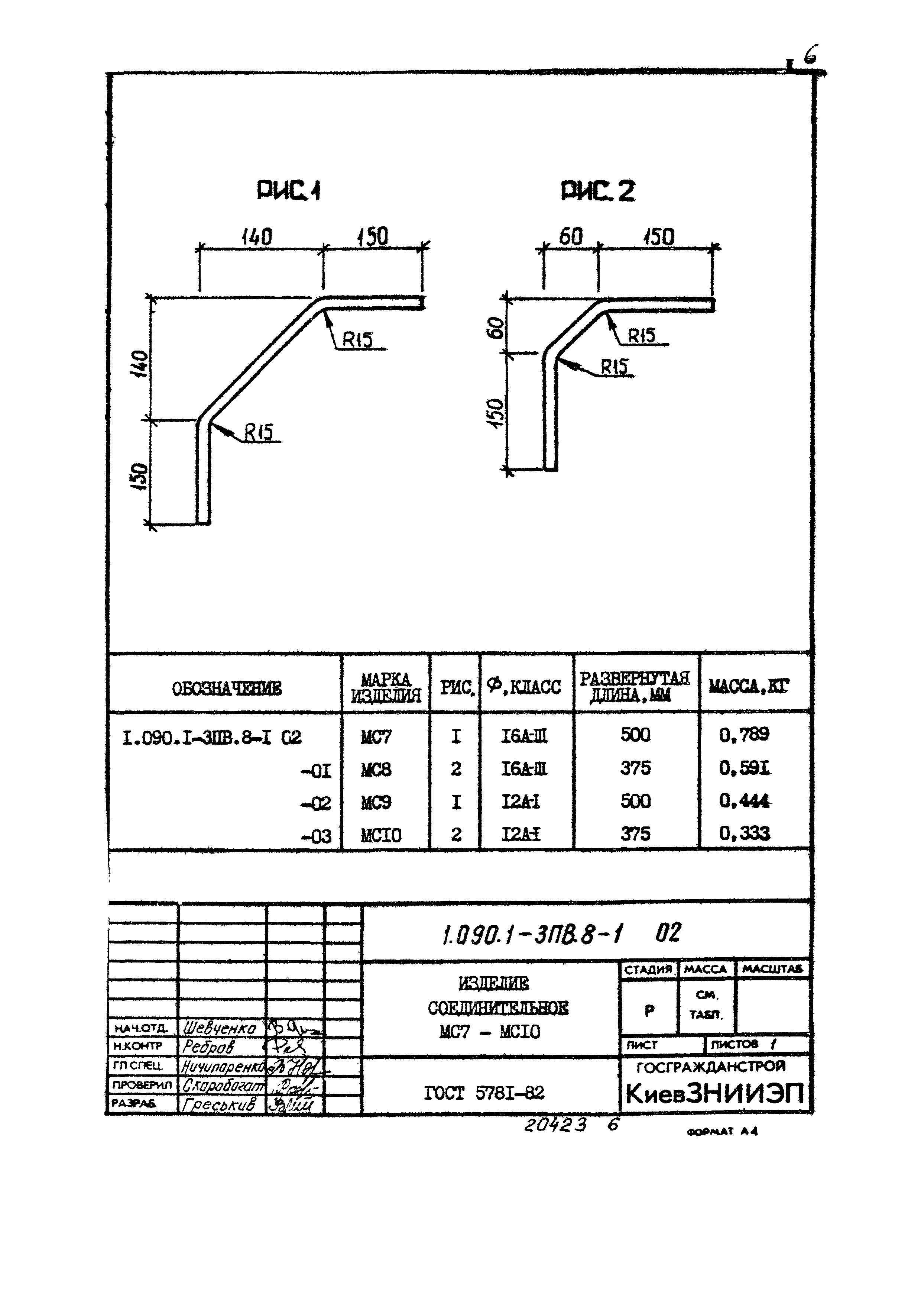
| Оглавление: | 1.090.1-3ПВ.8-1-00С Содержание 1.090.1-3ПВ.8-1-00ТО Техническое описание 1.090.1-3ПВ.8-1-01 Изделие соединительное МС3,МС4 1.090.1-3ПВ.8-1-02 Изделие соединительное МС7-МС10 1.090.1-3ПВ.8-1-03 Изделие соединительное МС11-МС14 1.090.1-3ПВ.8-1-04 Изделие соединительное МС17-МС20 1.090.1-3ПВ.8-1-05 Изделие соединительное МС23-МС26 1.090.1-3ПВ.8-1-06 Изделие соединительное МС27,МС28 1.090.1-3ПВ.8-1-07 Изделие соединительное МС34 1.090.1-3ПВ.8-1-08 Изделие соединительное МС36,МС37 1.090.1-3ПВ.8-1-09 Изделие соединительное МС42,МС43 1.090.1-3ПВ.8-1-10 Изделие соединительное МС46,МС47 1.090.1-3ПВ.8-1-11 Изделие соединительное МС48,МС49 1.090.1-3ПВ.8-1-12 Каркас плоский КР1,КР2 1.090.1-3ПВ.8-1-12 СБ Каркас плоский КР1,КР2. Сборочный чертеж 1.090.1-3ПВ.8-1-13 Изделие закладное МН1 1.090.1-3ПВ.8-1-13 СБ Изделие закладное МН1. Сборочный чертеж 1.090.1-3ПВ.8-1-14 Изделие закладное МН2 1.090.1-3ПВ.8-1-14 СБ Изделие закладное МН2. Сборочный чертеж |
| Разработан: | КиевЗНИИЭП |
| Утверждён: | 01.11.1984 Госстрой СССР (Государственный комитет Совета Министров СССР по делам строительства) (USSR Gosstroy ИИ-32) |
| Издан: | ЦИТП Госстроя СССР (CITP, Gosstroy (USSR) 1985 г. ) |





















