Скачать Серия 1.100.3-6 Выпуск 1. Рабочие чертежиДата актуализации: 01.01.2021
|
| Обозначение: | Серия 1.100.3-6 |
| Обозначение англ: | Series 1.100.3-6 |
| Статус: | не определен законодательством |
| Название рус.: | Выпуск 1. Рабочие чертежи |
| Дата добавления в базу: | 01.09.2013 |
| Дата актуализации: | 01.01.2021 |
| Дата введения: | 15.12.1988 |
| Дата окончания срока действия: | 30.06.2003 |
| Область применения: | Настоящий выпуск включает рабочие чертежи унифицированных штампованных и сварных закладных изделий для сборных железобетонных изделий, применяемых в крупнопанельных жилых зданиях с несущими внутренними и наружными стенами из тяжелого бетона и бетона на пористых заполнителях, высотой до 10 этажей, строящихся во II, III климатических районах и IВ подрайоне на территориях с обычными инженерно-геологическими условиями с расчетной зимней температурой наружного воздуха не ниже минус 40 градусов Цельсия |
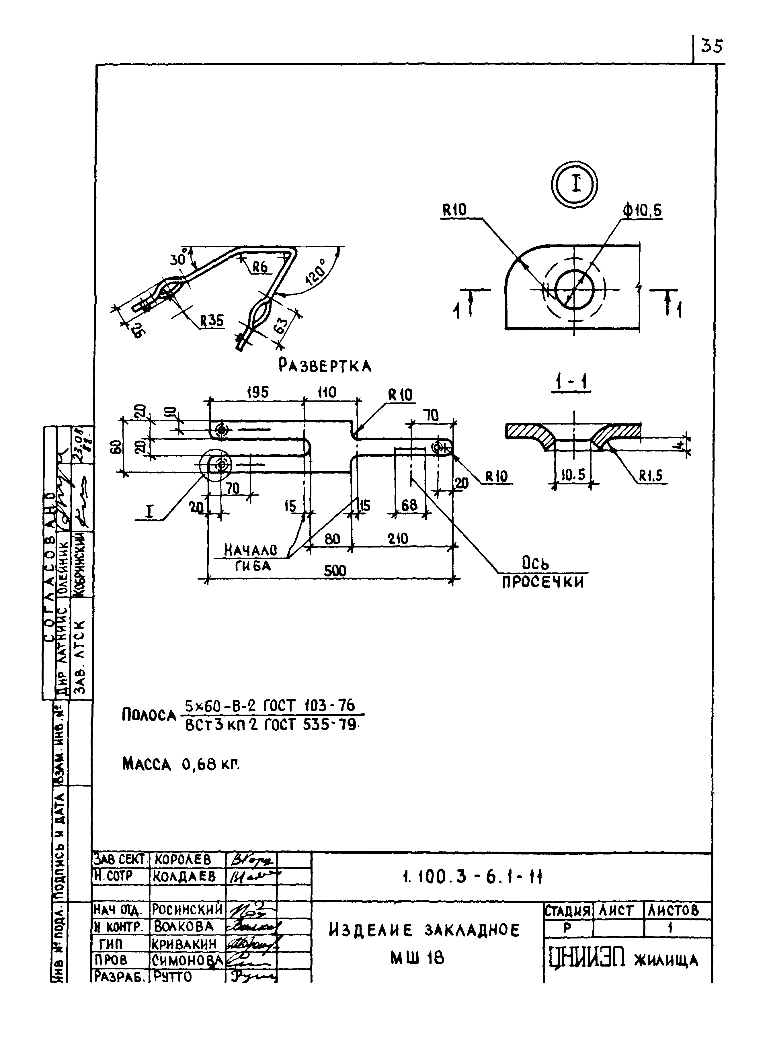
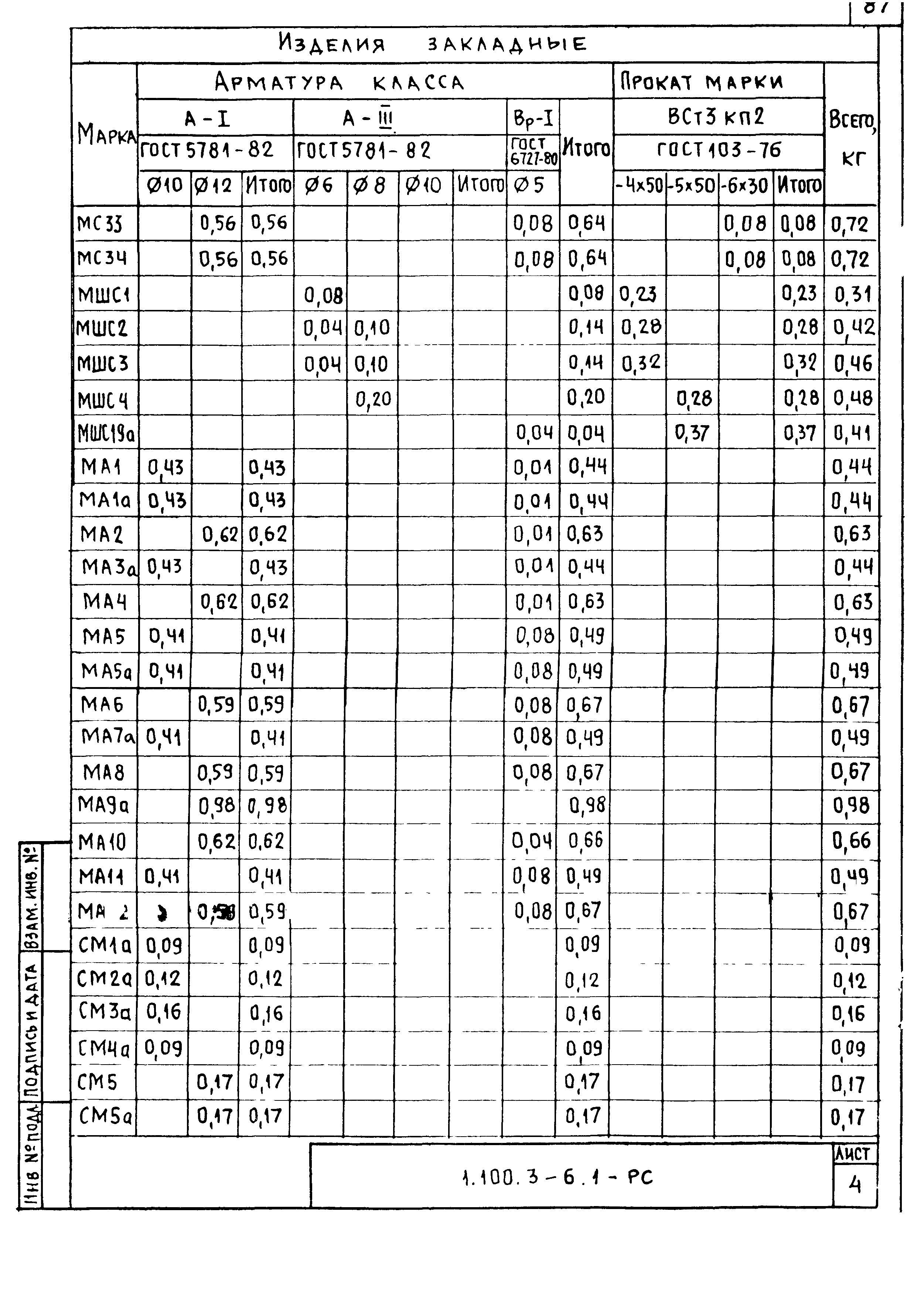
| Оглавление: | 1.100.3-6.1-ТО Технические требования 1.100.3-6.1-НИ Номенклатура изделий 1.100.3-6.1-1 Изделие закладное МШ1а,МШ2 1.100.3-6.1-2 Изделие закладное МШ3а,МШ4 1.100.3-6.1-3 Изделие закладное МШ5а,МШ5 1.100.3-6.1-4 Изделие закладное МШ6,МШ7 1.100.3-6.1-5 Изделие закладное МШ8,МШ9 1.100.3-6.1-6 Изделие закладное МШ10,МШ11 1.100.3-6.1-7 Изделие закладное МШ12 1.100.3-6.1-8 Изделие закладное МШ13,МШ14 1.100.3-6.1-9 Изделие закладное МШ15,МШ16 1.100.3-6.1-10 Изделие закладное МШ17а 1.100.3-6.1-11 Изделие закладное МШ18 1.100.3-6.1-12 Изделие закладное МШ19 1.100.3-6.1-13 Изделие закладное МШ20...МШ23 1.100.3-6.1-14 Изделие закладное МШ24,МШ25,МШ26 1.100.3-6.1-15 Изделие закладное МШ27,МШ28,МШ29 1.100.3-6.1-16 Изделие закладное МШ30,МШ31,МШ32 1.100.3-6.1-17 Изделие закладное МШ33,МШ34,МШ35 1.100.3-6.1-18 Изделие закладное МШ36,МШ37,МШ38 1.100.3-6.1-19 Изделие закладное МШ39,МШ40,МШ41 1.100.3-6.1-20 Изделие закладное МШ42 1.100.3-6.1-21 Изделие закладное МШ43,МШ44 1.100.3-6.1-22 Изделие закладное МШ45а 1.100.3-6.1-23 Изделие закладное МС1,МС2 1.100.3-6.1-24 Изделие закладное МС3 1.100.3-6.1-25 Изделие закладное МС4,МС5 1.100.3-6.1-26 Изделие закладное МС6 1.100.3-6.1-27 Изделие закладное МС7,МС8 1.100.3-6.1-28 Изделие закладное МС9 1.100.3-6.1-29 Изделие закладное МС10,МС11 1.100.3-6.1-30 Изделие закладное МС12 1.100.3-6.1-31 Изделие закладное МС13,МС14 1.100.3-6.1-32 Изделие закладное МС15 1.100.3-6.1-33 Изделие закладное МС16,МС17 1.100.3-6.1-34 Изделие закладное МС18 1.100.3-6.1-35 Изделие закладное МС19а,МС20а,МС31,МС32 1.100.3-6.1-36 Изделие закладное МС21а,МС22а,МС33,МС34 1.100.3-6.1-37 Изделие закладное МС23,МС24 1.100.3-6.1-38 Изделие закладное МС25,МС26 1.100.3-6.1-39 Изделие закладное МС27,МС28 1.100.3-6.1-40 Изделие закладное МС29,МС30 1.100.3-6.1-41 Изделие закладное МШС1...МШС5 1.100.3-6.1-42 Изделие закладное МШС6...МШС10 1.100.3-6.1-43 Изделие закладное МШС11,МШС12 1.100.3-6.1-44 Изделие закладное МШС13 1.100.3-6.1-45 Изделие закладное МШС14 1.100.3-6.1-46 Изделие закладное МШС15 1.100.3-6.1-47 Изделие закладное МШС16,МШС17,МШС18 1.100.3-6.1-48 Изделие закладное МШС19а 1.100.3-6.1-49 Изделие закладное МА1,МА1а,МА2 1.100.3-6.1-50 Изделие закладное МА3,МА4 1.100.3-6.1-51 Изделие закладное МА5,МА5а,МА6,МА11,МА12 1.100.3-6.1-52 Изделие закладное МА7а,МА8 1.100.3-6.1-53 Изделие закладное МА9а,МА10 1.100.3-6.1-54 Стержень монтажный СМ1а,СМ2а,СМ3а,СМ4а 1.100.3-6.1-55 Стержень монтажный СМ5,СМ5а,СМ6,СМ6а,СМ7,СМ7а 1.100.3-6.1-56 Пластина монтажная для замкового соединения ПМ1а,ПМ2 1.100.3-6.1-57 Пластина монтажная ПМ3а 1.100.3-6.1-РС Ведомость расхода стали 1.100.3-6.1-СМ Справочный материал |
| Разработан: | НИИЖБ ЦНИИЭП жилища |
| Утверждён: | 07.12.1988 Госстрой СССР (Государственный комитет Совета Министров СССР по делам строительства) (USSR Gosstroy 327) |
| Издан: | ЦИТП Госстроя СССР (CITP, Gosstroy (USSR) 1989 г. ) |






























































































