Скачать Серия 1.420.1-25 Выпуск 1. Железобетонные колонны. Рабочие чертежиДата актуализации: 01.01.2021
|
| Обозначение: | Серия 1.420.1-25 |
| Обозначение англ: | Series 1.420.1-25 |
| Статус: | не определен законодательством |
| Название рус.: | Выпуск 1. Железобетонные колонны. Рабочие чертежи |
| Дата добавления в базу: | 01.09.2013 |
| Дата актуализации: | 01.01.2021 |
| Дата введения: | 01.03.1990 |
| Дата окончания срока действия: | 30.06.2003 |
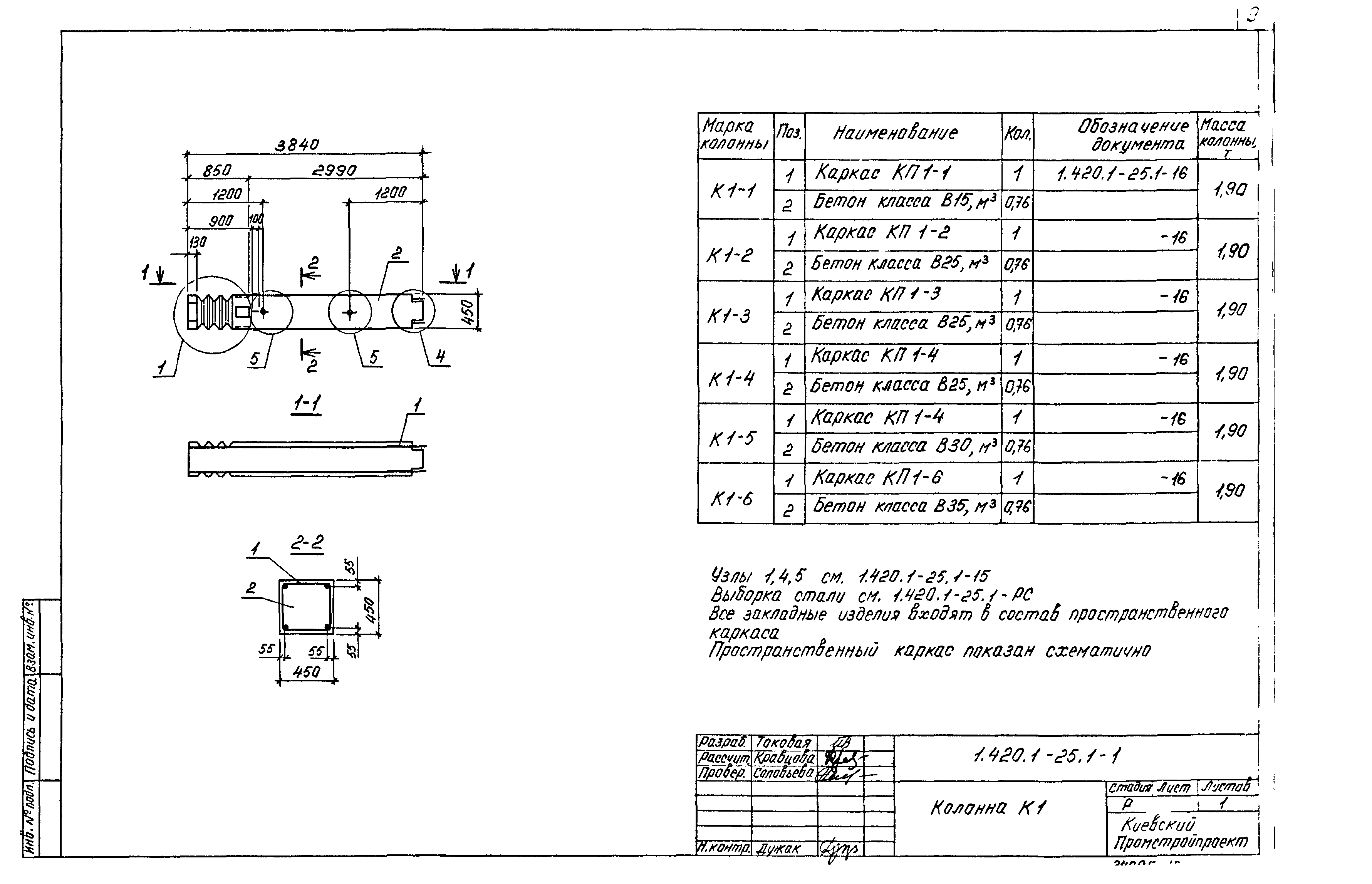
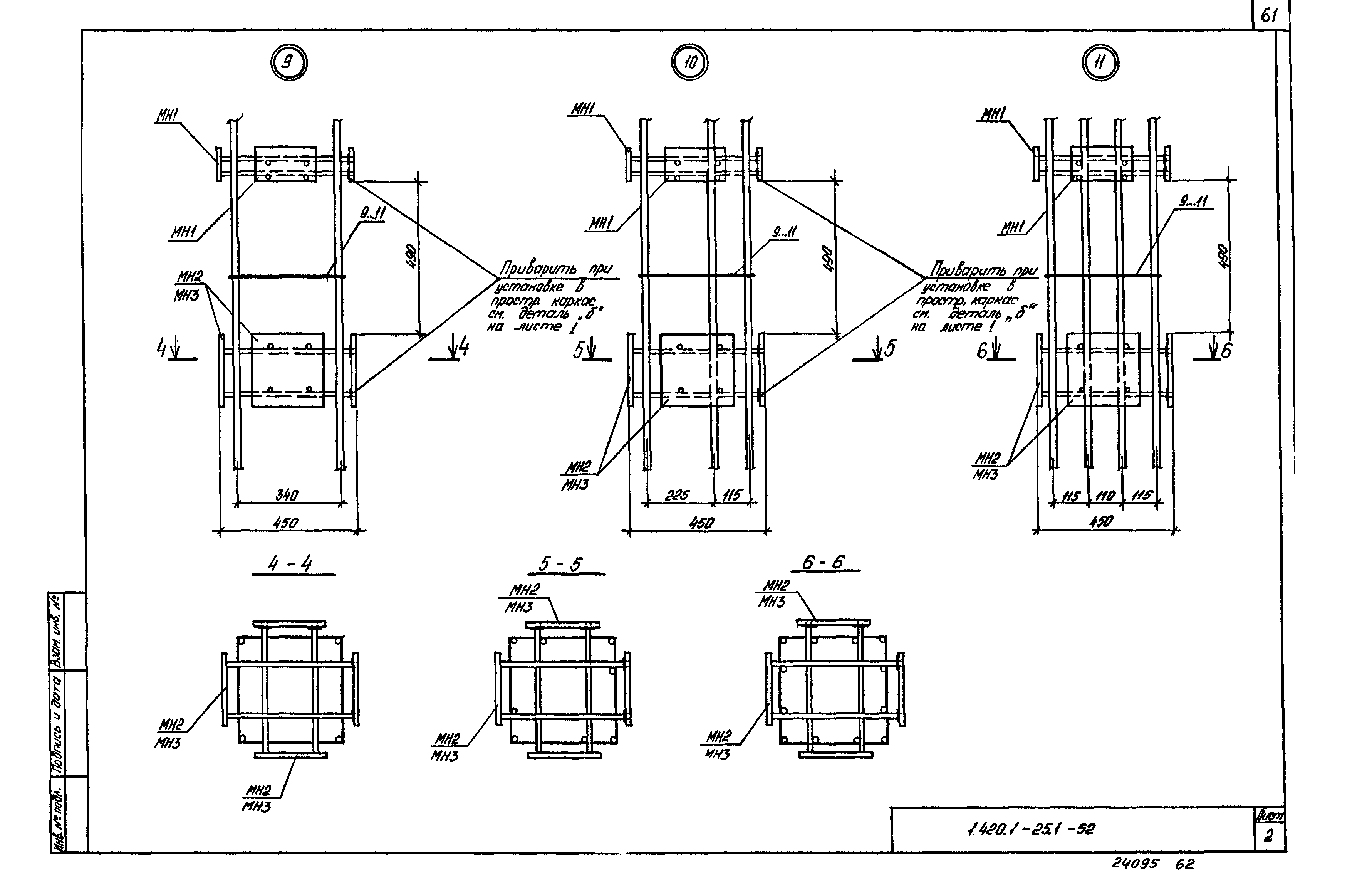
| Оглавление: | 1.420.1-25.1-ТТ Технические требования 1.420.1-25.1-1 Колонна К1 1.420.1-25.1-2 Колонна К2 1.420.1-25.1-3 Колонна К3 1.420.1-25.1-4 Колонна К4 1.420.1-25.1-5 Колонна К5 1.420.1-25.1-6 Колонна К6 1.420.1-25.1-7 Колонна К7 1.420.1-25.1-8 Колонна К8 1.420.1-25.1-9 Колонна К9 1.420.1-25.1-10 Колонна К10 1.420.1-25.1-11 Колонна К11 1.420.1-25.1-12 Колонна К12 1.420.1-25.1-13 Колонна К13 1.420.1-25.1-14 Колонна К14 1.420.1-25.1-15 Узлы 1…5 1.420.1-25.1-16 Каркас КП1-1…КП1-4, КП1-6 1.420.1-25.1-17 Каркас КП2-1…КП2-3 1.420.1-25.1-18 Каркас КП2-4, КП2-6 1.420.1-25.1-19 Каркас КП2-8, КП2-9 1.420.1-25.1-20 Каркас КП3-1…КП3-4 1.420.1-25.1-21 Каркас КП3-5 1.420.1-25.1-22 Каркас КП3-6 1.420.1-25.1-23 Каркас КП2-1…КП2-3 1.420.1-25.1-24 Каркас КП4-4, КП4-5 1.420.1-25.1-25 Каркас КП5-1…КП5-4 1.420.1-25.1-26 Каркас КП5-5…КП5-7 1.420.1-25.1-27 Каркас КП5-8 1.420.1-25.1-28 Каркас КП6-1…КП6-3 1.420.1-25.1-29 Каркас КП6-4, КП6-5 1.420.1-25.1-30 Каркас КП6-6…КП6-8 1.420.1-25.1-31 Каркас КП6-9, КП6-10 1.420.1-25.1-32 Каркас КП7-1…КП7-4 1.420.1-25.1-33 Каркас КП7-5…КП7-7 1.420.1-25.1-34 Каркас КП7-8 1.420.1-25.1-35 Каркас КП8-1…КП8-4, КП8-6 1.420.1-25.1-36 Каркас КП9-1…КП9-4 1.420.1-25.1-37 Каркас КП9-5 1.420.1-25.1-38 Каркас КП10-1…КП10-4 1.420.1-25.1-39 Каркас КП10-5…КП10-7 1.420.1-25.1-40 Каркас КП10-8 1.420.1-25.1-41 Каркас КП11-1…КП11-3 1.420.1-25.1-42 Каркас КП11-4…КП11-6 1.420.1-25.1-43 Каркас КП11-7, КП11-8 1.420.1-25.1-44 Каркас КП12-1…КП12-3 1.420.1-25.1-45 Каркас КП12-4, КП12-6, КП12-7 1.420.1-25.1-46 Каркас КП12-8…КП12-11 1.420.1-25.1-47 Каркас КП13-1…КП13-4 1.420.1-25.1-48 Каркас КП13-5, КП13-6 1.420.1-25.1-49 Каркас КП13-7 1.420.1-25.1-50 Каркас КП14-1…КП14-3 1.420.1-25.1-51 Каркас КП14-4…КП14-6 1.420.1-25.1-52 Узлы 6…14 1.420.1-25.1-53 Сетка СП1 1.420.1-25.1-54 Сетка СП2 1.420.1-25.1-55 Сетка С1 1.420.1-25.1-56 Сетка С2 1.420.1-25.1-57 Изделие закладное МН1 1.420.1-25.1-58 Изделие закладное МН2 1.420.1-25.1-59 Изделие закладное МН3 1.420.1-25.1-60 Изделие закладное МН4 1.420.1-25.1-61 Изделие соединительное МС1…МС7 1.420.1-25.1-62 Позиция 9…11 1.420.1-25.1-РС Ведомость расхода стали |
| Разработан: | Киевский Промстройпроект НИИЖБ ЦНИИЭПсельстрой АО ЦНИИпромзданий |
| Утверждён: | 27.09.1989 Главагропромнаучпроект Госкомиссии СМ СССР по продовольствию и закупкам (15-81/5) |
| Издан: | ЦИТП Госстроя СССР (CITP, Gosstroy (USSR) 1990 г. ) |
| Заменяет собой: |








































































