Скачать Серия 1.420.1-20с Выпуск 0-0. Общие положения. Указания по проектированию каркаса зданийДата актуализации: 01.01.2021
|
| Обозначение: | Серия 1.420.1-20с |
| Обозначение англ: | Series 1.420.1-20с |
| Статус: | не определен законодательством |
| Название рус.: | Выпуск 0-0. Общие положения. Указания по проектированию каркаса зданий |
| Дата добавления в базу: | 01.09.2013 |
| Дата актуализации: | 01.01.2021 |
| Дата введения: | 01.03.1991 |
| Дата окончания срока действия: | 30.06.2003 |
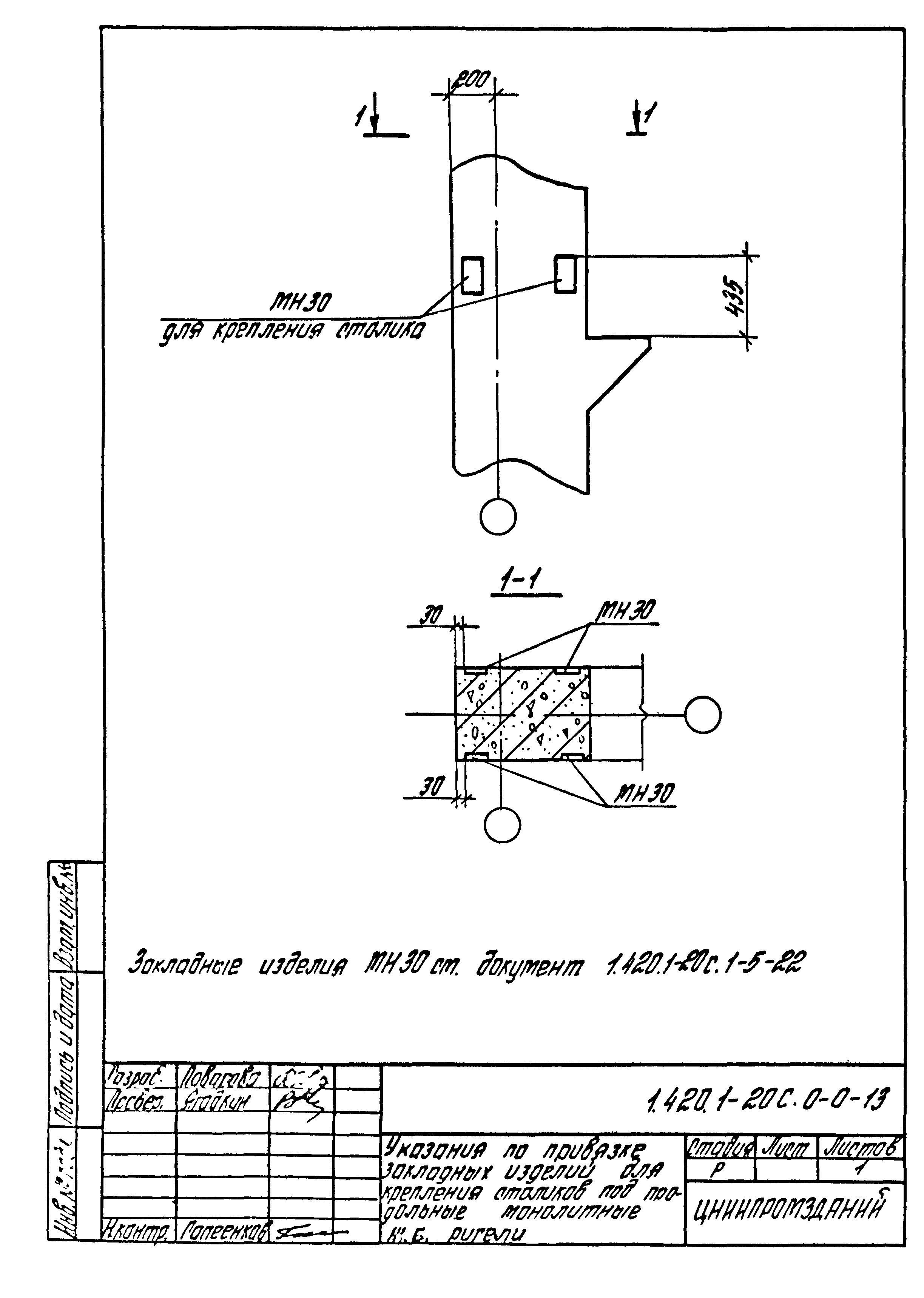
| Оглавление: | 1.420.1-20С.0-0-ПЗ Пояснительная записка 1.420.1-20С.0-0-1 Параметры габаритных схем зданий 1.420.1-20С.0-0-2 Примеры разрезов зданий с сеткой колонн 12х6 м при обеспечении продольной устойчивости с помощью монолитных ж/б ригелей 1.420.1-20С.0-0-3 Примеры разрезов зданий с сеткой колонн 6х6 м и 9х6 м при обеспечении продольной устойчивости с помощью монолитных ж/б ригелей 1.420.1-20С.0-0-4 Примеры разрезов зданий с сеткой колонн 6х6 м и 9х6 м при обеспечении продольной устойчивости с помощью стальных связей 1.420.1-20С.0-0-5 Примеры разрезов зданий с укрупненным верхним этажом с сеткой колонн 6х6 м и 9х6 м при обеспечении продольной устойчивости с помощью стальными связями 1.420.1-20С.0-0-6 Область применения каркасов зданий с одинаковой сеткой колонн 12х6 м по всем этажам (регулярные схемы зданий) 1.420.1-20С.0-0-7 Область применения каркасов зданий с одинаковой сеткой колонн 9х6 м по всем этажам (регулярные схемы зданий) 1.420.1-20С.0-0-8 Область применения каркасов зданий с одинаковой сеткой колонн 6х6 м по всем этажам (регулярные схемы зданий) 1.420.1-20С.0-0-9 Область применения каркасов зданий с укрупненной сеткой колонн верхних этажей (нерегулярные схемы зданий) 1.420.1-20С.0-0-10 Расчетные значения вертикальных нагрузок на ригели каркаса здания 1.420.1-20С.0-0-11 Расчетные значения ветровых нагрузок на узлы поперечных рам 1.420.1-20С.0-0-12 Указания по привязке закладных изделий для крепления стен в колоннах при высоте подоконной плиты равной 900 мм 1.420.1-20С.0-0-13 Указания по привязке закладных изделий для крепления столиков под продольные монолитные ж/б ригели 1.420.1-20С.0-0-14 Указания по привязке закладных изделий для крепления стоек фахверка в зданиях со стальными связями 1.420.1-20С.0-0-15 Указания по привязке закладных изделий выпусков арматуры из колонн для образования жестких узлов каркаса 1.420.1-20С.0-0-16 Указания по привязке закладных изделий МН31 в колоннах для крепления стоек фахверка в зданиях с монолитными ж/б продольными ригелями 1.420.1-20С.0-0-17 Указания по привязке закладных изделий МН3 в продольных монолитных ригелях для крепления фахверка 1.420.1-20С.0-0-18 Указания по привязке закладных изделий для крепления столиков под пристенные плиты перекрытий и покрытия в зданиях со стальными связями 1.420.1-20С.0-0-19 Привязка в колоннах закладных изделий для крепления связей 1.420.1-20С.0-0-20 Примеры устройства антисейсмических швов 1.420.1-20С.0-0-21 Область применения поперечных ригелей пролетом 12 м при обеспечении продольной устойчивости зданий монолитными ж/б ригелями 1.420.1-20С.0-0-22 Область применения поперечных ригелей пролетом 9,0 м при обеспечении продольной устойчивости зданий монолитными ж/б ригелями 1.420.1-20С.0-0-23 Область применения поперечных ригелей пролетом 6,0 м при обеспечении продольной устойчивости зданий монолитными ж/б ригелями 1.420.1-20С.0-0-24 Область применения поперечных ригелей пролетом 9,0 м при обеспечении продольной устойчивости зданий стальными связями (сейсмичностью 7 баллов) 1.420.1-20С.0-0-25 Область применения поперечных ригелей пролетом 6,0 м при обеспечении продольной устойчивости зданий стальными связями (сейсмичностью 7 баллов) 1.420.1-20С.0-0-26НИ Номенклатура колонн зданий со стальными ж/б продольными ригелями Нэт = 4,8 м; 6,0 - 4,8 м; 5,4 м 1.420.1-20С.0-0-27НИ Номенклатура колонн зданий с монолитными ж/б продольными ригелями Нэт = 4,8 м; 6,0 - 4,8 м; 5,4 м 1.420.1-20С.0-0-28НИ Номенклатура колонн зданий со стальными связями в продольном направлении Нэт = 6,0 м; 7,2 - 6,0 м 1.420.1-20С.0-0-29НИ Номенклатура колонн зданий с монолитными продольными ригелями Нэт = 6,0 м; 7,2 - 6,0 м 1.420.1-20С.0-0-30НИ Номенклатура колонн зданий со стальными связями в продольном направлении Нэт = 7,2 м 1.420.1-20С.0-0-31НИ Номенклатура колонн зданий с монолитными железобетонными продольными ригелями Нэт = 7,2 м 1.420.1-20С.0-0-32НИ Номенклатура колонн двухэтажных зданий с укрупненным верхним этажом 1.420.1-20С.0-0-33НИ Номенклатура колонн верхних этажей с укрупненной сеткой колонн 1.420.1-20С.0-0-34НИ Номенклатура ригелей 1.420.1-20С.0-0-35 Расход материалов на 1кв. м площади здания с сеткой колонн 12х6 м при обеспечении продольной устойчивости монолитными ж/б ригелями 1.420.1-20С.0-0-36 Расход материалов на 1кв. м площади здания с сеткой колонн 9х6 м при обеспечении продольной устойчивости монолитными ж/б ригелями 1.420.1-20С.0-0-37 Расход материалов на 1кв. м площади здания с сеткой колонн 6х6 м при обеспечении продольной устойчивости монолитными ж/б ригелями 1.420.1-20С.0-0-38 Расход материалов на 1кв. м площади здания с сеткой колонн 9х6 м при обеспечении продольной устойчивости стальными связями 1.420.1-20С.0-0-39 Расход материалов на 1кв. м площади здания с сеткой колонн 6х6 м при обеспечении продольной устойчивости стальными связями |
| Разработан: | ЦНИИСК им. В.А. Кучеренко НИИСК НИИЖБ ГСПИ-10 АО ЦНИИпромзданий ЛГПИ |
| Утверждён: | 19.09.1990 Госстрой СССР (Государственный комитет Совета Министров СССР по делам строительства) (USSR Gosstroy 5/6-796) |
| Издан: | АПП ЦИТП (1991 г. ) |





















































































































