Скачать Серия 5.904-13 Выпуск 1-1. Заслонки воздушные прямоугольного сечения. Рабочие чертежиДата актуализации: 01.01.2021
|
| Обозначение: | Серия 5.904-13 |
| Обозначение англ: | Series 5.904-13 |
| Статус: | не действует |
| Название рус.: | Выпуск 1-1. Заслонки воздушные прямоугольного сечения. Рабочие чертежи |
| Дата добавления в базу: | 01.09.2013 |
| Дата актуализации: | 01.01.2021 |
| Дата введения: | 15.06.1982 |
| Дата окончания срока действия: | 01.03.1989 |
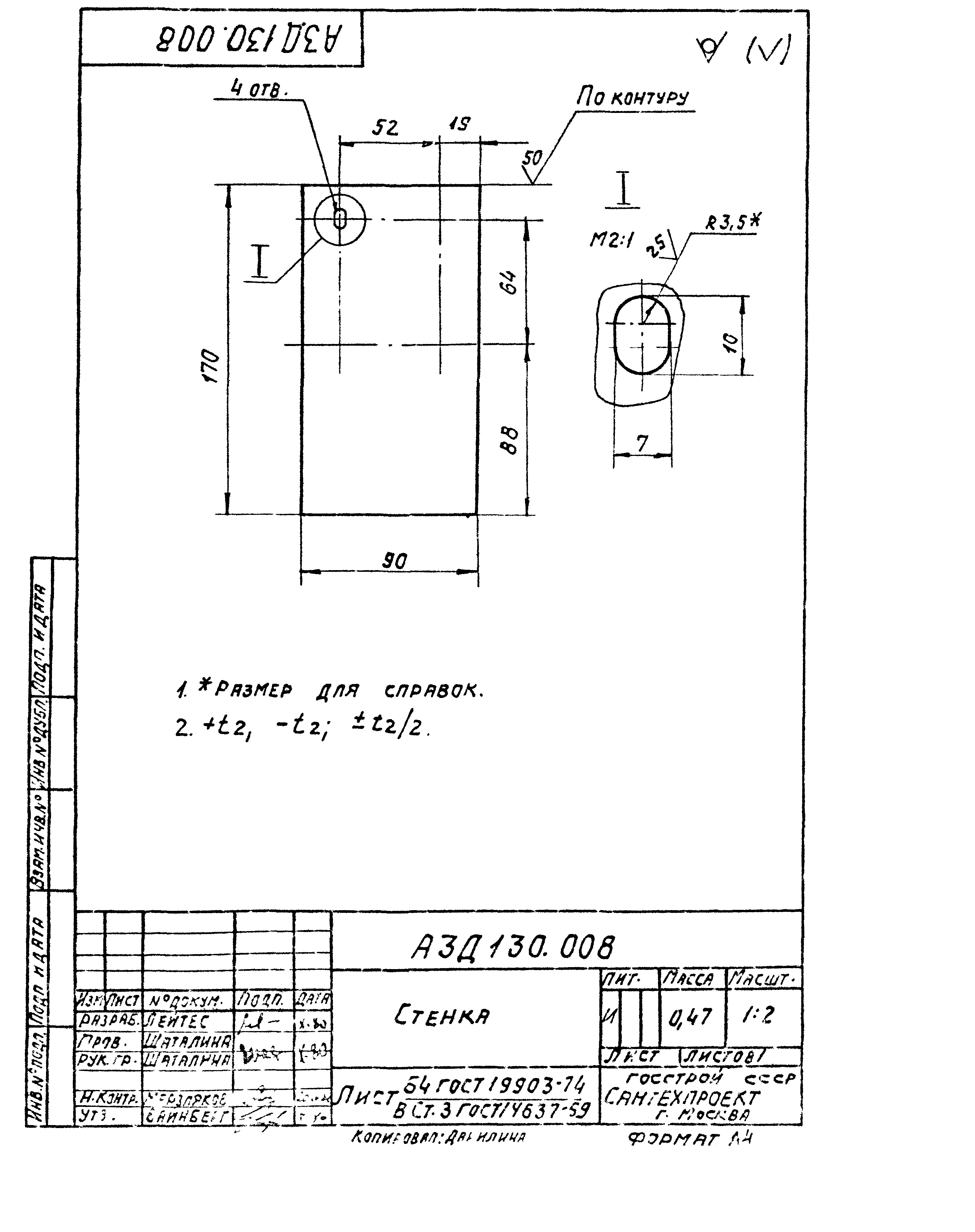
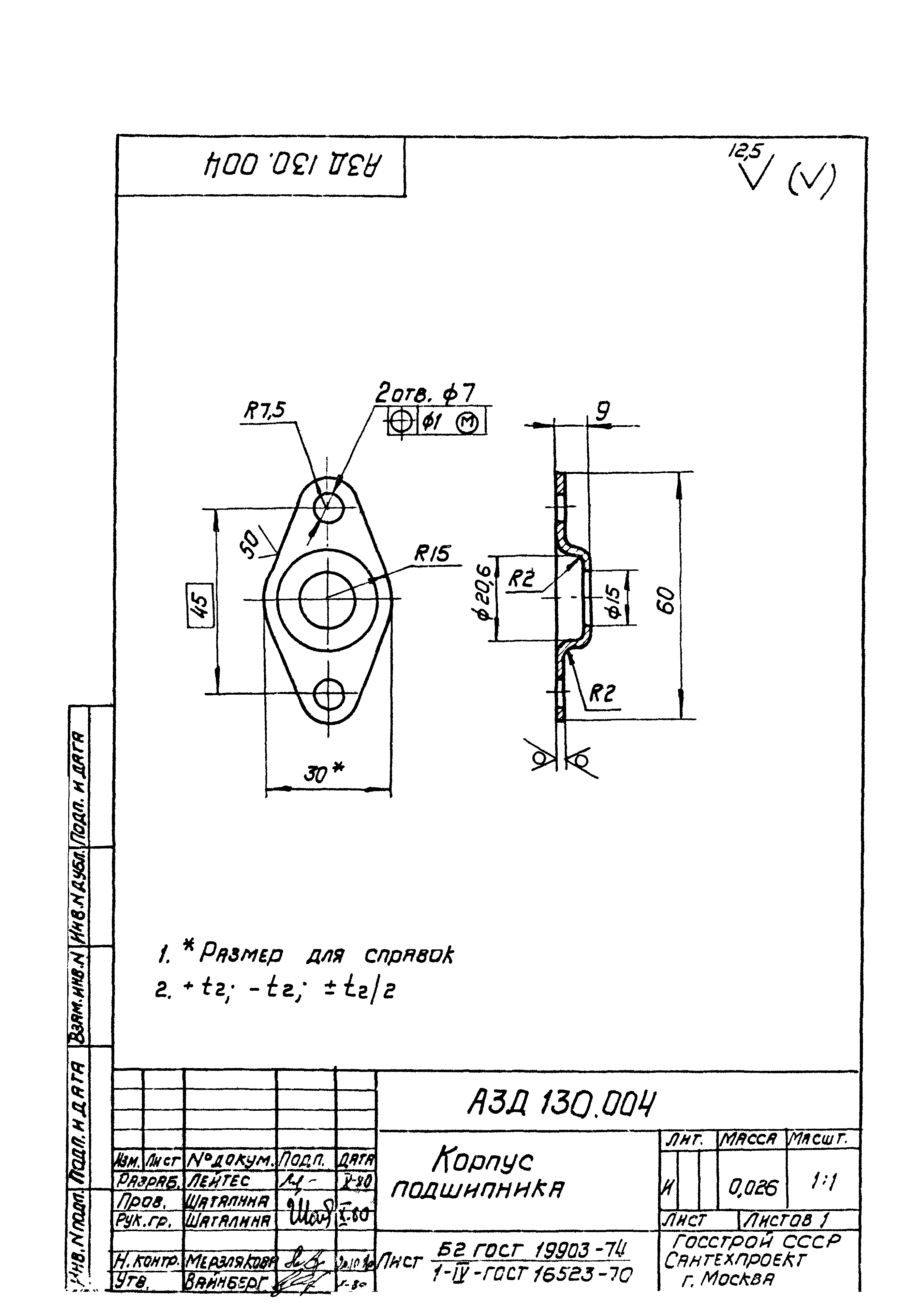
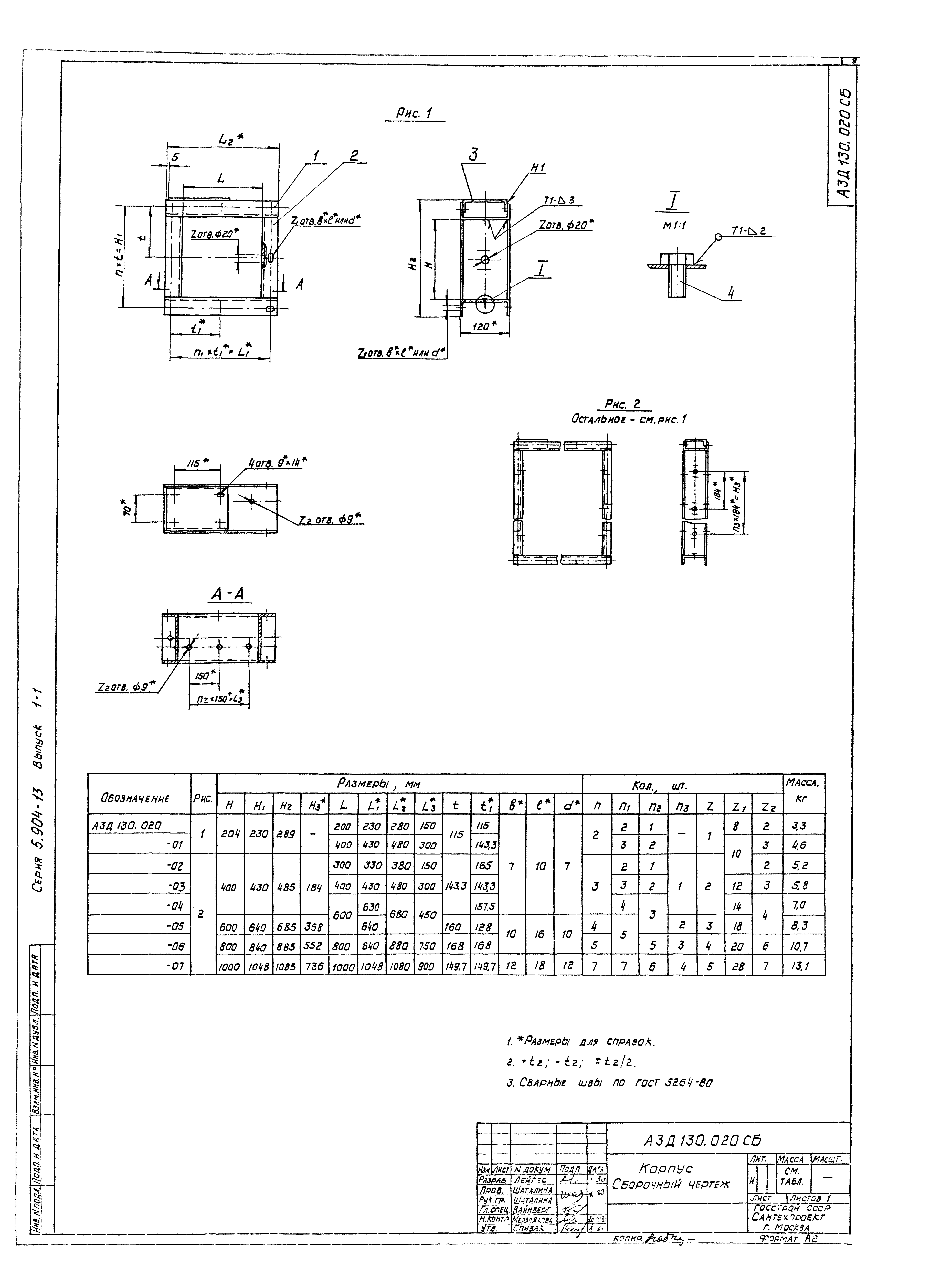
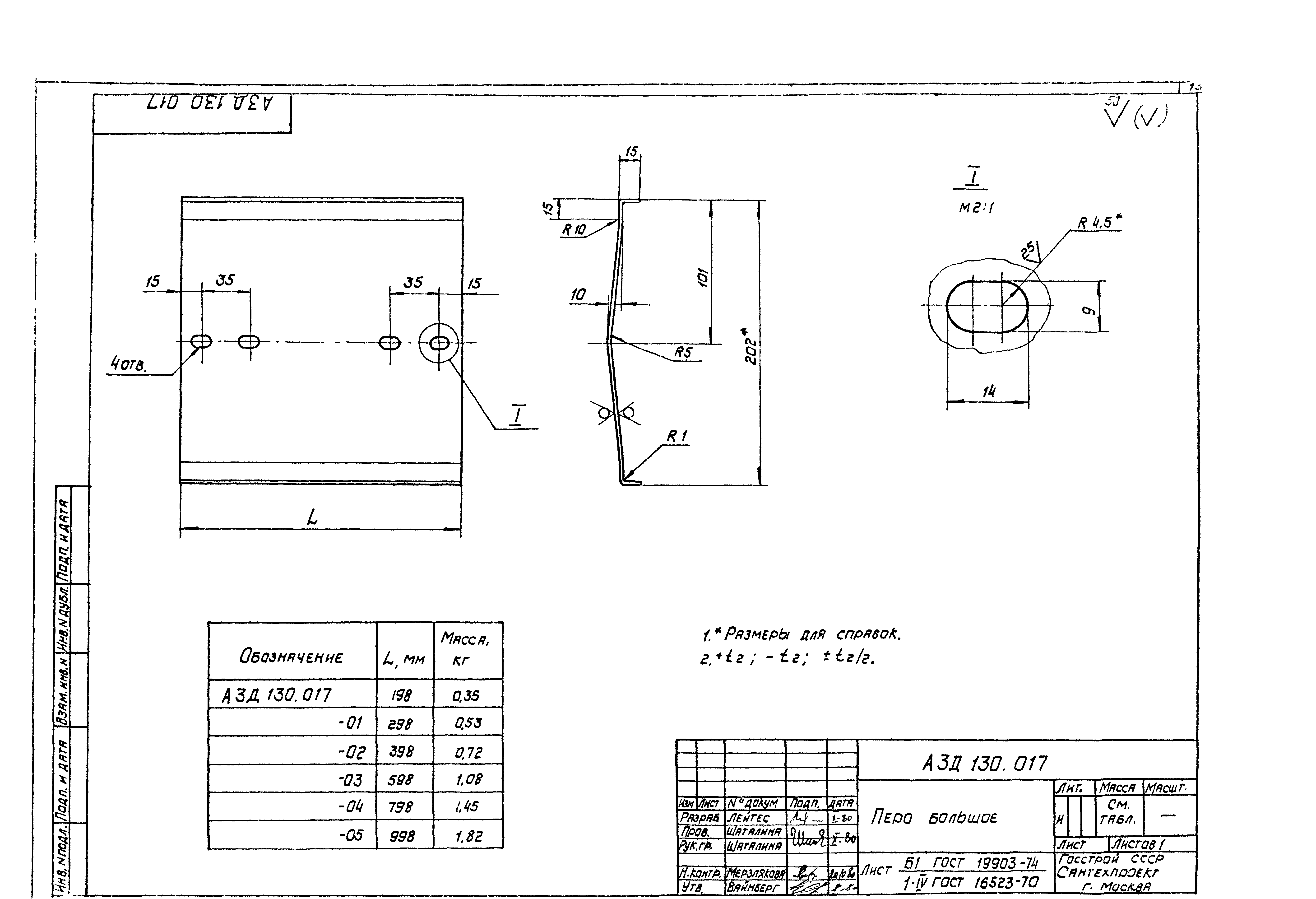
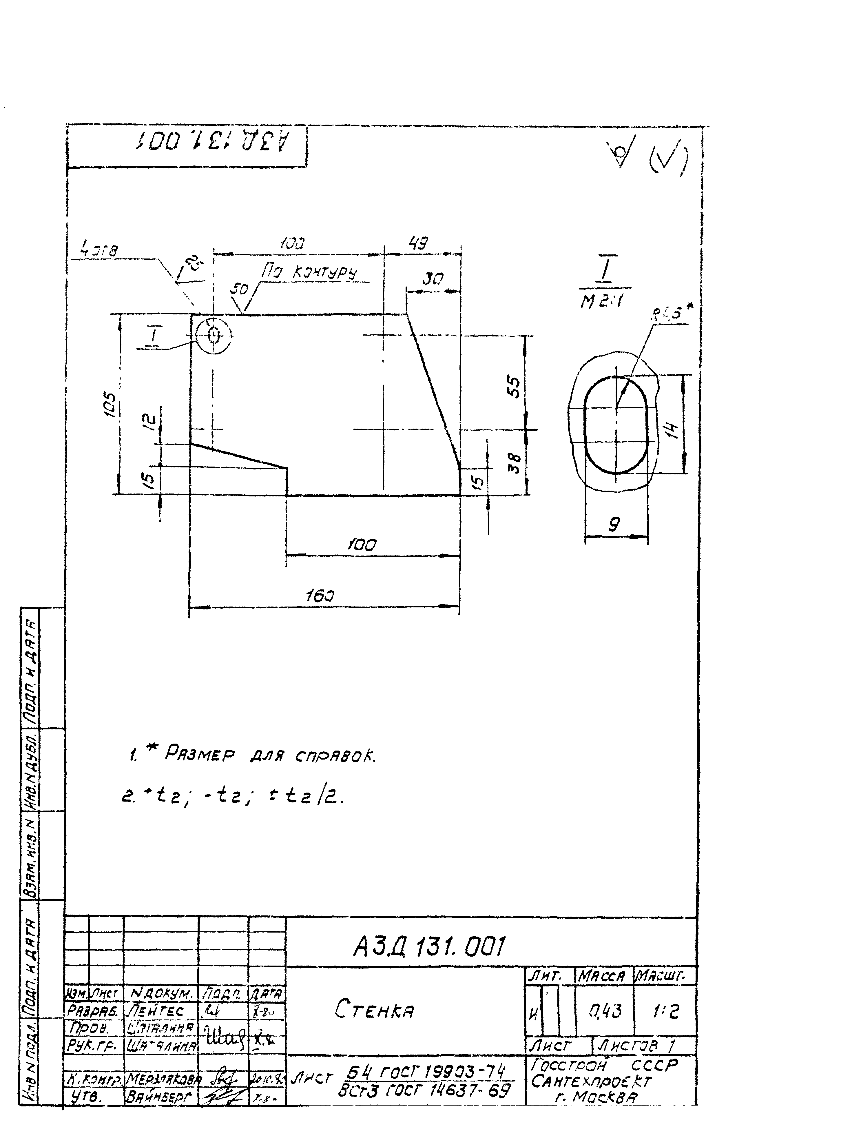
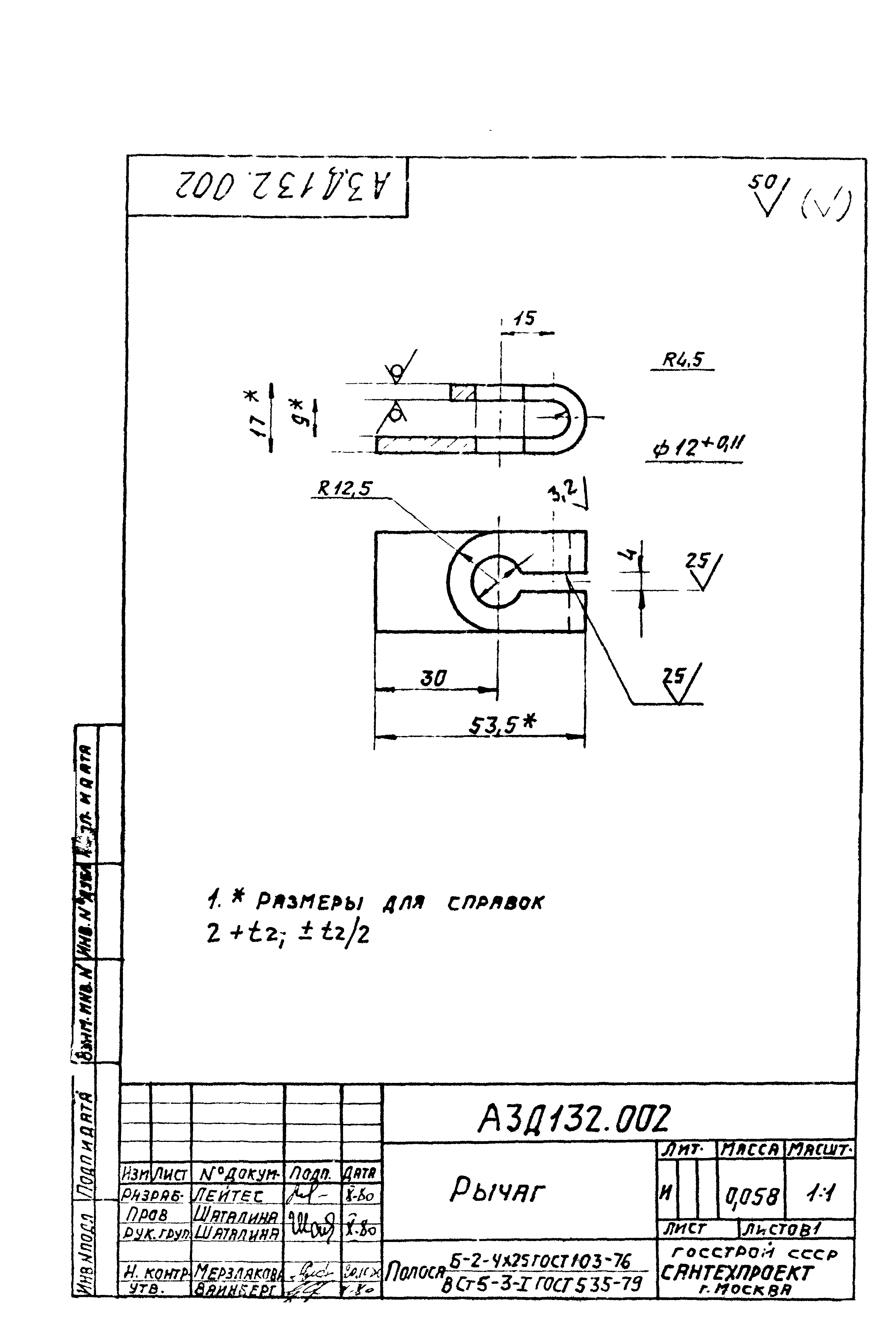
| Оглавление: | АЗД130.003 Шайба АЗД130.022 Рычаг АЗД130.000ТО Заслонки воздушные прямоугольного сечения. Техническое описание АЗД130.000 Заслонки воздушные прямоугольного сечения с электроприводом АЗД130.000СБ Заслонки воздушные прямоугольного сечения с электроприводом. Сборочный чертеж АЗД130.010 Кронштейн АЗД130.011 Ребро АЗД130.009 Плита АЗД130.008 Стенка АЗД130.004 Корпус подшипника АЗД130.015 Скоба АЗД130.020 Корпус АЗД130.020СБ Корпус. Сборочный чертеж АЗД130.002 Ось АЗД130.030 Лопатка АЗД130.030СБ Лопатка. Сборочный чертеж АЗД130.040 Система тяг и рычагов АЗД130.040СБ Система тяг и рычагов. Сборочный чертеж АЗД130.014 Стойка АЗД130.013 Поперечина АЗД130.017 Перо большое АЗД130.018 Перо малое АЗД130.023 Палец АЗД130.001 Упор АЗД130.021 Тяга АЗД130.024 Тяга АЗД131.000 Заслонки воздушные прямоугольного сечения с пневмоприводном АЗД131.000СБ Заслонки воздушные прямоугольного сечения с пневмоприводном. Сборочный чертеж АЗД131.010 Кронштейн АЗД131.001 Стенка АЗД131.002 Ребро АЗД131.020 Пневмопривод АЗД132.000 Заслонки воздушные прямоугольного сечения с ручным управлением АЗД132.000СБ Заслонки воздушные прямоугольного сечения с ручным управлением. Сборочный чертеж АЗД132.002 Рычаг АЗД132.001 Скоба АЗД132.010 Корпус АЗД132.010СБ Корпус. Сборочный чертеж АЗД132.040 Система тяг и рычагов АЗД132.040СБ Система тяг и рычагов. Сборочный чертеж АЗД132.020 Ручка управления АЗД132.030 Ручка управления АЗД132.003 Рукоятка АЗД132.004 Рукоятка |
| Разработан: | ГПИ Сантехпроект Госстроя СССР |
| Утверждён: | 08.06.1982 Главпромстройпроект Госстроя СССР (36) |



























































