Скачать Рекомендации по реконструкции свиноводческих комплексов и ферм

Дата актуализации: 01.01.2021

Рекомендации по реконструкции свиноводческих комплексов и ферм

Статус:действует
Название рус.:Рекомендации по реконструкции свиноводческих комплексов и ферм
Дата добавления в базу:01.09.2013
Дата актуализации:01.01.2021
Область применения:Рекомендации предназначены для использования проектными и строительными организациями, предприятиями и организациями АПК России всех форм собственности в качестве методического пособия при проведении реконструкции и технического перевооружения свиноводческих ферм и комплексов.
Оглавление:1 Общая часть
2 Реконструкция ферм малой и средней мощности
3 Реконструкция комплексов и ферм малой и средней мощности, построенных по типовым проектам в 70-80-е годы
4 Реконструкция свиноводческих ферм и комплексов на основе новых технологий и оборудования
5 Опыт реконструкции крупных комплексов на базе зарубежных технологий содержания свиней, инженерного и технологического оборудования
6 Рекомендуемые механизмы и оборудование для реконструкции свиноводческих комплексов и ферм
Приложение А. Примеры реконструкции свинарников-маточников для ферм малой мощности
Приложение Б. Примеры реконструкции свинарников-откормочников для ферм малой мощности
Приложение В. Пример реконструкции комплекса с применением технологии и оборудования фирмы "Big Dutchman"
Приложение Г. Технология, оборудование и механизмы фирмы "Egebjerg" (Дания)
Приложение Д. Механизмы и оборудование свиноводческих ферм и комплексов
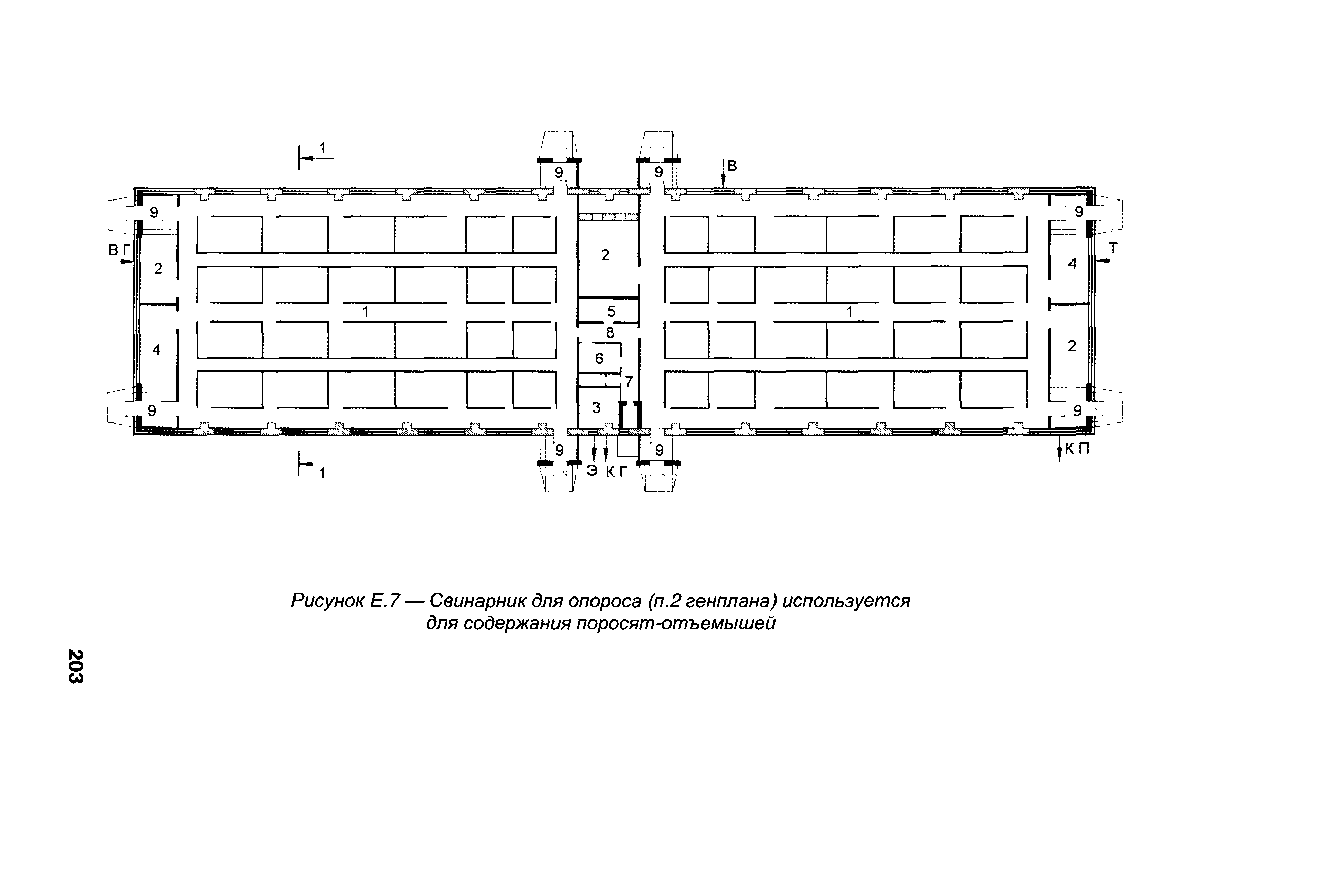
Приложение Е. Реконмтрукция комплекса по выращиванию и откорму 24 тыс. свиней в год (типовой проект 802-147/72)
Приложение Ж. Примеры применения новых технологий на малых фермах и комплексах
Разработан: Росинформагротех
Россельхозакадемия
НТЦ Сельхозмаш ГОСНИТИ
Утверждён:10.11.2005 Минсельхоз России (Russian Federation Minselkhoz )
Издан: Росинформагротех (2006 г. )
Нормативные ссылки: