Скачать Серия 3.400.1-9 Выпуск 1. Монолитные железобетонные конструкции. Рабочие чертежиДата актуализации: 01.01.2021
|
| Обозначение: | Серия 3.400.1-9 |
| Обозначение англ: | Series 3.400.1-9 |
| Статус: | действует |
| Название рус.: | Выпуск 1. Монолитные железобетонные конструкции. Рабочие чертежи |
| Дата добавления в базу: | 01.09.2013 |
| Дата актуализации: | 01.01.2021 |
| Дата введения: | 01.01.1983 |
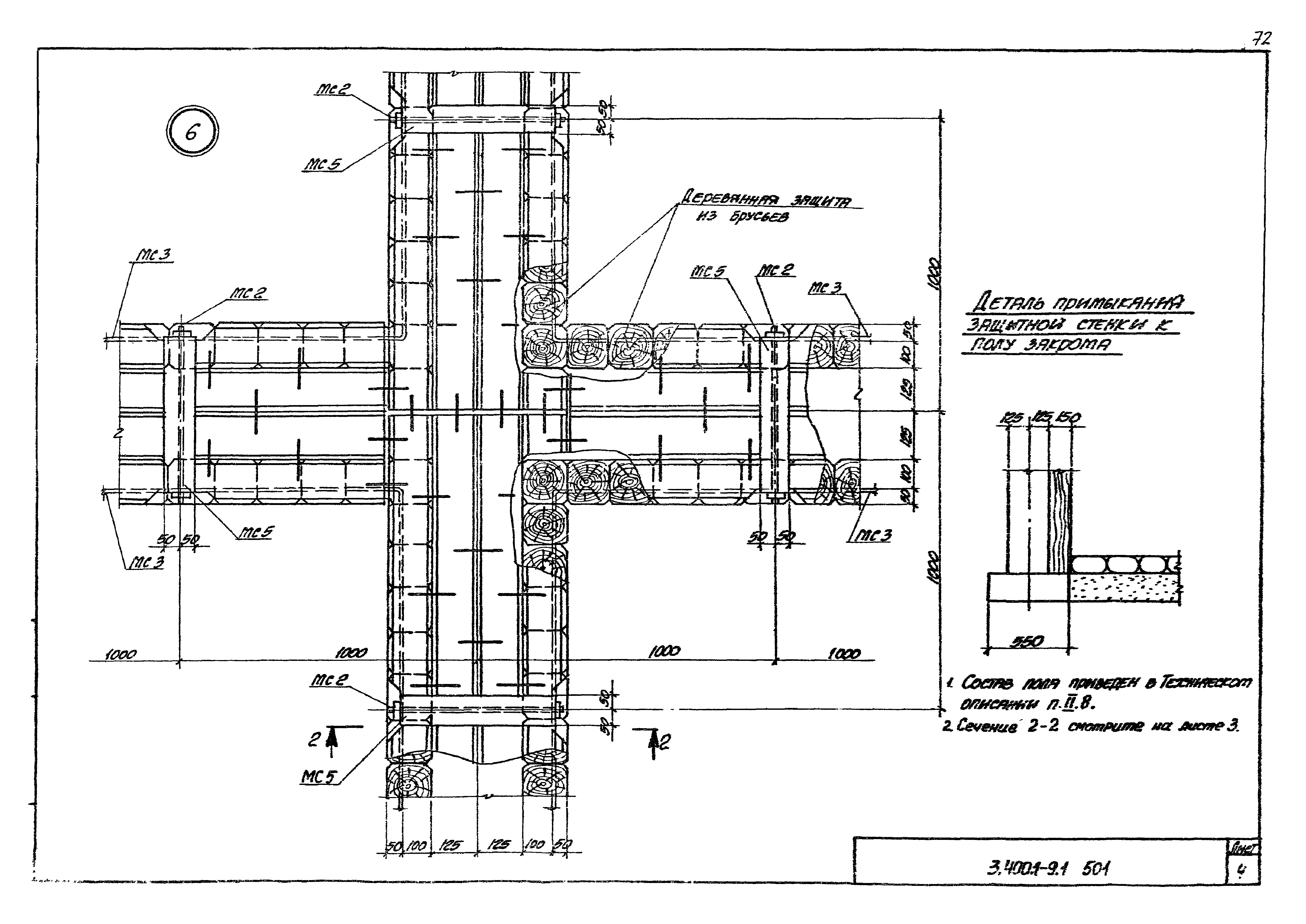
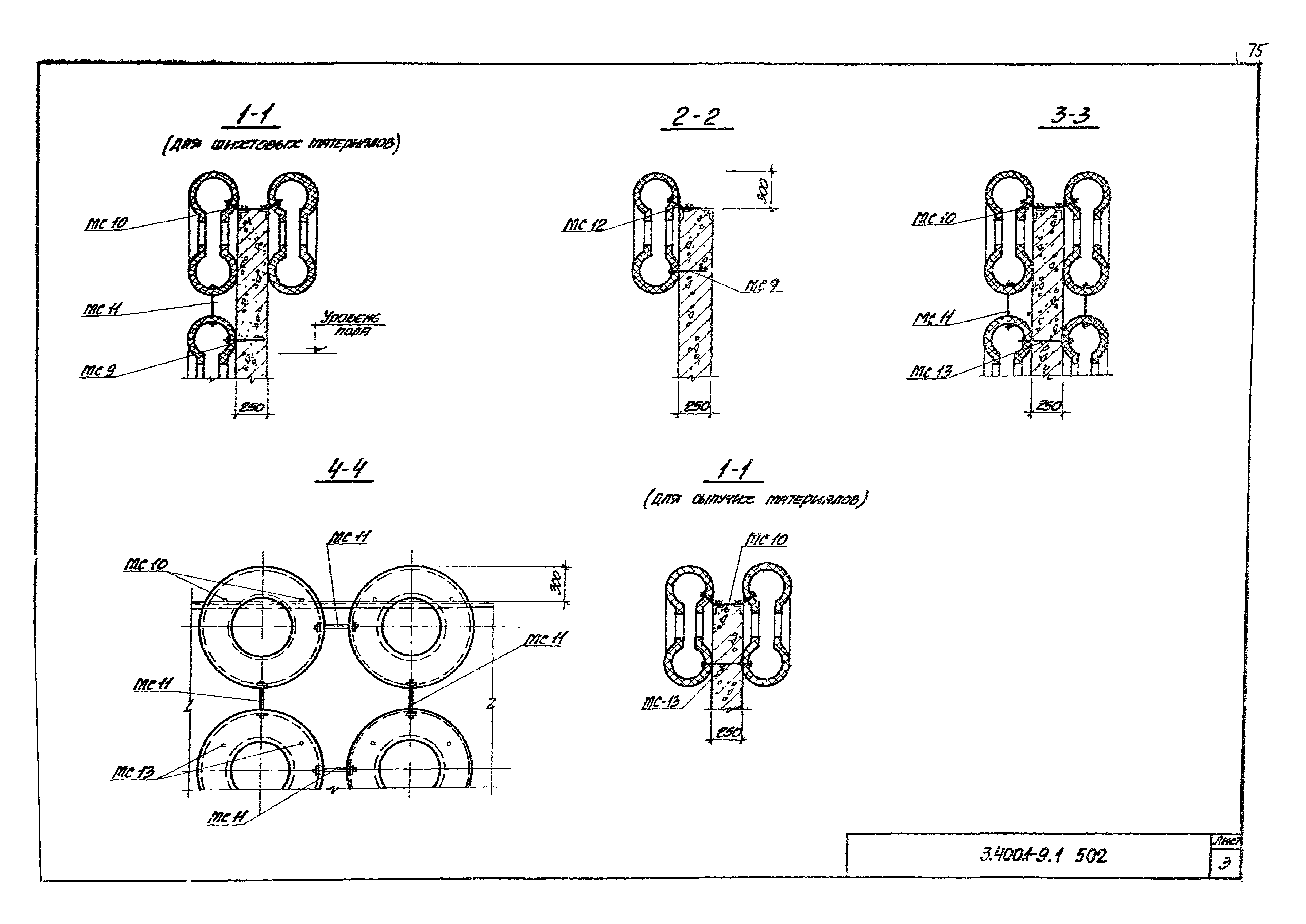
| Оглавление: | 3.400.1-9.1 0000 Содержание 3.400.1-9.1 000ТО Техническое описание 3.400.1-9.1 000ТП Таблица для подбора марок закромов 3.400.1-9.1 101 Закрома монолитные 1-3.6-1;1-3.6-2 3.400.1-9.1 101СБ Закрома монолитные 1-3.6-1;1-3.6-2. Сборочный чертеж 3.400.1-9.1 102 Закрома монолитные 1-3.6-3;1-3.6-4 3.400.1-9.1 102СБ Закрома монолитные 1-3.6-3;1-3.6-4. Сборочный чертеж 3.400.1-9.1 103 Закрома монолитные 1-3.6-5;1-3.6-6 3.400.1-9.1 103СБ Закрома монолитные 1-3.6-5;1-3.6-6. Сборочный чертеж 3.400.1-9.1 104 Закрома монолитные 1-4.8-1 3.400.1-9.1 104СБ Закрома монолитные 1-4.8-1. Сборочный чертеж 3.400.1-9.1 105 Закрома монолитные 1-4.8-2 3.400.1-9.1 105СБ Закрома монолитные 1-4.8-2. Сборочный чертеж 3.400.1-9.1 106 Закрома монолитные 1-4.8-3 3.400.1-9.1 106СБ Закрома монолитные 1-4.8-3. Сборочный чертеж 3.400.1-9.1 107 Закрома монолитные 1-6.0-1 3.400.1-9.1 107СБ Закрома монолитные 1-6.0-1. Сборочный чертеж 3.400.1-9.1 108 Закрома монолитные 1-6.0-2 3.400.1-9.1 108СБ Закрома монолитные 1-6.0-2. Сборочный чертеж 3.400.1-9.1 109 Закрома монолитные 1-6.0-3 3.400.1-9.1 109СБ Закрома монолитные 1-6.0-3. Сборочный чертеж 3.400.1-9.1 110 Закрома монолитные 1-6.0-4 3.400.1-9.1 110СБ Закрома монолитные 1-6.0-4. Сборочный чертеж 3.400.1-9.1 111 Закрома монолитные 1-6.0-5 3.400.1-9.1 111СБ Закрома монолитные 1-6.0-5. Сборочный чертеж 3.400.1-9.1 201 Закрома монолитные 2-3.6-1 3.400.1-9.1 202 Закрома монолитные 2-3.6-2 3.400.1-9.1 201СБ Закрома монолитные 2-3.6-1. Сборочный чертеж 3.400.1-9.1 202СБ Закрома монолитные 2-3.6-2. Сборочный чертеж 3.400.1-9.1 203 Закрома монолитные 2-3.6-4 3.400.1-9.1 204 Закрома монолитные 2-3.6-7 3.400.1-9.1 203СБ Закрома монолитные 2-3.6-4. Сборочный чертеж 3.400.1-9.1 204СБ Закрома монолитные 2-3.6-7. Сборочный чертеж 3.400.1-9.1 205 Закрома монолитные 2-3.6-5 3.400.1-9.1 206 Закрома монолитные 2-3.6-6 3.400.1-9.1 205СБ Закрома монолитные 2-3.6-5. Сборочный чертеж 3.400.1-9.1 206СБ Закрома монолитные 2-3.6-6. Сборочный чертеж 3.400.1-9.1 207 Закрома монолитные 2-4.8-1 3.400.1-9.1 208 Закрома монолитные 2-4.8-2 3.400.1-9.1 207СБ Закрома монолитные 2-4.8-1. Сборочный чертеж 3.400.1-9.1 208СБ Закрома монолитные 2-4.8-2. Сборочный чертеж 3.400.1-9.1 209 Закрома монолитные 2-4.8-3 3.400.1-9.1 209СБ Закрома монолитные 2-4.8-3. Сборочный чертеж 3.400.1-9.1 210 Закрома монолитные 2-6.0-1 3.400.1-9.1 211 Закрома монолитные 2-6.0-2 3.400.1-9.1 210СБ Закрома монолитные 2-6.0-1. Сборочный чертеж 3.400.1-9.1 211СБ Закрома монолитные 2-6.0-2. Сборочный чертеж 3.400.1-9.1 212 Закрома монолитные 2-6.0-3 3.400.1-9.1 212СБ Закрома монолитные 2-6.0-3. Сборочный чертеж 3.400.1-9.1 213 Закрома монолитные 2-6.0-4 3.400.1-9.1 213СБ Закрома монолитные 2-6.0-4. Сборочный чертеж 3.400.1-9.1 214 Закрома монолитные 2-6.0-5 3.400.1-9.1 214СБ Закрома монолитные 2-6.0-5. Сборочный чертеж 3.400.1-9.1 401 Закрома монолитные 4-3.6-1 3.400.1-9.1 402 Закрома монолитные 4-3.6-2 3.400.1-9.1 401СБ Закрома монолитные 4-3.6-1. Сборочный чертеж 3.400.1-9.1 402СБ Закрома монолитные 4-3.6-2. Сборочный чертеж 3.400.1-9.1 403 Закрома монолитные 4-3.6-3 3.400.1-9.1 404 Закрома монолитные 4-3.6-4 3.400.1-9.1 403СБ Закрома монолитные 4-3.6-3. Сборочный чертеж 3.400.1-9.1 404СБ Закрома монолитные 4-3.6-4. Сборочный чертеж 3.400.1-9.1 405 Закрома монолитные 4-3.6-5 3.400.1-9.1 406 Закрома монолитные 4-3.6-6 3.400.1-9.1 405СБ Закрома монолитные 4-3.6-5. Сборочный чертеж 3.400.1-9.1 406СБ Закрома монолитные 4-3.6-6. Сборочный чертеж 3.400.1-9.1 407 Закрома монолитные 4-4.8-1 3.400.1-9.1 408 Закрома монолитные 4-4.8-2 3.400.1-9.1 407СБ Закрома монолитные 4-4.8-1. Сборочный чертеж 3.400.1-9.1 408СБ Закрома монолитные 4-4.8-2. Сборочный чертеж 3.400.1-9.1 409 Закрома монолитные 4-4.8-3 3.400.1-9.1 410 Закрома монолитные 4-6.0-1 3.400.1-9.1 409СБ Закрома монолитные 4-4.8-3. Сборочный чертеж 3.400.1-9.1 410СБ Закрома монолитные 4-6.0-1. Сборочный чертеж 3.400.1-9.1 411 Закрома монолитные 4-6.0-2 3.400.1-9.1 412 Закрома монолитные 4-6.0-3 3.400.1-9.1 411СБ Закрома монолитные 4-6.0-2. Сборочный чертеж 3.400.1-9.1 412СБ Закрома монолитные 4-6.0-3. Сборочный чертеж 3.400.1-9.1 413 Закрома монолитные 4-6.0-4 3.400.1-9.1 414 Закрома монолитные 4-6.0-5 3.400.1-9.1 413СБ Закрома монолитные 4-6.0-4. Сборочный чертеж 3.400.1-9.1 414СБ Закрома монолитные 4-6.0-5. Сборочный чертеж 3.400.1-9.1 500 Узлы 1…3 3.400.1-9.1 501 Вариант защиты закромов деревянными брусьями 3.400.1-9.1 502 Вариант защиты закромов автомобильными покрышками 3.400.1-9.1 000ВМС Выборка стали |
| Разработан: | Харьковский Промстройниипроект НИИЖБ Гипротракторосельхозмаш Минтракторосельхозмаша |
| Утверждён: | 17.09.1982 Госстрой СССР (Государственный комитет Совета Министров СССР по делам строительства) (USSR Gosstroy 72) |
| Издан: | ЦИТП Госстроя СССР (CITP, Gosstroy (USSR) 1983 г. ) |













































































