Скачать Серия 3.407.1-136 Выпуск 3. Опоры на базе стоек СВ95-2 и СВ110-3,5. Материалы для проектирования и рабочие чертежиДата актуализации: 01.01.2021
|
| Обозначение: | Серия 3.407.1-136 |
| Обозначение англ: | Series 3.407.1-136 |
| Статус: | не определен законодательством |
| Название рус.: | Выпуск 3. Опоры на базе стоек СВ95-2 и СВ110-3,5. Материалы для проектирования и рабочие чертежи |
| Дата добавления в базу: | 01.09.2013 |
| Дата актуализации: | 01.01.2021 |
| Дата введения: | 01.07.1989 |
| Дата окончания срока действия: | 30.06.2003 |
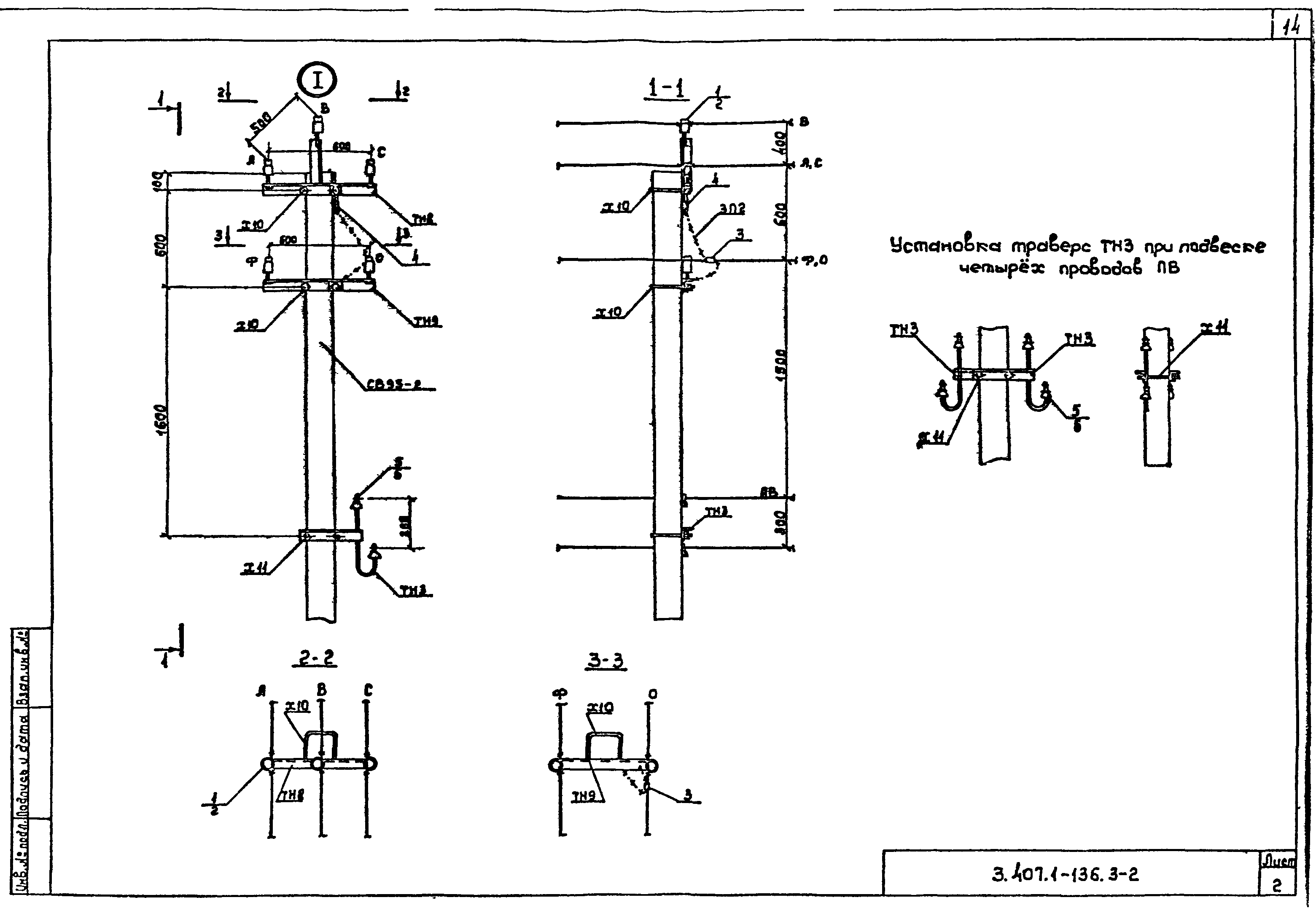
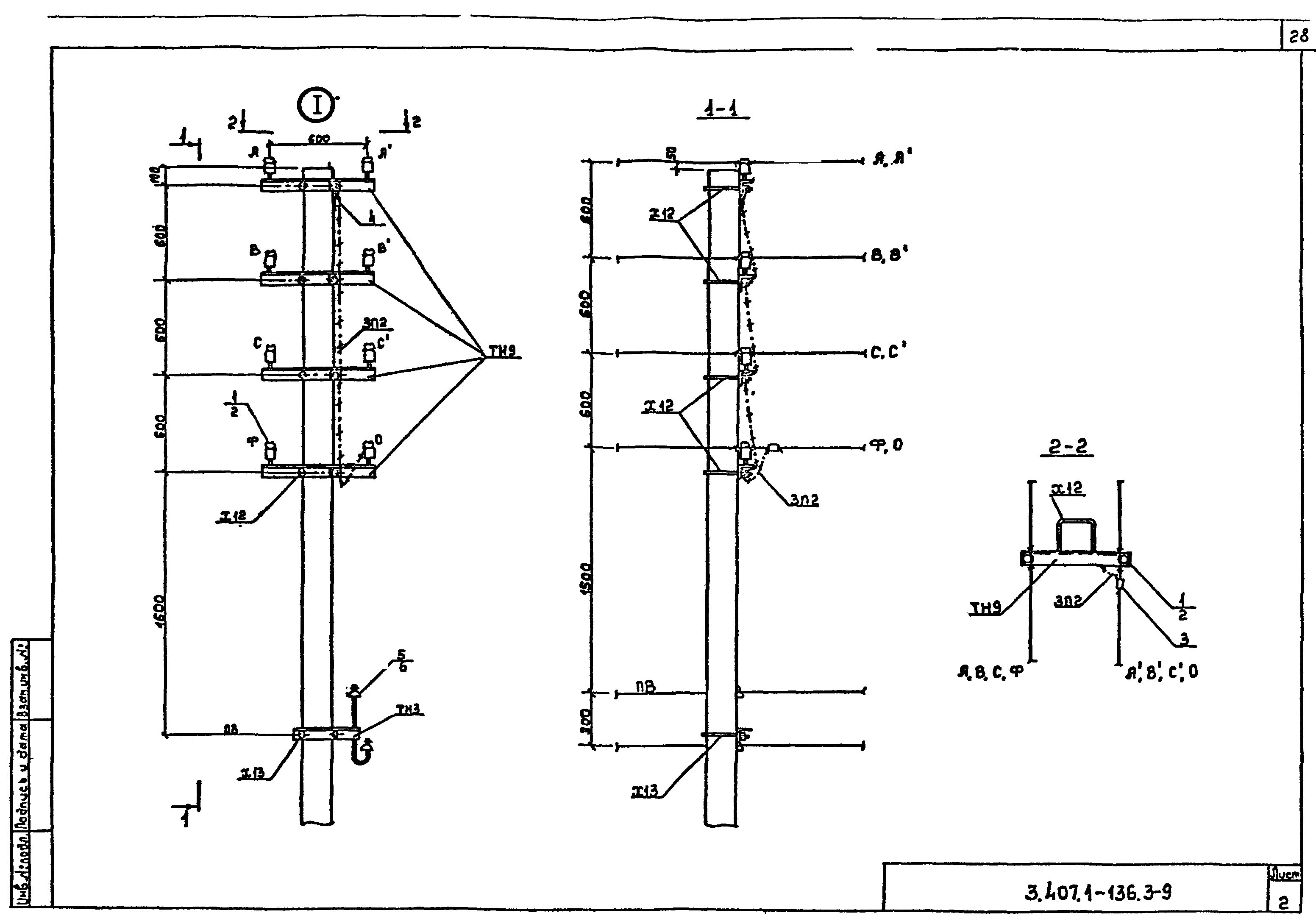
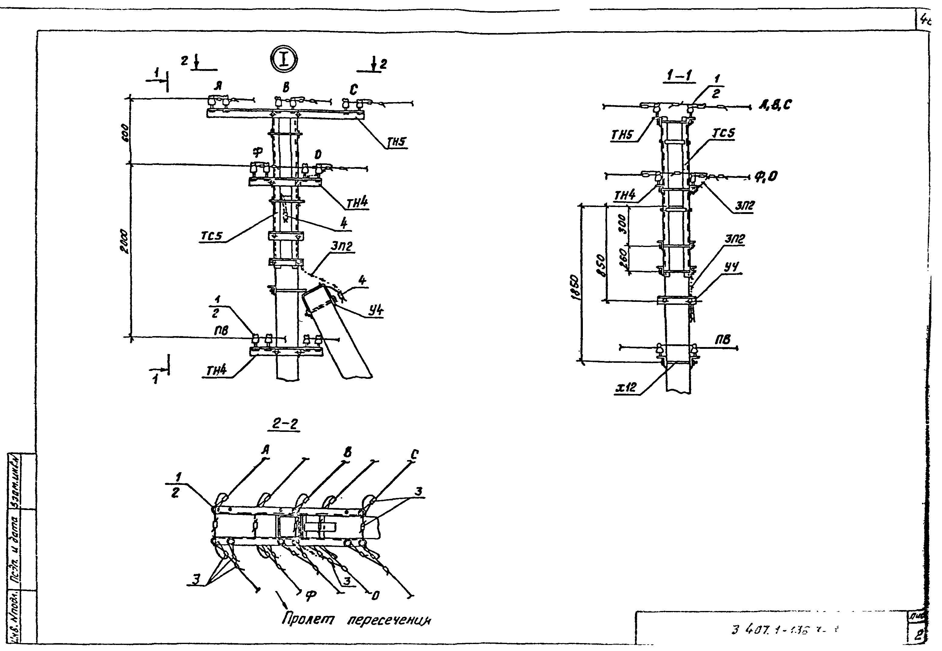
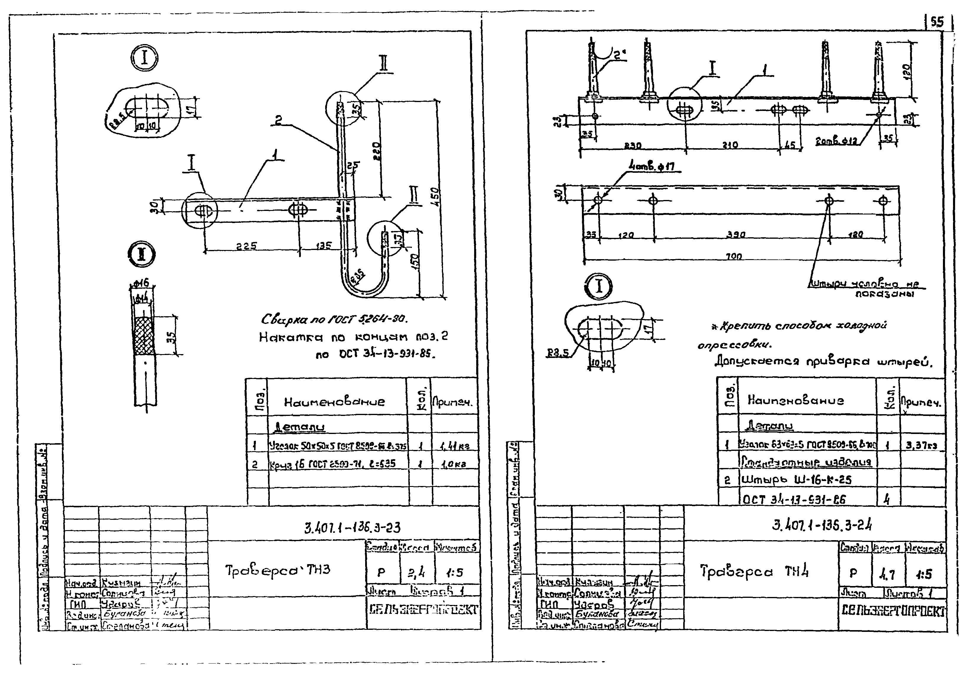
| Оглавление: | 3.401.1-136.3-ПЗ Пояснительная записка 3.401.1-136.3-1 Монтажные схемы опор 3.401.1-136.3-2 Промежуточная опора П3 3.401.1-136.3-3 Перекрестная промежуточная опора Пк3 3.401.1-136.3-4 Угловая промежуточная опора УП3 3.401.1-136.3-5 Концевая, анкерная опора К3 3.401.1-136.3-6 Угловая анкерная опора УА3 3.401.1-136.3-7 Анкерная ответвительная опора АО3 3.401.1-136.3-8 Ответвительная угловая опора ОУ3 3.401.1-136.3-9 Промежуточная опора П4 3.401.1-136.3-10 Угловая анкерная опора УА4 и угловая промежуточная опора УП4 3.401.1-136.3-11 Концевая опора К4 3.401.1-136.3-12 Концевая ответвительная опора КО4 3.401.1-136.3-13 Ответвительная анкерная опора ОА4 3.401.1-136.3-14 Переходная промежуточная опора ПП4 3.401.1-136.3-15 Переходная промежуточная опора ПП5 3.401.1-136.3-16 Переходная концевая (анкерная) опора ПК4 3.401.1-136.3-17 Переходная концевая опора ПК5 3.401.1-136.3-18 Переходная угловая анкерная опора ПУА4 3.401.1-136.3-19 Переходная угловая анкерная опора ПУА5 3.401.1-136.3-20 Переходная ответвительная анкерная опора ПОА4 3.401.1-136.3-21 Крепление железобетонных плит и ригелей на стойках опор 3.401.1-136.3-22 Крепление провода 3.401.1-136.3-23 Траверса ТН3 3.401.1-136.3-24 Траверса ТН4 3.401.1-136.3-25 Траверса ТН5 3.401.1-136.3-26 Траверса ТН7 3.401.1-136.3-27 Траверса ТН8 3.401.1-136.3-28 Траверса ТН9 3.401.1-136.3-29 Траверса ТН14 3.401.1-136.3-30 Траверса ТН15 3.401.1-136.3-31 Надставка ТС5 3.401.1-136.3-32 Кронштейн У3 3.401.1-136.3-33 Кронштейн У4 3.401.1-136.3-34 Кронштейн У1 3.401.1-136.3-35 Оголовок ОГ4 3.401.1-136.3-36 Проводник ЗП2 3.401.1-136.3-37 Хомуты Х10, Х11, Х12, Х13 3.401.1-136.3-38 Хомут Х6 3.401.1-136.3-39 Хомуты Х24, Х25 3.401.1-136.3-40 Стяжка Г1 3.401.1-136.3-41 Крепление плиты Г4 3.401.1-136.3-42 Ригель Г5 3.401.1-136.3-43 Ригель Г7 |
| Разработан: | Сельэнергопроект Минэнерго СССР |
| Утверждён: | 30.11.1988 Минэнерго СССР (USSR Minenergo 16-3/9) |



































































