Скачать Серия 1.219-2 Лотки железобетонные для подпольных каналов длиной 87, 147 и 297 см. Рабочие чертежиДата актуализации: 01.01.2021 Серия 1.219-2
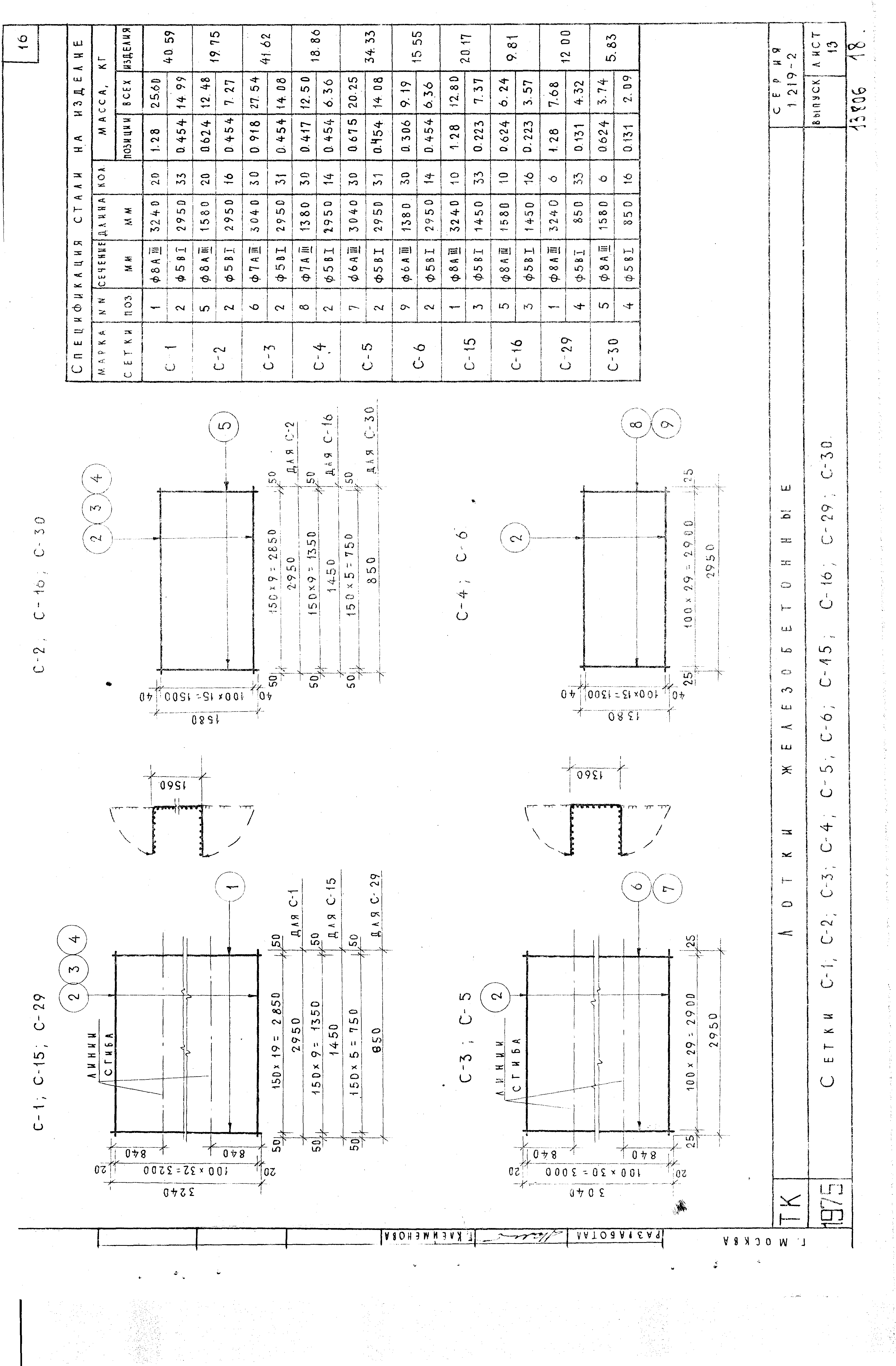
Лотки железобетонные для подпольных каналов длиной 87, 147 и 297 см. Рабочие чертежи| Обозначение: | Серия 1.219-2 | | Обозначение англ: | Series 1.219-2 | | Статус: | не действует | | Название рус.: | Лотки железобетонные для подпольных каналов длиной 87, 147 и 297 см. Рабочие чертежи | | Дата добавления в базу: | 01.09.2013 | | Дата актуализации: | 01.01.2021 | | Дата введения: | 01.03.1976 | | Дата окончания срока действия: | 01.09.1983 | | Разработан: | ЦНИИЭП учебных зданий Госгражданстроя
| | Утверждён: | 02.02.1976 Госгражданстрой (Gosgrazhdanstroy 40)
| | Чем заменён: | |
                        
|