Скачать Серия 3.501.1-165 Выпуск 2-2. Опоры и сходы мостов с железобетонными пролетными строениями. Металлические изделия. Рабочие чертежи

Дата актуализации: 01.01.2021

Серия 3.501.1-165

Выпуск 2-2. Опоры и сходы мостов с железобетонными пролетными строениями. Металлические изделия. Рабочие чертежи

Обозначение: Серия 3.501.1-165
Обозначение англ: Series 3.501.1-165
Статус:не определен законодательством
Название рус.:Выпуск 2-2. Опоры и сходы мостов с железобетонными пролетными строениями. Металлические изделия. Рабочие чертежи
Дата добавления в базу:01.09.2013
Дата актуализации:01.01.2021
Дата введения:01.05.1993
Дата окончания срока действия:30.06.2003
Оглавление:3.501.1-165.2-2-ТО Техническое описание
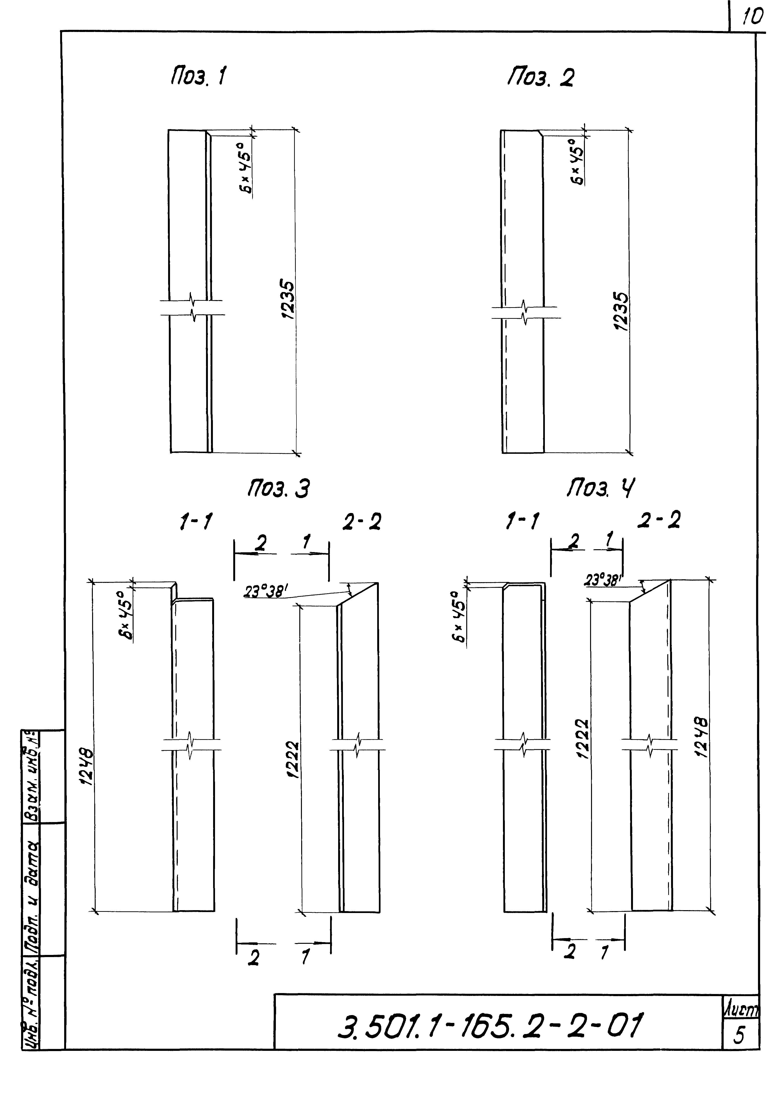
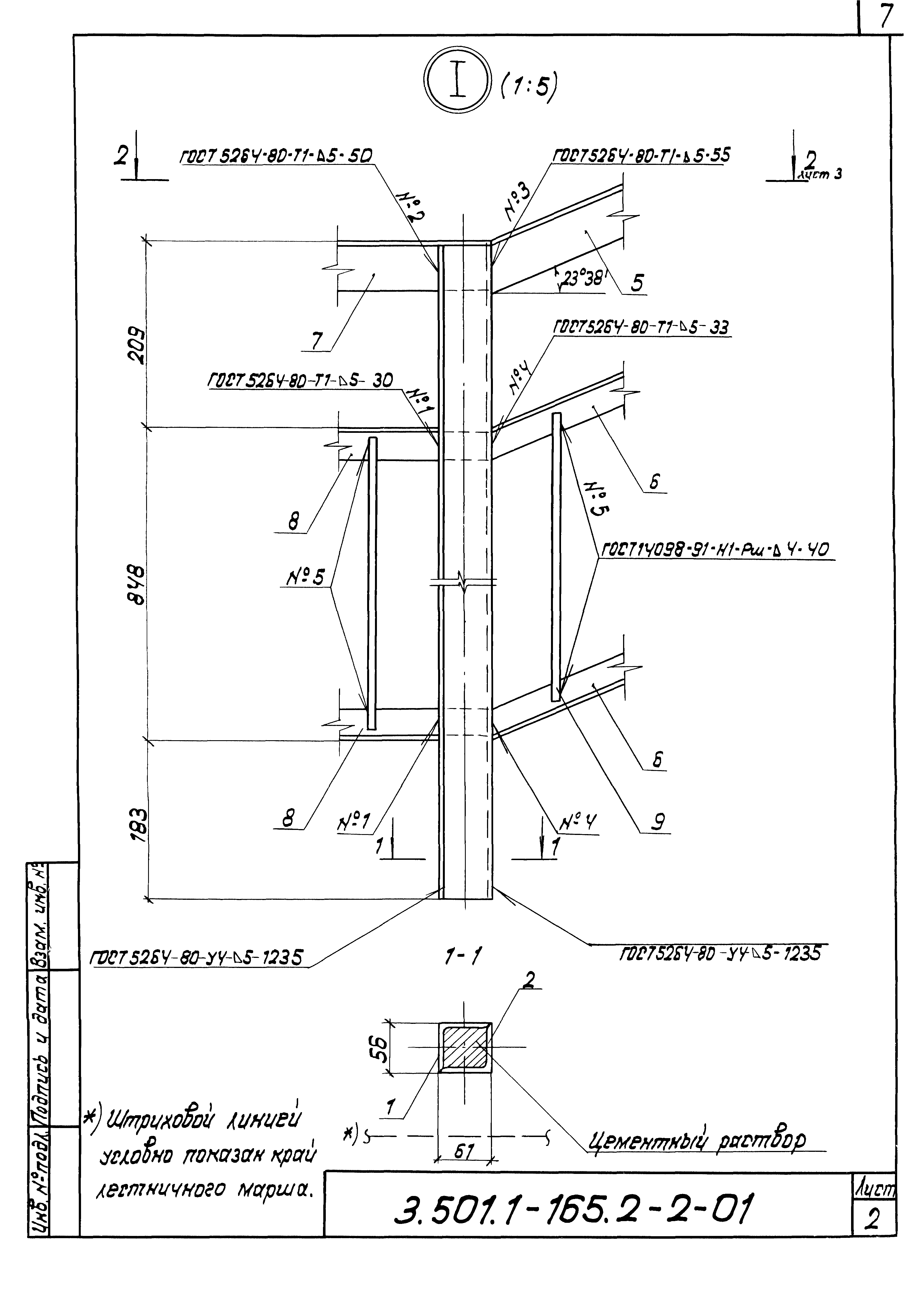
3.501.1-165.2-2-01 Ограждение перильное ПО (ПО1 и ПО2)
Разработан: Гипротрансмост
Утверждён:16.05.1988 МПС (Ministry of Railroads ЦУЭП-15/44/132)
Серия 3.501.1-165Серия 3.501.1-165Серия 3.501.1-165Серия 3.501.1-165Серия 3.501.1-165Серия 3.501.1-165Серия 3.501.1-165Серия 3.501.1-165Серия 3.501.1-165Серия 3.501.1-165Серия 3.501.1-165Серия 3.501.1-165Серия 3.501.1-165Серия 3.501.1-165Серия 3.501.1-165Серия 3.501.1-165