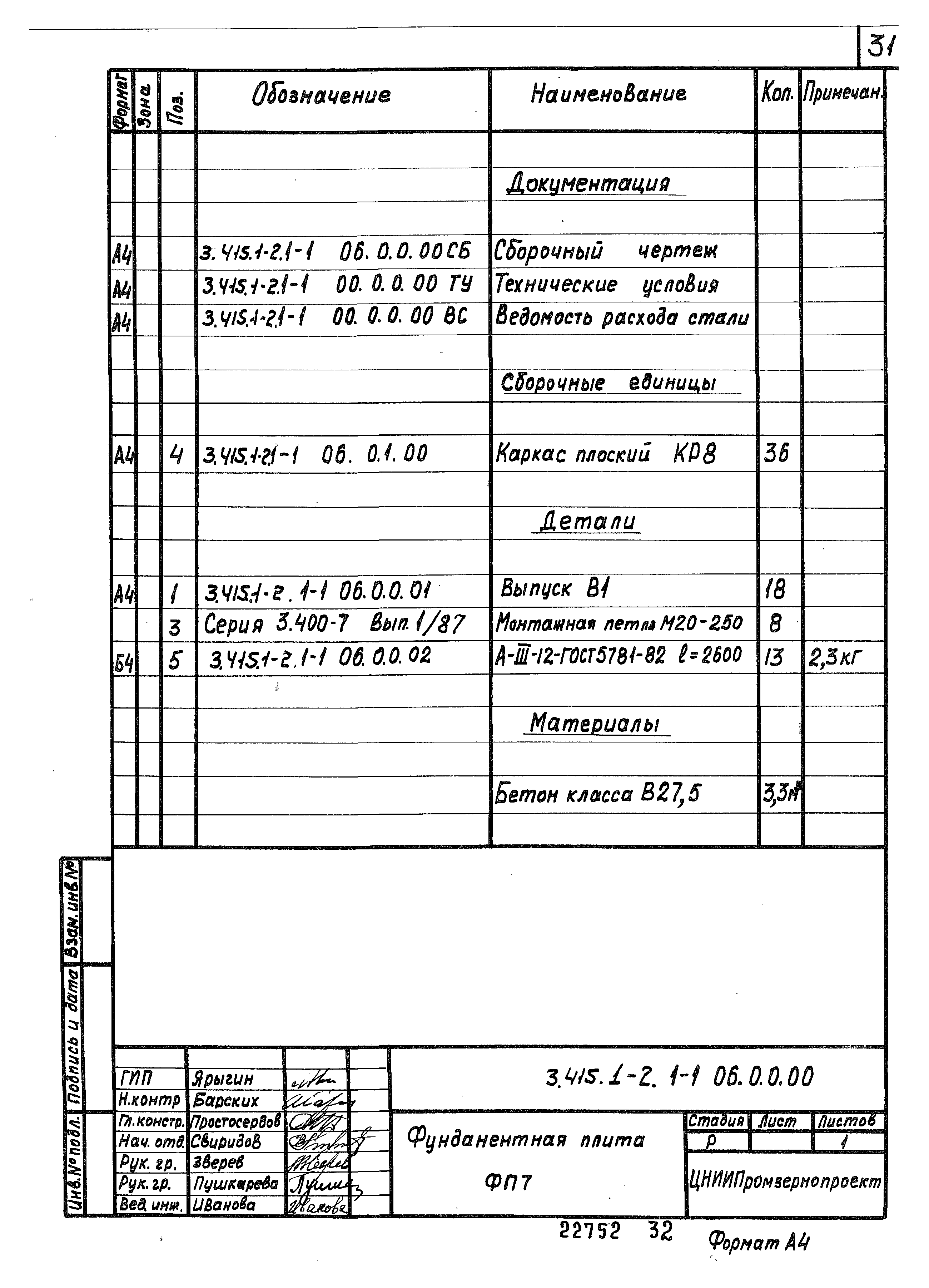
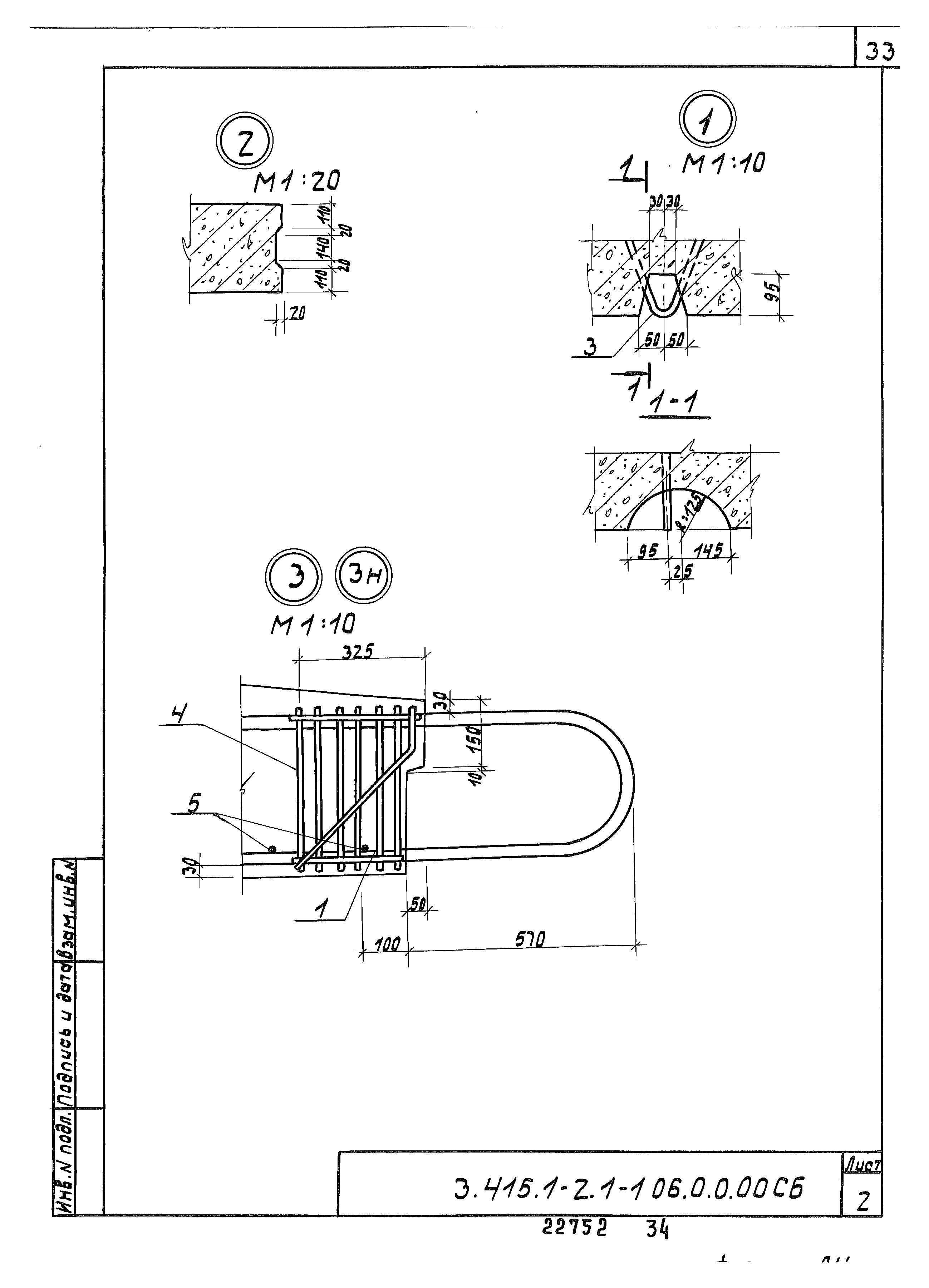
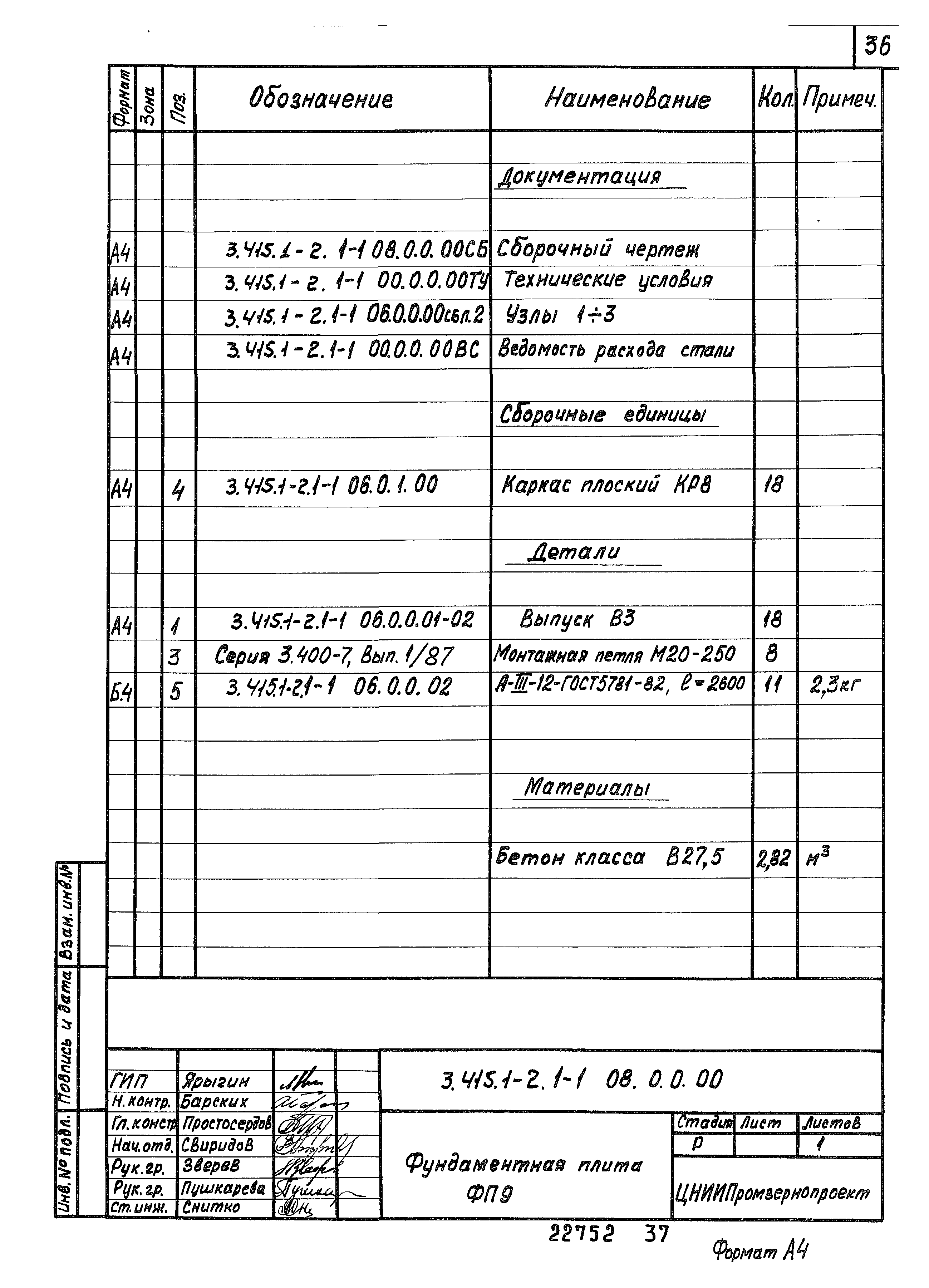
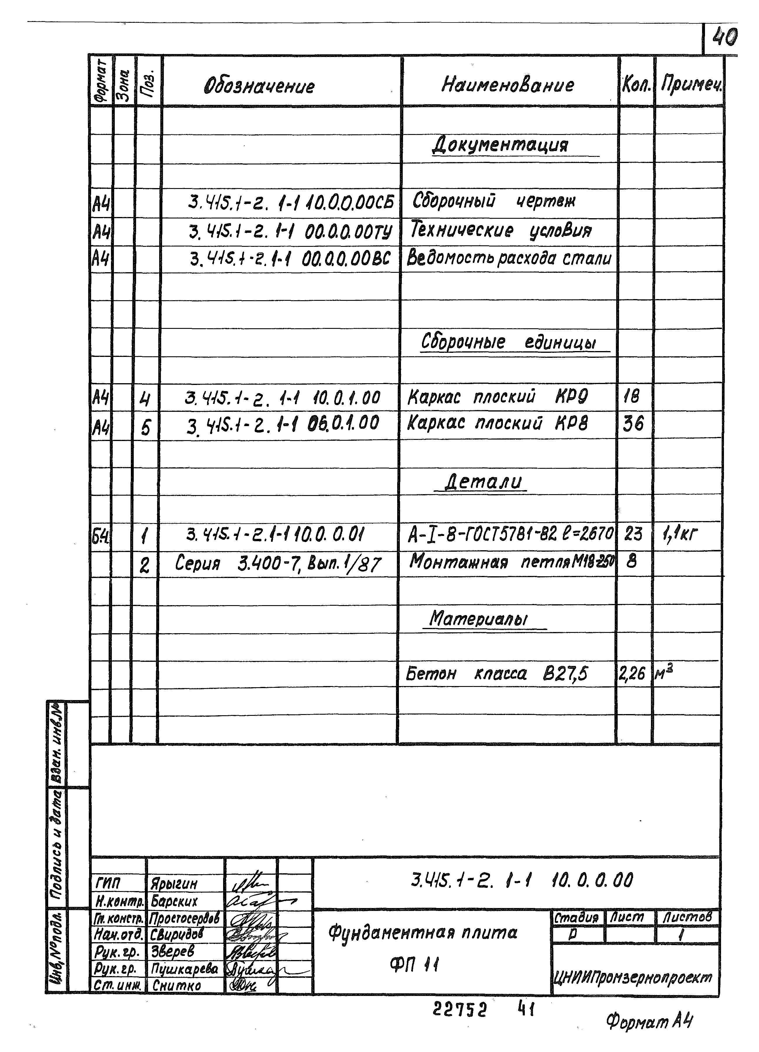
Скачать Серия 3.415.1-2 Выпуск 1-1. Фундаменты сборно-монолитные. Рабочие чертежиДата актуализации: 01.01.2021 Серия 3.415.1-2
Выпуск 1-1. Фундаменты сборно-монолитные. Рабочие чертежи| Обозначение: | Серия 3.415.1-2 | | Обозначение англ: | Series 3.415.1-2 | | Статус: | не определен законодательством | | Название рус.: | Выпуск 1-1. Фундаменты сборно-монолитные. Рабочие чертежи | | Дата добавления в базу: | 01.09.2013 | | Дата актуализации: | 01.01.2021 | | Дата введения: | 11.09.1987 | | Дата окончания срока действия: | 30.06.2003 | | Разработан: | ЦНИИпромзернопроект
| | Утверждён: | 11.09.1987 Минхлебопродуктов СССР (USSR Minkhleboproduktov 13)
|
                                                               
|