Скачать Серия 5.407-151 Выпуск 0. Материалы для проектированияДата актуализации: 01.01.2021
|
| Обозначение: | Серия 5.407-151 |
| Обозначение англ: | Series 5.407-151 |
| Статус: | не определен законодательством |
| Название рус.: | Выпуск 0. Материалы для проектирования |
| Дата добавления в базу: | 01.09.2013 |
| Дата актуализации: | 01.01.2021 |
| Дата введения: | 01.01.1992 |
| Дата окончания срока действия: | 30.06.2003 |
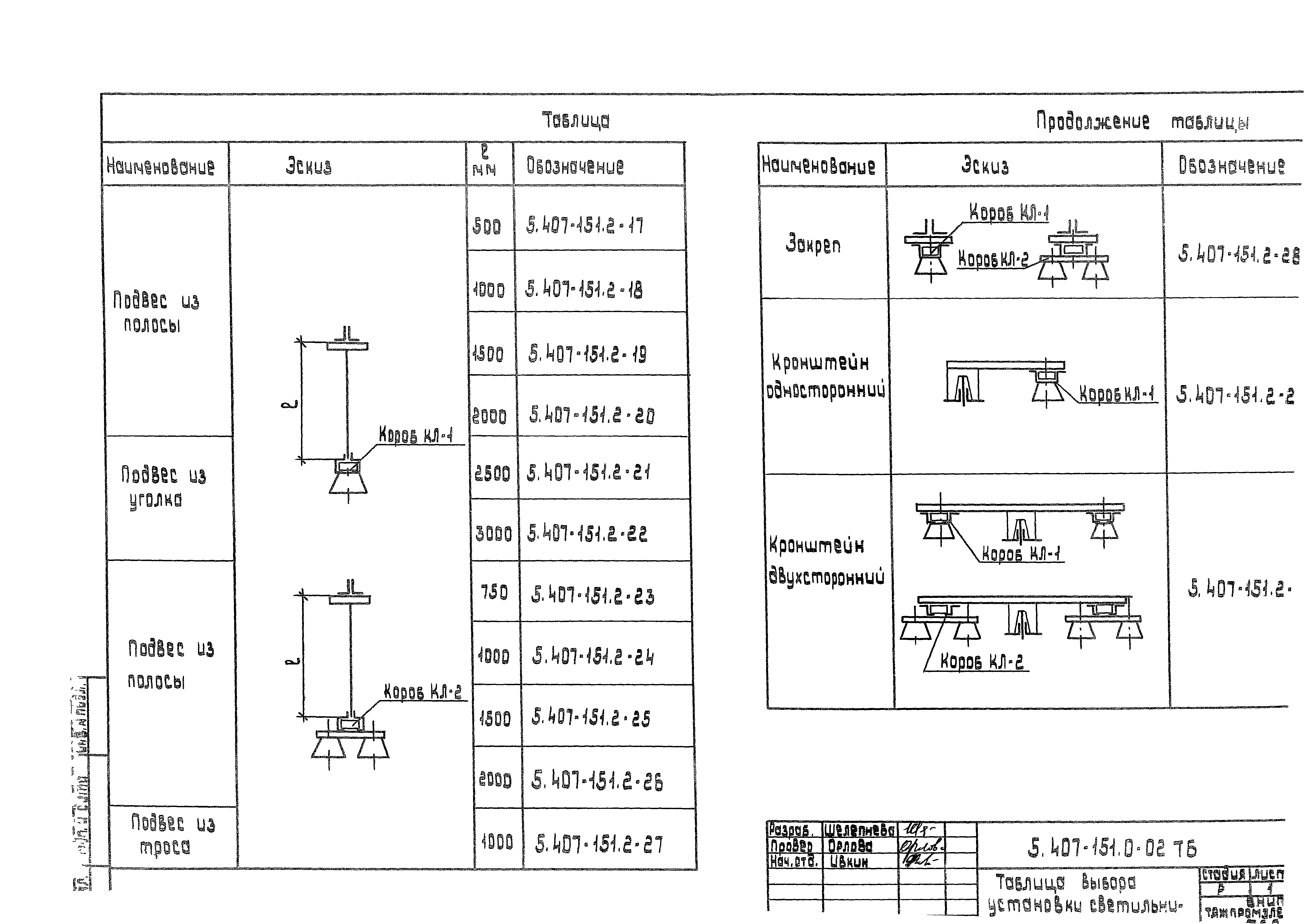
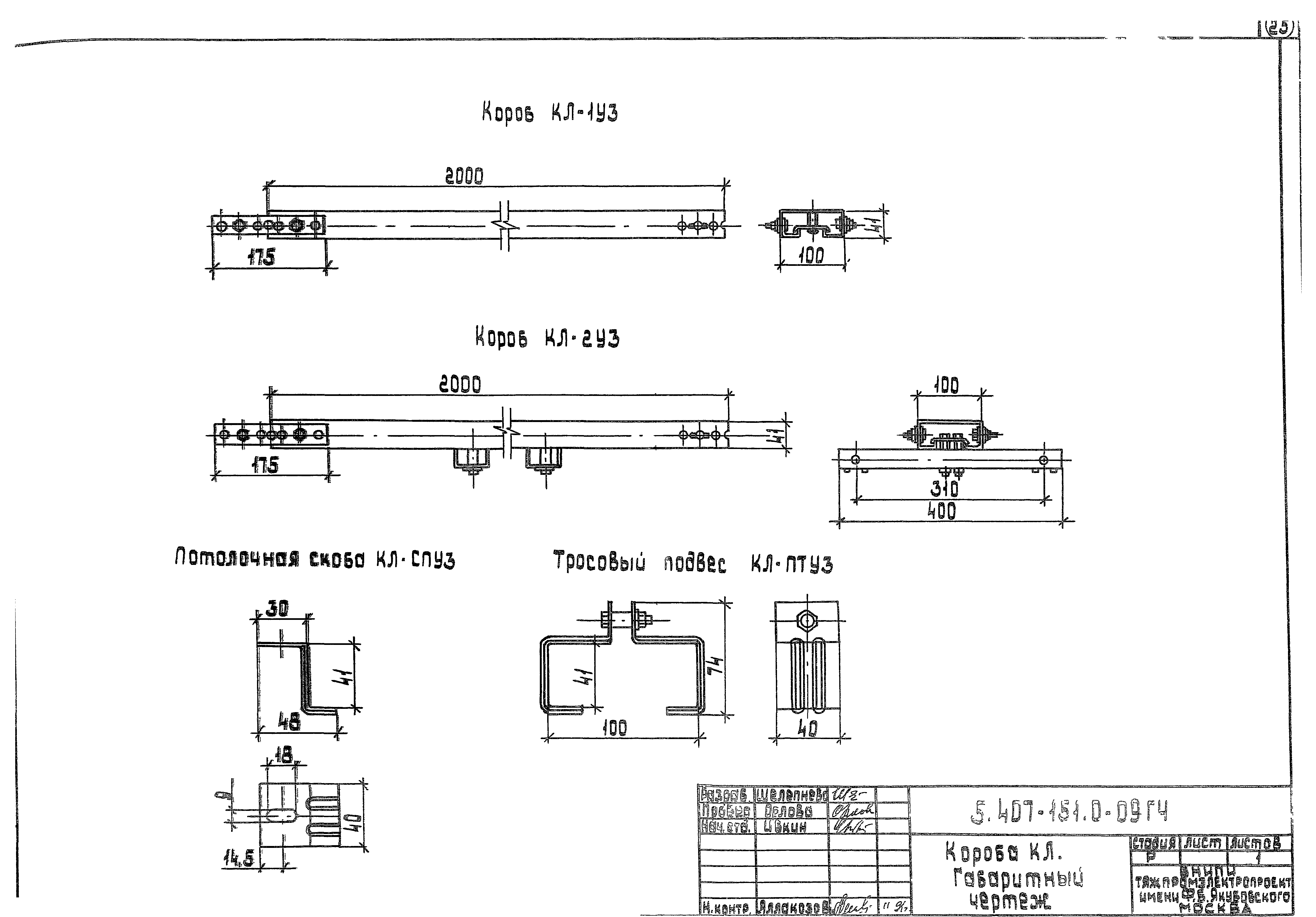
| Оглавление: | 5.407-151.0-ПЗ Пояснительная записка 5.407-151.0-01 ТБ Таблица выбора установки светильников на железобетонных фермах 5.407-151.0-02 ТБ Таблица выбора установки светильников на металлических фермах 5.407-151.0-03 ТБ Таблица выбора установки светильников на фермах из круглых труб 5.407-151.0-04 ТБ Таблица выбора установки светильников поперек ферм 5.407-151.0-05 ВМ Ведомость изделий и материалов для установки светильников на железобетонных фермах 5.407-151.0-06 ВМ Ведомость изделий и материалов для установки светильников на металлических фермах 5.407-151.0-07 ВМ Ведомость изделий и материалов для установки светильников на фермах из круглых труб 5.407-151.0-08 ВМ Ведомость изделий и материалов для установки светильников поперек ферм 5.407-151.0-09 ГЧ Короба КЛ. Габаритный чертеж |
| Разработан: | ВНИПИ Тяжпромэлектропроект им. Ф.Б. Якубовского |
| Утверждён: | 22.03.1991 ВНИПИ Тяжпромэлектропроект им. Ф.Б. Якубовского (F.B.Yakubovskiy Tyazhpromelektroproject VNIPI ) |
| Издан: | АПП ЦИТП (1992 г. ) |
























