Скачать Серия 5.907-2 Выпуск 0. Рекомендации по выбору, монтажу и эксплуатацииДата актуализации: 01.01.2021
|
| Обозначение: | Серия 5.907-2 |
| Обозначение англ: | Series 5.907-2 |
| Статус: | не определен законодательством |
| Название рус.: | Выпуск 0. Рекомендации по выбору, монтажу и эксплуатации |
| Дата добавления в базу: | 01.09.2013 |
| Дата актуализации: | 01.01.2021 |
| Дата введения: | 01.11.1986 |
| Дата окончания срока действия: | 30.06.2003 |
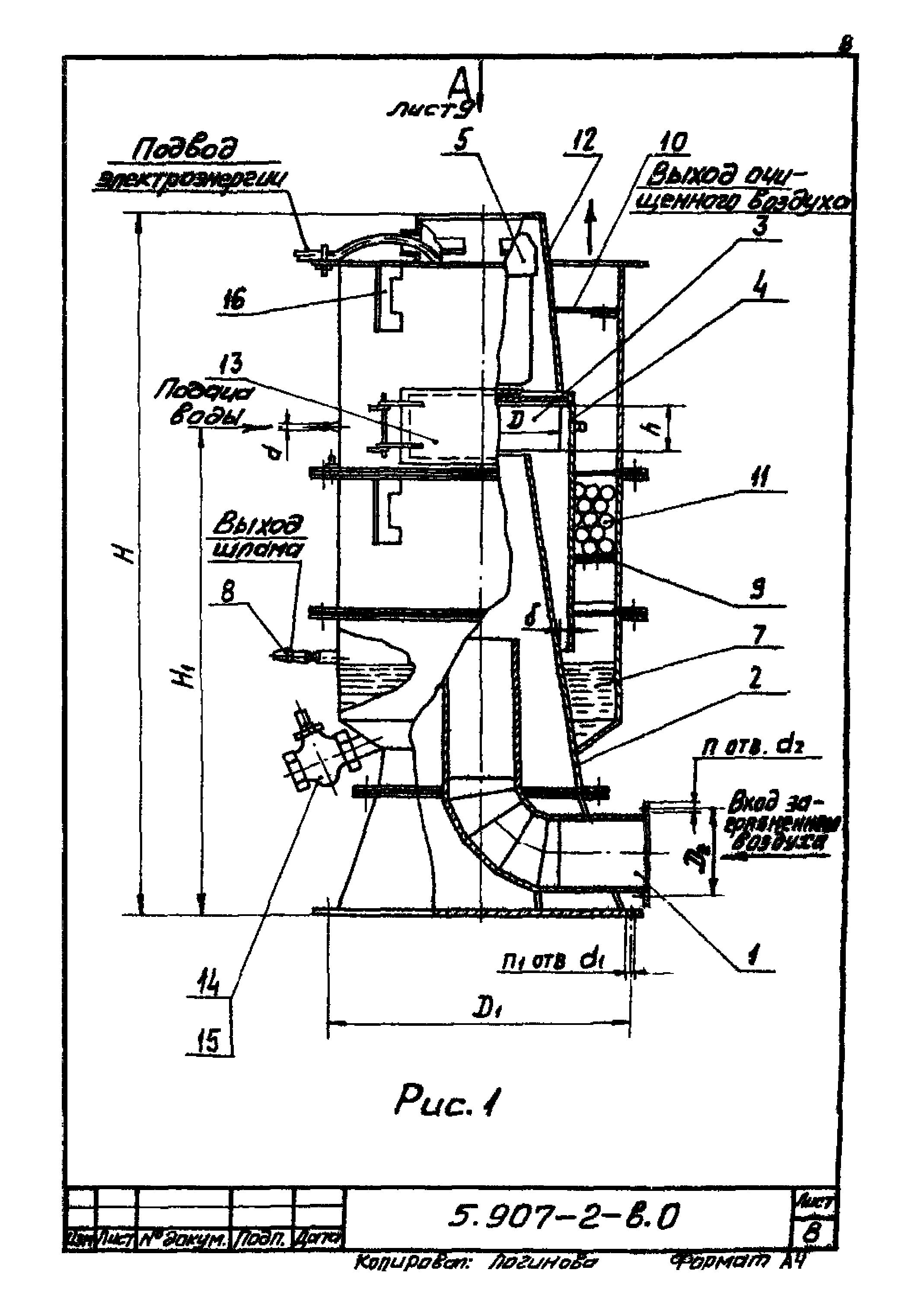
| Оглавление: | 1. Введение 2. Назначение и область применения 3. Описание конструкции и принцип действия 4. Технические данные 5. Рекомендации по монтажу и эксплуатации 6. Требования безопасности |
| Разработан: | ГПИ Сантехпроект Госстроя СССР |
| Утверждён: | 30.06.1986 Главстройпроект Госстроя СССР (40) |




















