Скачать Серия 5.903-15 Выпуск 6-0. Блоки насосов рабочей воды и теплообменников. Указания по применению и изготовлениюДата актуализации: 01.01.2021
|
| Обозначение: | Серия 5.903-15 |
| Обозначение англ: | Series 5.903-15 |
| Статус: | не определен законодательством |
| Название рус.: | Выпуск 6-0. Блоки насосов рабочей воды и теплообменников. Указания по применению и изготовлению |
| Дата добавления в базу: | 01.10.2014 |
| Дата актуализации: | 01.01.2021 |
| Дата введения: | 14.02.1990 |
| Дата окончания срока действия: | 30.06.2003 |
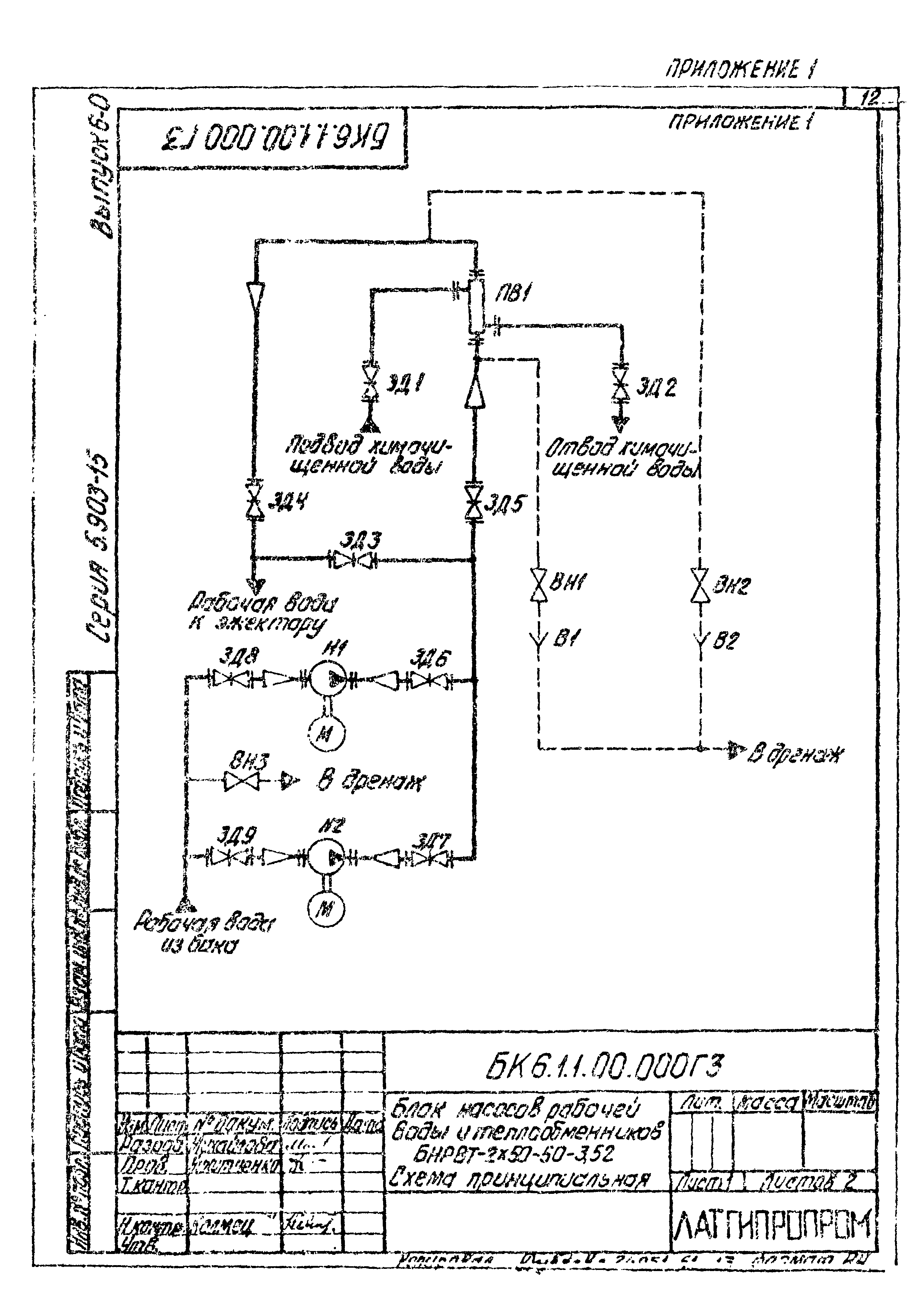
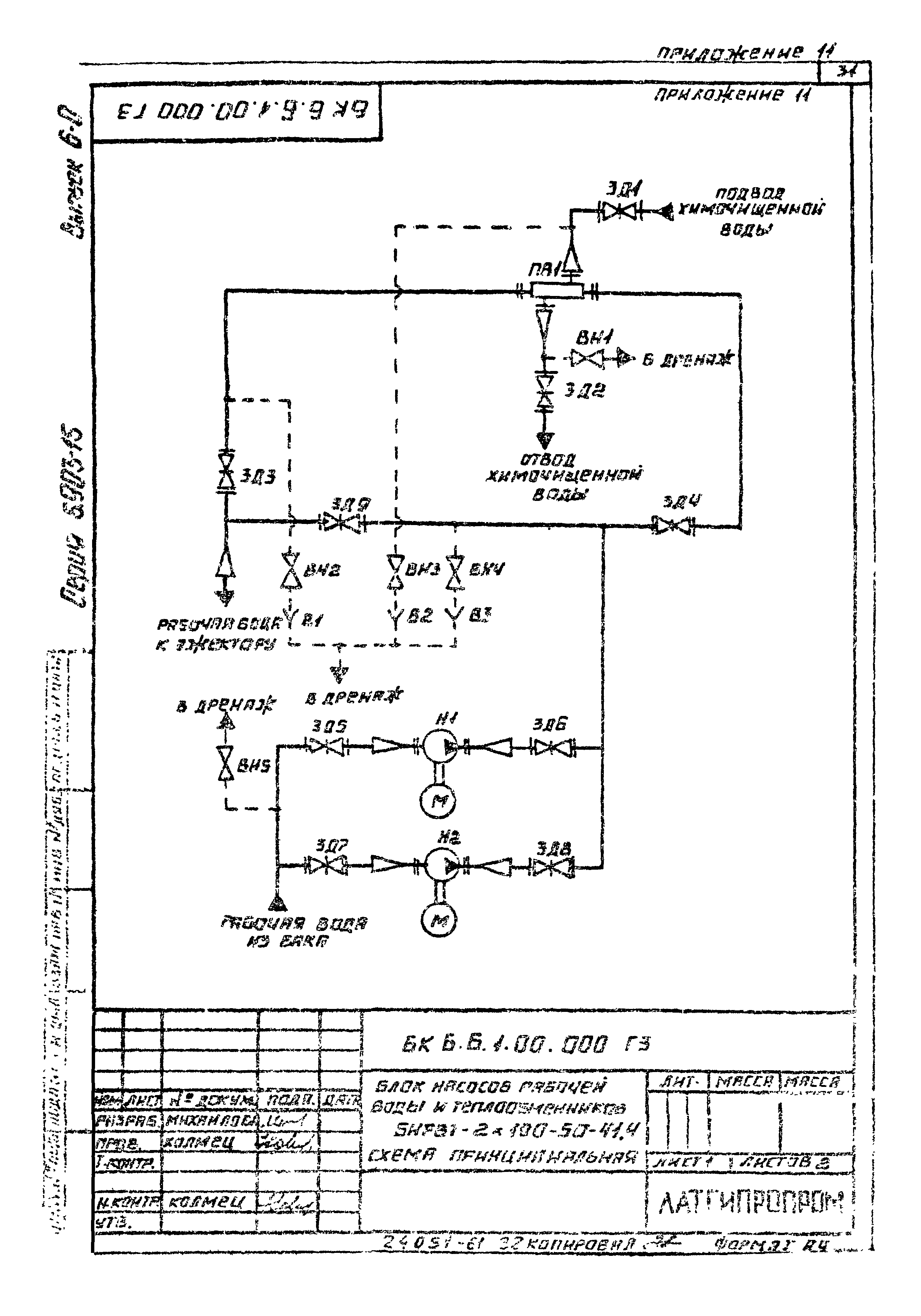
| Оглавление: | Опись альбома Указания по применению и изготовлению 1. Общая часть 2. Назначение и описание конструкции 3. Рекомендации для подбора 4. Требования к транспортировке 5. Требования к оборудованию и материалам 6. Требования к сборке блока Приложение 1. Блок БНРВТ-2х50-50-3,52. Схема принципиальная Приложение 2. Блок БНРВТ-2х50-50-3,52. Габаритный чертеж Приложение 3. Блок БНРВТ-2х50-50-10,2. Схема принципиальная Приложение 4. Блок БНРВТ-2х50-50-10,2. Габаритный чертеж Приложение 5. Блок БНРВТ-2х50-50-17,67. Схема принципиальная Приложение 6. Блок БНРВТ-2х50-50-17,67. Габаритный чертеж Приложение 7. Блок БНРВТ-2х320-50-41,4. Схема принципиальная Приложение 8. Блок БНРВТ-2х320-50-41,4. Габаритный чертеж Приложение 9. Блок БНРВТ-3х320-50-41,4. Схема принципиальная Приложение 10. Блок БНРВТ-3х320-50-41,4. Габаритный чертеж Приложение 11. Блок БНРВТ-2х100-50-41,4. Схема принципиальная Приложение 12. Блок БНРВТ-2х100-50-41,4. Габаритный чертеж Лист регистрации изменений |
| Разработан: | Латгипропром |
| Утверждён: | 14.02.1990 ММСС СССР |
| Издан: | ЦИТП Госстроя СССР (CITP, Gosstroy (USSR) 1990 г. ) |



































